TOP
|
特許
|
意匠
|
商標
特許ウォッチ
Twitter
他の特許を見る
10個以上の画像は省略されています。
公開番号
2025165884
公報種別
公開特許公報(A)
公開日
2025-11-05
出願番号
2025064368
出願日
2025-04-09
発明の名称
閉じた端部形状を有する一体型複合材構造のトウレイアップ設計を解析するための方法
出願人
ザ・ボーイング・カンパニー
,
The Boeing Company
代理人
園田・小林弁理士法人
主分類
G06F
30/20 20200101AFI20251028BHJP(計算;計数)
要約
【課題】閉じた端部形状を有する一体型複合材構造のトウレイアップ設計を解析するための方法を提供する。
【解決手段】方法は、設計データファイルリポジトリから、通信ネットワークとネットワークインターフェースを介して、コンピューティングデバイスに、閉じた端部形状を有する一体型複合材構造のトウレイアップ設計のための設計データファイルを受信すること102、一体型複合材構造の3次元モデルを構築するために、コンピューティングデバイスで、設計データファイルを処理すること104、トウレイアップ設計の弾性率特性を評価するために、少なくとも1つのコンピューティングデバイスで、3次元モデルを解析すること106及び3次元モデルの解析に基づいて、コンピューティングデバイスで、一体型複合材構造のトウレイアップ設計の弾性率特性を反映した弾性率結果データを生成すること108を含む。
【選択図】図1
特許請求の範囲
【請求項1】
閉じた端部形状(302)を有する一体型複合材構造(300)のトウレイアップ設計(200)を解析するための方法(100)であって、
設計データファイルリポジトリ(404)から、通信ネットワーク(406)とネットワークインターフェース(408)を介して、少なくとも1つのコンピューティングデバイス(410)に、前記閉じた端部形状(302)を有する前記一体型複合材構造(300)の前記トウレイアップ設計(200)のための設計データファイル(402)を受信すること(102)、
前記一体型複合材構造(300)の3次元モデル(414、3200、300、3400)を構築するために、前記少なくとも1つのコンピューティングデバイス(410)で、前記設計データファイル(402)を処理すること(104)、
前記トウレイアップ設計(200)の弾性率特性(418)を評価するために、前記少なくとも1つのコンピューティングデバイス(410)で、前記3次元モデル(414、3200、3300、3400)を解析すること(106)、及び
前記3次元モデル(414、3200、3300、3400)の前記解析(106)に基づいて、前記少なくとも1つのコンピューティングデバイス(410)で、前記一体型複合材構造(300)の前記トウレイアップ設計(200)の前記弾性率特性(418)を反映した弾性率結果データ(420)を生成すること(108)を含む、方法。
続きを表示(約 2,100 文字)
【請求項2】
前記設計データファイル(402)に基づいて、前記弾性率結果データ(420)についての良好さの第1の尺度を決定すること(2302)、
第2の設計データファイルに基づいて、第2の弾性率結果データを生成するために、前記一体型複合材構造(300)の第2のトウレイアップ設計と前記第2の設計データファイルとについて、前記受信すること(102)、前記処理すること(104)、前記解析すること(106)、及び前記生成すること(108)を繰り返すこと(2304)、
前記第2の設計データファイルに基づいて、前記第2の弾性率結果データについての良好さの第2の尺度を決定すること(2306)、
前記良好さの第2の尺度を前記良好さの第1の尺度と比較すること(2308)、及び
前記比較すること(2308)に基づいて、前記トウレイアップ設計(200)と前記第2のトウレイアップ設計とから、前記一体型複合材構造(300)の最適化されたトウレイアップ設計を選択すること(2310)を更に含む、請求項1に記載の方法。
【請求項3】
前記良好さの第1の尺度と前記良好さの第2の尺度は、前記3次元モデル(414、3200、3300、3400)又はその一部分にわたる等方性の尺度、前記3次元モデル(414、3200、3300、3400)又はその一部分にわたる積層特性のばらつきの尺度、及び前記3次元モデル(414、3200、3300、3400)又はその一部分にわたる選択特性の弾性率の尺度、のうちの少なくとも1つを含む、請求項2に記載の方法。
【請求項4】
前記一体型複合材構造(300)は、
細長い中空体(304)、
前記閉じた端部形状(302)、及び
前記細長い中空体(304)と前記閉じた端部形状(302)と間の移行領域(306)を含む、請求項1に記載の方法。
【請求項5】
前記トウレイアップ設計(200)は、
前記細長い中空体(304)のトウレイアップ用の細長体プライの複数のセットを規定する前記設計データファイル(402)内の第1の設計データセクション(204)を含む細長体レイアップ設計(202)、
前記閉じた端部形状(302)のトウレイアップ用の端部プライの2つ以上のセットを規定する前記設計データファイル(402)内の第2の設計データセクション(208)を含む閉じた端部レイアップ設計(206)、及び
前記細長体プライと前記端部プライの一体化を規定する前記設計データファイル(402)内の第3の設計データセクション(212)を含む移行レイアップ設計(210)を含む、請求項4に記載の方法。
【請求項6】
前記閉じた端部形状(302)は、ドーム、半球ドーム、楕円ドーム、半楕円ヘッド、トリ球ヘッド、及びディッシュヘッド、のうちの少なくとも1つを含む、請求項1に記載の方法。
【請求項7】
前記細長い中空体(304)は、円筒、パイプ、チューブ、円筒体、楕円体、及び曲線を有する体、のうちの少なくとも1つを含む、請求項1に記載の方法。
【請求項8】
前記一体型複合材構造(300)は、細長い中空体(304)、前記閉じた端部形状(302)、及び前記細長い中空体(304)と前記閉じた端部形状(302)との間の移行領域(306)を含み、前記細長い中空体(304)は、x軸(308)に沿って長手方向に延在し、円周が、y方向(310)を規定し、前記設計データファイル(402)は、
前記細長い中空体(304)のトウレイアップ用の細長体プライの複数のセットを規定する第1の設計データセクション(204)、
前記閉じた端部形状(302)のトウレイアップ用の端部プライの2つ以上のセットを規定する第2の設計データセクション(208)、及び
前記移行領域(306)における前記細長体プライと前記端部プライとの一体化を規定する第3の設計データセクション(212)を含む、請求項1に記載の方法。
【請求項9】
前記第1の設計データセクション(204)は、
前記細長体プライのトウレイアップに使用されるマンドレル(314)の細長体表面(312)のための幾何学的寸法(502)のセットであって、前記細長体表面(312)は、前記一体型複合材構造(300)の前記細長い中空体(304)に関連付けられている、幾何学的寸法(502)のセット、
前記細長体プライのゼロ度繊維角度(316)を規定するための、前記細長体表面(312)上の細長体極の基準軸(504)の位置、及び
前記細長体極の基準軸(504)に関連する細長体プライの各セットの細長体繊維角度(506)を含む、請求項8に記載の方法。
【請求項10】
前記細長体プライの各セットの細長体繊維角度(506)は、0度、45度、-45度における細長体プライの相対的な分布に基づく、請求項9に記載の方法。
(【請求項11】以降は省略されています)
発明の詳細な説明
【技術分野】
【0001】
[0001] 本開示は、広くは、トウレイアップ設計を解析するための技法に関し、特に、閉じた端部形状を有する一体型複合材構造の設計を解析するための技法に関する。様々な技法は、トウレイアップ設計に基づく一体型複合材構造の3次元モデルの解析を含む。一体型複合材構造はまた、細長い中空体も含み得る。例えば、閉じた端部形状は、ドームを含み得る。閉じた端部の他の形状も、考えられる。細長い中空体は、円筒を含み得る。細長い中空体の他の形状も、考えられる。細長い中空体と閉じた端部形状は、移行領域で接合されている。
続きを表示(約 4,600 文字)
【背景技術】
【0002】
[0002] 円筒と一体化したドームとを含む複合材構造の現在の設計は、順次終端するスカーフを使用する。このスカーフは、ドーム繊維の配置を制限する。これにより、弾性率のばらつきが大きく、「ソフトスポット」(すなわち、低弾性率(low Ex))がもたらされる。
【0003】
[0003] したがって、当業者は、ドームを有する一体型複合材構造の設計を解析するための技法を改善する研究開発の努力を継続している。
【発明の概要】
【0004】
[0004] 閉じた端部形状を有する一体型複合材構造のトウレイアップ設計を解析するための方法の複数の実施例が開示される。以下の記載は、本開示による発明の主題の非包括的なリストであり、特許請求されることもされないこともある。
【0005】
[0005] 一実施例では、閉じた端部形状を有する一体型複合材構造のトウレイアップ設計を解析するための開示される方法が、(1)設計データファイルリポジトリから、通信ネットワークとネットワークインターフェースを介して、少なくとも1つのコンピューティングデバイスに、閉じた端部形状を有する一体型複合材構造のトウレイアップ設計のための設計データファイルを受信すること、(2)一体型複合材構造の3次元モデルを構築するために、少なくとも1つのコンピューティングデバイスで、設計データファイルを処理すること、(3)トウレイアップ設計の弾性率特性(modulus characteristics)を評価するために、少なくとも1つのコンピューティングデバイスで、3次元モデルを解析すること、及び(4)3次元モデルの解析に基づいて、少なくとも1つのコンピューティングデバイスで、一体型複合材構造のトウレイアップ設計の弾性率特性を反映した弾性率結果データを生成することを含む。
【0006】
[0006] 別の一実施例では、閉じた端部形状を有する一体型複合材構造のトウレイアップ設計を解析するための別の開示される方法が、(1)設計データファイルリポジトリから、閉じた端部形状を有する一体型複合材構造のトウレイアップ設計のための設計データファイルを選択すること、(2)一体型複合材構造の3次元モデルを構築すること、(3)トウレイアップ設計の弾性率特性を評価するために、少なくとも1つのコンピューティングデバイスで、3次元モデルを解析すること、及び(4)3次元モデルの解析に基づいて、少なくとも1つのコンピューティングデバイスで、一体型複合材構造のトウレイアップ設計の弾性率特性を反映した弾性率結果データを生成することを含む。
【0007】
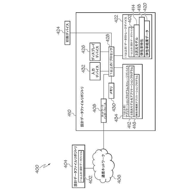
[0007] 更に別の一実施例では、閉じた端部形状を有する一体型複合材構造のトウレイアップ設計を解析するための更に別の開示される方法が、(1)設計データファイルリポジトリから、閉じた端部形状を有する一体型複合材構造のトウレイアップ設計のための設計データファイルを選択すること、(2)一体型複合材構造の3次元モデルを構築するために、少なくとも1つのコンピューティングデバイスで、設計データファイルを処理すること、(3)トウレイアップ設計の弾性率特性を評価するために、少なくとも1つのコンピューティングデバイスで、3次元モデルを解析すること、(4)3次元モデルの解析に基づいて、少なくとも1つのコンピューティングデバイスで、一体型複合材構造のトウレイアップ設計の弾性率特性を反映した弾性率結果データを生成すること、及び(5)(i)弾性率結果データを、少なくとも1つのコンピューティングデバイスがアクセス可能なデータストレージデバイスに記憶すること、(ii)弾性率結果データを、少なくとも1つのコンピューティングデバイスがアクセス可能な印刷デバイスで印刷すること、(iii)弾性率結果データを、少なくとも1つのコンピューティングデバイスがアクセス可能なディスプレイデバイスで表示すること、及び(iv)弾性率結果データが利用可能であることの通知と、弾性率結果データにアクセスするための指示と、を提供するメッセージを、少なくとも1つのコンピューティングデバイスに関連付けられたオペレータに送信すること、のうちの少なくとも1つを実行することを含む。
【0008】
[0008] 閉じた端部形状を有する一体型複合材のトウレイアップ設計を解析するための開示される方法の他の複数の実施例は、以下の詳細な説明、添付の図面、及び付随する特許請求の範囲から明らかになるであろう。
【図面の簡単な説明】
【0009】
[0009] 閉じた端部形状を有する一体型複合材構造のトウレイアップ設計を解析するための方法の一実施例のフロー図である。
[0010] トウレイアップ設計の一実施例の機能ブロック図である。
[0011] 一体型複合材構造の一実施例の斜視図である。
[0012] 閉じた端部形状を有する一体型複合材構造のトウレイアップ設計を解析するためのシステムの一実施例の機能ブロック図である。
[0013] 一体型複合材構造の設計データファイルの一実施例の機能ブロック図である。
[0014] 図1の方法における設計データファイルの処理の一実施例のフロー図である。
[0015] 閉じた端部形状を有する一体型複合材構造の3次元モデルの一実施例の側面図である。
[0016] 図1の方法における3次元モデルの解析の一実施例のフロー図である。
[0017] 図8の細長い中空部分の解析の一実施例のフロー図である。
[0018] 図8の閉じた端部部分の解析の一実施例のフロー図である。
[0019] 図8の移行部分の解析の一実施例のフロー図である。
[0020] 図1の方法における弾性率結果データの生成の一実施例のフロー図である。
[0021] 図12の細長い中空部分の弾性率結果データの生成の一実施例のフロー図である。
[0022] 図12の閉じた端部部分の弾性率結果データの生成の一実施例のフロー図である。
[0023] 図12の移行部分の弾性率結果データの生成の一実施例のフロー図である。
[0024] 図1と組み合わせた、閉じた端部形状を有する一体型複合材構造のトウレイアップ設計を解析するための方法の別の一実施例のフロー図である。
[0025] 閉じた端部形状を有する一体型複合材構造のトウレイアップ設計を解析するための方法の更に別の一実施例のフロー図である。
[0026] 図17の方法における3次元モデルの構築の一実施例のフロー図である。
[0027] 図17の方法における3次元モデルの解析の一実施例のフロー図である。
[0028] 図17の方法における弾性率結果データの生成の一実施例のフロー図である。
[0029] 図17と組み合わせた、閉じた端部形状を有する一体型複合材構造のトウレイアップ設計を解析するための方法の更に別の一実施例のフロー図である。
[0030] 閉じた端部形状を有する一体型複合材構造のトウレイアップ設計を解析するための方法の更にまた別の一実施例のフロー図である。
[0031] 図1と組み合わせた、閉じた端部形状を有する一体型複合材構造のトウレイアップ設計を解析するための方法の更にまた別の一実施例のフロー図である。
[0032] 図17と組み合わせた、閉じた端部形状を有する一体型複合材構造のトウレイアップ設計を解析するための方法の別の一実施例のフロー図である。
[0033] 図22と組み合わせた、閉じた端部形状を有する一体型複合材構造のトウレイアップ設計を解析するための方法の更に別の一実施例のフロー図である。
[0034] 閉じた端部形状を有する一体型複合材構造の3次元モデルの一実施例の斜視図である。
閉じた端部形状を有する一体型複合材構造の3次元モデルの一実施例の端面図である。
[0035] 閉じた端部形状を有する一体型複合材構造の3次元モデルの別の一実施例の斜視図である。
[0036] 3次元モデルの側方端部スライス、側方移行領域スライス、及び側方細長体スライスの複数の実施例を示す、3次元モデルの更に別の一実施例の斜視図である。
[0037] 3次元モデルの閉じた端部部分と移行部分とのヒートマップの一実施例である。
[0038] 3次元モデルの側方端部スライスのグラフの一実施例である。
[0039] 図30Aの側方端部スライスのヒートマップの一実施例である。
[0040] 3次元モデルの移行部分のヒートマップの一実施例である。
[0041] 3次元モデルの側方移行領域スライスのグラフの一実施例である。
[0042] 3次元モデルの移行部分のグラフの幾つかの実施例を提供する。
[0043] 閉じた端部形状を有する一体型複合材構造の3次元モデルの別の一実施例の斜視図である。
[0044] 閉じた端部形状を有する一体型複合材構造の3次元モデルの更に別の一実施例の斜視図である。
[0045] 閉じた端部形状を有する一体型複合材構造の3次元モデルのまた別の一実施例の斜視図である。
[0046] 本明細書で開示される閉じた端部形状を有する一体型複合材構造のトウレイアップ設計を解析するための方法の実施例のうちの1以上を実装する、航空機製造及び保守方法のブロック図である。
[0047] 本明細書で開示される閉じた端部形状を有する一体型複合材構造のトウレイアップ設計を解析するための方法の実施例のうちの1以上に基づいて設計及び構築された構成要素を組み込んだ航空機の概略図である。
【発明を実施するための形態】
【0010】
[0048] 本明細書で開示される閉じた端部形状302を有する一体型複合材構造300のトウレイアップ設計200を解析するための方法100、1600、1700、2100、2200、2300、2400、2500の様々な実施例が、繊維分布及び整列のために最適化されたアプローチの使用を可能にする。このアプローチの目的は、準等方性積層体の特性について許容された範囲内にある弾性率を得ることである。もう1つの目的は、領域にわたる弾性率のばらつきを抑えることである。このアプローチはまた、複合材構成要素の一体化について、より低いばらつきとより高い所望の弾性率を可能にする。弾性率を最適化することで、軽量化や設計最適化手法が可能になり、製品のコストを節約し、価値を高める(より高いペイロード)ことが期待できる。
(【0011】以降は省略されています)
この特許をJ-PlatPat(特許庁公式サイト)で参照する
関連特許
個人
詐欺保険
28日前
個人
縁伊達ポイン
28日前
個人
RFタグシート
15日前
個人
5掛けポイント
4日前
個人
QRコードの彩色
1か月前
個人
地球保全システム
1か月前
個人
ペルソナ認証方式
12日前
個人
情報処理装置
7日前
個人
自動調理装置
14日前
個人
農作物用途分配システム
27日前
個人
表変換編集支援システム
2か月前
個人
残土処理システム
1か月前
個人
タッチパネル操作指代替具
21日前
個人
知的財産出願支援システム
1か月前
個人
インターネットの利用構造
11日前
個人
行動時間管理システム
2か月前
個人
パスワード管理支援システム
2か月前
個人
スケジュール調整プログラム
20日前
個人
携帯端末障害問合せシステム
20日前
株式会社キーエンス
受発注システム
1か月前
個人
エリアガイドナビAIシステム
12日前
個人
システム及びプログラム
1か月前
株式会社キーエンス
受発注システム
1か月前
個人
AIキャラクター制御システム
2か月前
株式会社キーエンス
受発注システム
1か月前
個人
食品レシピ生成システム
1か月前
個人
海外支援型農作物活用システム
1か月前
キヤノン株式会社
印刷システム
20日前
個人
社会還元・施設向け供給支援構造
2か月前
エッグス株式会社
情報処理装置
21日前
個人
人格進化型対話応答制御システム
2か月前
サクサ株式会社
中継装置
2か月前
個人
音声・通知・再配達UX制御構造
1か月前
トヨタ自動車株式会社
通知装置
18日前
個人
帳票自動生成型SaaSシステム
1か月前
キヤノン株式会社
表示システム
1か月前
続きを見る
他の特許を見る