TOP
|
特許
|
意匠
|
商標
特許ウォッチ
Twitter
他の特許を見る
10個以上の画像は省略されています。
公開番号
2025169375
公報種別
公開特許公報(A)
公開日
2025-11-12
出願番号
2025136113,2023525275
出願日
2025-08-19,2021-06-03
発明の名称
施設利用制御装置、システム、方法、及び、プログラム
出願人
日本電気株式会社
代理人
個人
主分類
G06Q
10/02 20120101AFI20251105BHJP(計算;計数)
要約
【課題】施設の利用手続きを非接触で実現する施設利用制御装置、システム、方法及びプログラムを提供する。
【解決手段】施設利用制御装置(1)は、所定の施設の利用を予約するユーザの登録用の本人特定情報と、ユーザの携帯端末と、施設の予約情報とを対応付けて登録する登録部(11)と、施設に設置された第1の認証端末によりユーザから取得された認証用の本人特定情報について、登録用の本人特定情報を用いた認証を制御する認証制御部(12)と、認証に成功したユーザの登録用の本人特定情報に対応付けられた予約情報を特定する特定部(13)と、特定した予約情報に基づき、施設の利用可否を判定する判定部(14)と、ユーザが施設を利用可と判定された場合、登録用の本人特定情報に対応付けられた携帯端末に向けて署名要求を行う署名要求部(15)と、ユーザにより携帯端末に対して入力された署名データを取得する署名取得部(16)と、を備える。
【選択図】図1
特許請求の範囲
【請求項1】
施設に設置された第1の認証端末から前記施設を利用するユーザの認証用の生体情報を取得する取得手段と、
前記取得した認証用の生体情報と前記施設の利用を予約したユーザの登録用の生体情報とを用いた生体認証に基づいて、前記生体認証に成功したユーザの前記登録用の生体情報に対応付けられた予約情報を特定する特定手段と、
前記特定した予約情報に基づき、前記施設の利用可否を判定する判定手段と、
前記ユーザが前記施設を利用可と判定された場合、前記登録用の生体情報に対応付けられた携帯端末に向けて署名要求を行う署名要求手段と、
前記ユーザにより前記携帯端末に対して入力された署名データを取得する署名取得手段と、
前記署名データの取得後、前記ユーザが利用可能な領域への入場に生体認証を利用できる旨を前記携帯端末に対して通知する通知手段と、を備える、施設利用制御装置。
続きを表示(約 2,100 文字)
【請求項2】
前記署名要求手段は、前記署名要求を行うとともに少なくとも前記署名要求を行った旨を示す通知及び前記署名要求にかかる署名の入力条件に関する通知のいずれかを前記第1の認証端末に出力する、請求項1に記載の施設利用制御装置。
【請求項3】
前記判定手段は、
前記特定した予約情報に基づき、前記施設の利用料が未決済であると判定した場合、前記登録用の生体情報に対応付けられた前記携帯端末に向けて当該利用料の決済を要求し、
前記携帯端末により前記利用料の決済がされた場合、前記ユーザが前記施設を利用可と判定する
請求項1又は2に記載の施設利用制御装置。
【請求項4】
前記通知手段は、前記署名データの取得後、前記施設内で前記ユーザが利用可能な領域情報、前記領域までの経路情報、前記領域への入場可能時間帯情報、前記施設からのチェックアウト時刻情報のうち少なくとも一つを前記携帯端末に対して通知する
請求項1乃至3のいずれか1項に記載の施設利用制御装置。
【請求項5】
前記署名データの取得後、前記施設内で前記ユーザが利用可能な領域の入口に設置された第2の認証端末から取得した前記ユーザの認証用の生体情報と、前記第1の認証端末から取得した前記ユーザの認証用の生体情報又は前記ユーザの登録用の生体情報と、を用いた生体認証に基づいて、前記生体認証に成功した場合、前記入口の施錠を解錠指示する解錠手段をさらに備える
請求項1乃至4のいずれか1項に記載の施設利用制御装置。
【請求項6】
署名要求手段は、前記署名要求を行った後所定時間以内に前記携帯端末から前記署名データの取得ができなかった場合に、前記所定時間以内に前記署名データの取得ができなかった旨を前記携帯端末又は前記施設の職員が使用する端末に対して通知する、請求項1乃至5のいずれか1項に記載の施設利用制御装置。
【請求項7】
所定の施設の利用を予約するユーザの携帯端末と、
前記施設に設置された第1の認証端末と、
前記施設の利用を制御する施設利用制御装置と、を備え、
前記施設利用制御装置は、
前記第1の認証端末から前記施設を利用するユーザの認証用の生体情報を取得する取得手段と、
前記取得した認証用の生体情報と前記施設の利用を予約したユーザの登録用の生体情報とを用いた生体認証に基づいて、前記生体認証に成功したユーザの前記登録用の生体情報に対応付けられた予約情報を特定する特定手段と、
前記特定した予約情報に基づき、前記施設の利用可否を判定する判定手段と、
前記ユーザが前記施設を利用可と判定された場合、前記登録用の生体情報に対応付けられた携帯端末に向けて署名要求を行う署名要求手段と、
前記ユーザにより前記携帯端末に対して入力された署名データを取得する署名取得手段と、
前記署名データの取得後、前記ユーザが利用可能な領域への入場に生体認証を利用できる旨を前記携帯端末に対して通知する通知手段と、を備える、施設利用制御システム。
【請求項8】
コンピュータが、
施設に設置された第1の認証端末から前記施設を利用するユーザの認証用の生体情報を取得し、
前記取得した認証用の生体情報と前記施設の利用を予約したユーザの登録用の生体情報とを用いた生体認証に基づいて、前記生体認証に成功したユーザの前記登録用の生体情報に対応付けられた予約情報を特定し、
前記特定した予約情報に基づき、前記施設の利用可否を判定し、
前記ユーザが前記施設を利用可と判定された場合、前記登録用の生体情報に対応付けられた携帯端末に向けて署名要求を行い、
前記ユーザにより前記携帯端末に対して入力された署名データを取得し、
前記署名データの取得後、前記ユーザが利用可能な領域への入場に生体認証を利用できる旨を前記携帯端末に対して通知する、
施設利用制御方法。
【請求項9】
施設に設置された第1の認証端末から前記施設を利用するユーザの認証用の生体情報を取得することと、
前記取得した認証用の生体情報と前記施設の利用を予約したユーザの登録用の生体情報とを用いた生体認証に基づいて、前記生体認証に成功したユーザの前記登録用の生体情報に対応付けられた予約情報を特定することと、
前記特定した予約情報に基づき、前記施設の利用可否を判定することと、
前記ユーザが前記施設を利用可と判定された場合、前記登録用の生体情報に対応付けられた携帯端末に向けて署名要求を行うことと、
前記ユーザにより前記携帯端末に対して入力された署名データを取得することと、
前記署名データの取得後、前記ユーザが利用可能な領域への入場に生体認証を利用できる旨を前記携帯端末に対して通知することと、
を含む処理をコンピュータに実行させる施設利用制御プログラム。
発明の詳細な説明
【技術分野】
【0001】
本発明は、施設利用制御装置、システム及び方法、並びに、コンピュータ可読媒体に関し、特に、施設を利用するための予約を行ったユーザに対して施設利用制御を行うための施設利用制御装置、システム、方法及びプログラムに関する。
続きを表示(約 2,300 文字)
【背景技術】
【0002】
近年、ホテル等の宿泊施設において非接触や非対面での手続きが求められている。特許文献1には、施設利用管理システムに関する技術が開示されている。施設利用管理システムの認証サーバは、チェックイン時にウェブサイトによって顧客から取得された顧客情報と、事前に登録済みの顧客情報とを照合することにより本人認証を行う。尚、特許文献2には、利用者が携帯ゲーム装置の利用時に署名を行う技術が開示されている。
【先行技術文献】
【特許文献】
【0003】
特開2020-201665号公報
特開2020-182860号公報
【発明の概要】
【発明が解決しようとする課題】
【0004】
特許文献1では、本人認証を自動化できるが、チェックイン手続きに改善の余地がある。尚、特許文献2は、施設の利用に関する技術ではない。
【0005】
本開示の目的は、上述した課題を鑑み、施設の利用手続きを非接触で実現するための施設利用制御装置、システム、方法及びプログラムを提供することにある。
【課題を解決するための手段】
【0006】
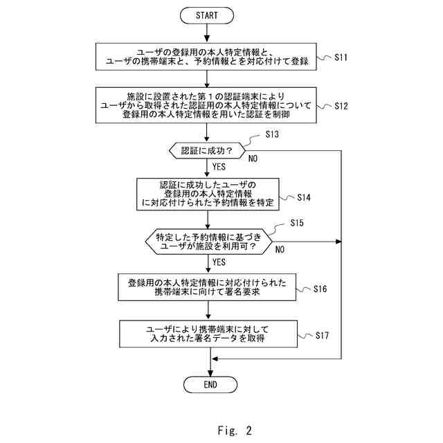
本開示の第1の態様にかかる施設利用制御装置は、
所定の施設の利用を予約するユーザの登録用の本人特定情報と、当該ユーザの携帯端末と、当該施設の予約情報とを対応付けて登録する登録手段と、
前記施設に設置された第1の認証端末により前記ユーザから取得された認証用の本人特定情報について、前記登録用の本人特定情報を用いた認証を制御する認証制御手段と、
前記認証に成功したユーザの前記登録用の本人特定情報に対応付けられた前記予約情報を特定する特定手段と、
前記特定した予約情報に基づき、前記施設の利用可否を判定する判定手段と、
前記ユーザが前記施設を利用可と判定された場合、前記登録用の本人特定情報に対応付けられた前記携帯端末に向けて署名要求を行う署名要求手段と、
前記ユーザにより前記携帯端末に対して入力された署名データを取得する署名取得手段と、
を備える。
【0007】
本開示の第2の態様にかかる施設利用制御システムは、
所定の施設の利用を予約するユーザの携帯端末と、
前記施設に設置された第1の認証端末と、
前記施設の利用を制御する施設利用制御装置と、を備え、
前記施設利用制御装置は、
前記ユーザの登録用の本人特定情報と、前記携帯端末と、前記施設の予約情報とを対応付けて登録する登録手段と、
前記第1の認証端末により前記ユーザから取得された認証用の本人特定情報について、前記登録用の本人特定情報を用いた認証を制御する認証制御手段と、
前記認証に成功したユーザの前記登録用の本人特定情報に対応付けられた前記予約情報を特定する特定手段と、
前記特定した予約情報に基づき、前記施設の利用可否を判定する判定手段と、
前記ユーザが前記施設を利用可と判定された場合、前記登録用の本人特定情報に対応付けられた前記携帯端末に向けて署名要求を行う署名要求手段と、
前記ユーザにより前記携帯端末に対して入力された署名データを取得する署名取得手段と、
を備える。
【0008】
本開示の第3の態様にかかる施設利用制御方法は、
コンピュータが、
所定の施設の利用を予約するユーザの登録用の本人特定情報と、当該ユーザの携帯端末と、当該施設の予約情報とを対応付けて登録し、
前記施設に設置された第1の認証端末により前記ユーザから取得された認証用の本人特定情報について、前記登録用の本人特定情報を用いた認証を制御し、
前記認証に成功したユーザの前記登録用の本人特定情報に対応付けられた前記予約情報を特定し、
前記特定した予約情報に基づき、前記施設の利用可否を判定し、
前記ユーザが前記施設を利用可と判定された場合、前記登録用の本人特定情報に対応付けられた前記携帯端末に向けて署名要求を行い、
前記ユーザにより前記携帯端末に対して入力された署名データを取得する。
【0009】
本開示の第4の態様にかかる施設利用制御プログラムは、
所定の施設の利用を予約するユーザの登録用の本人特定情報と、当該ユーザの携帯端末と、当該施設の予約情報とを対応付けて登録する登録処理と、
前記施設に設置された第1の認証端末により前記ユーザから取得された認証用の本人特定情報について、前記登録用の本人特定情報を用いた認証を制御する認証制御処理と、
前記認証に成功したユーザの前記登録用の本人特定情報に対応付けられた前記予約情報を特定する特定処理と、
前記特定した予約情報に基づき、前記施設の利用可否を判定する判定処理と、
前記ユーザが前記施設を利用可と判定された場合、前記登録用の本人特定情報に対応付けられた前記携帯端末に向けて署名要求を行う署名要求処理と、
前記ユーザにより前記携帯端末に対して入力された署名データをする署名取得処理と、
をコンピュータに実行させる。
【発明の効果】
【0010】
本開示により、施設の利用手続きを非接触で実現するための施設利用制御装置、システム、方法及びプログラムを提供することができる。
【図面の簡単な説明】
(【0011】以降は省略されています)
この特許をJ-PlatPat(特許庁公式サイト)で参照する
関連特許
日本電気株式会社
管理装置
1か月前
日本電気株式会社
監視装置
1か月前
日本電気株式会社
監視装置
1か月前
日本電気株式会社
異常検知装置
1か月前
日本電気株式会社
光モジュール
26日前
日本電気株式会社
海底分岐装置
1か月前
日本電気株式会社
光集積回路素子
1か月前
日本電気株式会社
超伝導量子回路装置
1か月前
日本電気株式会社
推論装置および推論方法
18日前
日本電気株式会社
ラインカード及びイジェクタ
1か月前
日本電気株式会社
考査装置、考査方法、プログラム
19日前
日本電気株式会社
考査装置、考査方法、プログラム
19日前
日本電気株式会社
時刻維持装置および時刻維持方法
17日前
日本電気株式会社
交渉装置、交渉方法及びプログラム
26日前
日本電気株式会社
交渉装置、交渉方法及びプログラム
3日前
日本電気株式会社
レコメンド装置およびレコメンド方法
1か月前
日本電気株式会社
監視装置、監視方法、及びプログラム
16日前
日本電気株式会社
端末、端末の制御方法及びプログラム
1か月前
日本電気株式会社
安否確認支援装置、方法及びプログラム
1か月前
日本電気株式会社
店舗端末、情報処理方法、及びプログラム
18日前
日本電気株式会社
乗車誘導計画装置および乗車誘導計画方法
9日前
日本電気株式会社
情報処理装置、情報処理方法、プログラム
18日前
日本電気株式会社
処理システム、処理方法、およびプログラム
1か月前
日本電気株式会社
合意判定装置、合意判定方法及びプログラム
24日前
日本電気株式会社
追跡支援装置、追跡支援方法及びプログラム
1か月前
日本電気株式会社
視聴支援装置、視聴支援方法及びプログラム
24日前
日本電気株式会社
行動推奨装置、行動推奨方法及びプログラム
1か月前
日本電気株式会社
処理システム、処理方法、およびプログラム
1か月前
日本電気株式会社
追跡支援装置、追跡支援方法及びプログラム
1か月前
日本電気株式会社
健康管理装置、健康管理方法及びプログラム
26日前
日本電気株式会社
合意判定装置、合意判定方法及びプログラム
3日前
日本電気株式会社
経路選択装置、経路選択方法及びプログラム
16日前
日本電気株式会社
情報処理装置、情報処理方法、及びプログラム
1か月前
日本電気株式会社
情報処理装置、分析方法、及び分析プログラム
24日前
日本電気株式会社
視線検出装置、視線検出方法、及びプログラム
1か月前
日本電気株式会社
情報処理装置、情報処理方法、及びプログラム
24日前
続きを見る
他の特許を見る