TOP
|
特許
|
意匠
|
商標
特許ウォッチ
Twitter
他の特許を見る
10個以上の画像は省略されています。
公開番号
2025168576
公報種別
公開特許公報(A)
公開日
2025-11-07
出願番号
2025148868,2023130654
出願日
2025-09-09,2010-10-19
発明の名称
半導体装置
出願人
株式会社半導体エネルギー研究所
代理人
主分類
H10D
30/67 20250101AFI20251030BHJP()
要約
【課題】新たな構造の半導体装置を提供することを目的の一とする。
【解決手段】半導体材料を含む基板に設けられたチャネル形成領域と、チャネル形成領域
を挟むように設けられた不純物領域と、チャネル形成領域上の第1のゲート絶縁層と、第
1のゲート絶縁層上の第1のゲート電極と、不純物領域と電気的に接続する第1のソース
電極および第1のドレイン電極と、を有する第1のトランジスタと、半導体材料を含む基
板上の第2のゲート電極と、第2のゲート電極上の第2のゲート絶縁層と、第2のゲート
絶縁層上の酸化物半導体層と、酸化物半導体層と電気的に接続する第2のソース電極およ
び第2のドレイン電極と、を有する第2のトランジスタと、を有する半導体装置である。
【選択図】図1
特許請求の範囲
【請求項1】
半導体材料を含む基板に設けられたチャネル形成領域と、前記チャネル形成領域を挟むように設けられた不純物領域と、前記チャネル形成領域上の第1のゲート絶縁層と、前記第1のゲート絶縁層上の第1のゲート電極と、前記不純物領域と電気的に接続する第1のソース電極および第1のドレイン電極と、を有する第1のトランジスタと、
前記半導体材料を含む基板上の第2のゲート電極と、前記第2のゲート電極上の第2のゲート絶縁層と、前記第2のゲート絶縁層上の酸化物半導体層と、前記酸化物半導体層と電気的に接続する第2のソース電極および第2のドレイン電極と、を有する第2のトランジスタと、を有する半導体装置。
発明の詳細な説明
【技術分野】
【0001】
発明の技術分野は、半導体装置およびその作製方法に関する。ここで、半導体装置とは、
半導体特性を利用することで機能する素子および装置全般を指すものである。
続きを表示(約 2,600 文字)
【背景技術】
【0002】
金属酸化物は多様に存在し、さまざまな用途に用いられている。酸化インジウムはよく知
られた材料であり、液晶表示装置などに必要とされる透明電極の材料として用いられてい
る。
【0003】
金属酸化物の中には半導体特性を示すものがある。半導体特性を示す金属酸化物としては
、例えば、酸化タングステン、酸化錫、酸化インジウム、酸化亜鉛などがあり、このよう
な金属酸化物をチャネル形成領域に用いた薄膜トランジスタが既に知られている(例えば
、特許文献1乃至特許文献4、非特許文献1等参照)。
【0004】
ところで、金属酸化物には、一元系酸化物のみでなく多元系酸化物も知られている。例え
ば、ホモロガス相を有するInGaO
3
(ZnO)
m
(m:自然数)は、In、Gaおよ
びZnを有する多元系酸化物半導体として知られている(例えば、非特許文献2乃至非特
許文献4等参照)。
【0005】
そして、上記のようなIn-Ga-Zn系酸化物で構成される酸化物半導体も、薄膜トラ
ンジスタのチャネル形成領域に適用可能であることが確認されている(例えば、特許文献
5、非特許文献5および非特許文献6等参照)。
【先行技術文献】
【特許文献】
【0006】
特開昭60-198861号公報
特開平8-264794号公報
特表平11-505377号公報
特開2000-150900号公報
特開2004-103957号公報
【非特許文献】
【0007】
M. W. Prins, K. O. Grosse-Holz, G. Muller, J. F. M. Cillessen, J. B. Giesbers, R. P. Weening, and R. M. Wolf、「A ferroelectric transparent thin-film transistor」、 Appl. Phys. Lett.、17 June 1996、 Vol.68 p.3650-3652
M. Nakamura, N. Kimizuka, and T. Mohri、「The Phase Relations in the In2O3-Ga2ZnO4-ZnO System at 1350℃」、J. Solid State Chem.、1991、Vol.93, p.298-315
N. Kimizuka, M. Isobe, and M. Nakamura、「Syntheses and Single-Crystal Data of Homologous Compounds, In2O3(ZnO)m(m=3,4, and 5), InGaO3(ZnO)3, and Ga2O3(ZnO)m(m=7,8,9, and 16) in the In2O3-ZnGa2O4-ZnO System」、 J. Solid State Chem.、1995、Vol.116, p.170-178
中村真佐樹、君塚昇、毛利尚彦、磯部光正、「ホモロガス相、InFeO3(ZnO)m(m:自然数)とその同型化合物の合成および結晶構造」、固体物理、1993年、Vol.28、No.5、p.317-327
K. Nomura, H. Ohta, K. Ueda, T. Kamiya, M. Hirano, and H. Hosono、「Thin-film transistor fabricated in single-crystalline transparent oxide semiconductor」、SCIENCE、2003、Vol.300、p.1269-1272
K. Nomura, H. Ohta, A. Takagi, T. Kamiya, M. Hirano, and H. Hosono、「Room-temperature fabrication of transparent flexible thin-film transistors using amorphous oxide semiconductors」、NATURE、2004、Vol.432 p.488-492
【発明の概要】
【発明が解決しようとする課題】
【0008】
ところで、半導体装置の代表例である電界効果トランジスタは、シリコンなどの材料を用
いて構成されるのが一般的である。しかし、シリコンなどを材料として用いる半導体装置
では、スイッチング特性が十分に高いとはいえず、例えば、CMOSインバータ回路を構
成する場合などにおいては、非常に大きな貫通電流により半導体装置が破壊されるといっ
た問題が生じていた。また、貫通電流により消費電力が増大するという問題も生じていた
。
【0009】
また、シリコンなどを材料として用いる半導体装置では、オフ電流(漏れ電流などとも呼
ぶ)は実質的にゼロといえる程度に小さいものではない。このため、半導体装置の動作に
かかわらず僅かな電流が流れてしまい、記憶装置や液晶表示装置といった電荷保持型の半
導体装置を構成する場合には、十分な電荷保持期間を確保することが困難であった。また
、オフ電流によって半導体装置の消費電力が増大してしまうという問題もあった。
【0010】
そこで、開示する発明の一態様は、上述の問題を解消した新たな構造の半導体装置を提供
することを目的の一とする。
【課題を解決するための手段】
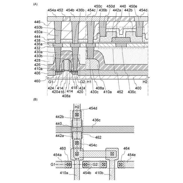
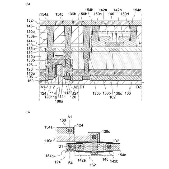
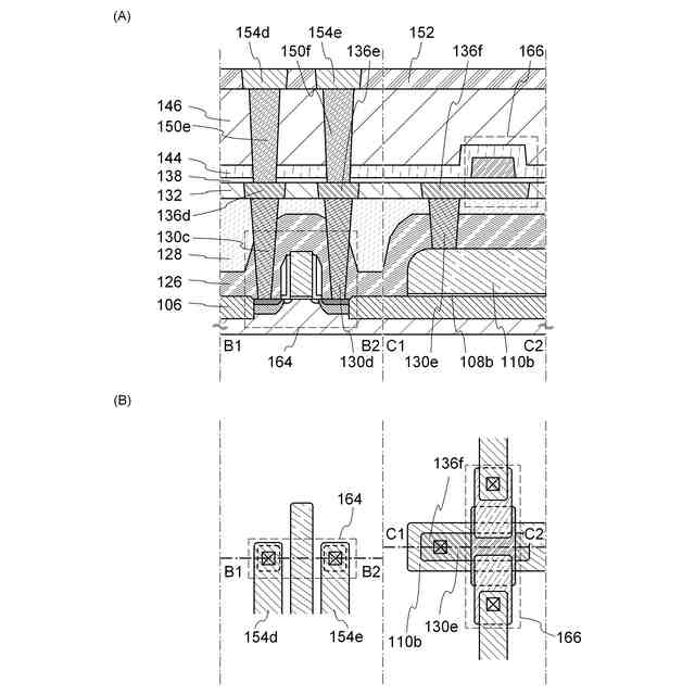
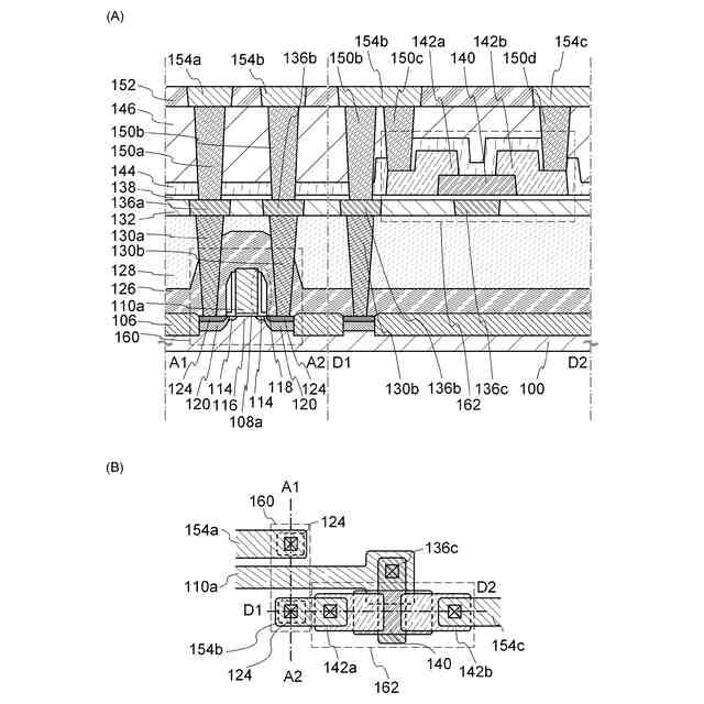
(【0011】以降は省略されています)
この特許をJ-PlatPat(特許庁公式サイト)で参照する
関連特許
個人
半導体装置
1か月前
個人
積和演算用集積回路
4日前
東レ株式会社
太陽電池モジュール
1か月前
サンケン電気株式会社
半導体装置
3日前
エイブリック株式会社
縦型ホール素子
27日前
エイブリック株式会社
縦型ホール素子
27日前
旭化成株式会社
発光素子
13日前
富士通株式会社
半導体装置
1か月前
ローム株式会社
半導体装置
1か月前
ローム株式会社
抵抗チップ
18日前
株式会社半導体エネルギー研究所
表示装置
27日前
三菱電機株式会社
半導体装置
12日前
富士電機株式会社
半導体装置
24日前
三菱電機株式会社
半導体装置
1か月前
ローム株式会社
半導体集積回路
12日前
日亜化学工業株式会社
発光素子
1か月前
TDK株式会社
圧電素子
1か月前
日亜化学工業株式会社
発光装置
13日前
日亜化学工業株式会社
発光装置
1か月前
ローム株式会社
半導体装置
3日前
ローム株式会社
窒化物半導体装置
27日前
ローム株式会社
半導体装置
19日前
株式会社半導体エネルギー研究所
発光デバイス
11日前
ローム株式会社
半導体装置
17日前
富士電機株式会社
半導体装置の製造方法
26日前
ローム株式会社
窒化物半導体装置
18日前
株式会社カネカ
太陽電池モジュール
1か月前
大日本印刷株式会社
太陽電池
20日前
日亜化学工業株式会社
発光素子
3日前
沖電気工業株式会社
発光装置及び表示装置
1か月前
日本電気株式会社
超伝導量子回路装置
1か月前
株式会社MARUWA
発光装置及び照明器具
1か月前
サンケン電気株式会社
発光装置
1か月前
日亜化学工業株式会社
発光装置
5日前
一般財団法人電力中央研究所
熱化学電池
1か月前
ローム株式会社
光センサ
25日前
続きを見る
他の特許を見る