TOP
|
特許
|
意匠
|
商標
特許ウォッチ
Twitter
他の特許を見る
10個以上の画像は省略されています。
公開番号
2025168539
公報種別
公開特許公報(A)
公開日
2025-11-07
出願番号
2025147355,2023104806
出願日
2025-09-05,2019-04-25
発明の名称
表示装置
出願人
株式会社半導体エネルギー研究所
代理人
主分類
H10K
50/852 20230101AFI20251030BHJP()
要約
【課題】高精細な表示装置を提供する。
【解決手段】表示装置は、異なる色の光を呈する複数の発光ユニットを備える。発光ユニ
ットは、マイクロキャビティ構造(微小共振器構造)が実現され、特定の波長の光が強め
られる。異なる色の光を呈する発光ユニットは、厚さの異なる反射層を形成し、これらを
覆って絶縁層を成膜した後に、絶縁層の上面を平坦化処理することで、それぞれ厚さの異
なる絶縁層が作り分けられている。その後、平坦化された絶縁層の上面に、それぞれの反
射層と重なり、白色発光を呈する発光素子を形成することにより、異なる光路長によって
異なる色が強められた発光ユニットが作り分けられている。
【選択図】図6
特許請求の範囲
【請求項1】
第1の発光素子、第2の発光素子、第1の絶縁層、第1の光学調整層、及び第2の光学調整層を有し、
前記第1の発光素子は、透光性を有する第1の下部電極と、発光層と、半透過性及び半反射性を有する上部電極と、を有し、
前記第2の発光素子は、透光性を有する第2の下部電極と、前記発光層と、前記上部電極と、を有し、
前記第1の光学調整層と前記第2の光学調整層とは、同一面上に設けられ、
前記第1の絶縁層は、前記第1の光学調整層の一部、及び前記第2の光学調整層の一部を覆って設けられ、且つ、前記第1の光学調整層と重なる領域に第1の開口と、前記第2の光学調整層と重なる領域に第2の開口と、を有し、
前記第1の下部電極は、前記第1の開口の内部に設けられ、
前記第2の下部電極は、前記第2の開口の内部に設けられ、
前記第1の光学調整層は、第1の膜を有し、
前記第2の光学調整層は、第2の膜と、第3の膜とがこの順に積層され、
前記第1の膜と、前記第3の膜とは、可視光を反射する機能を有し、
前記第1の下部電極は、前記第2の下部電極よりも厚い、
表示装置。
続きを表示(約 870 文字)
【請求項2】
第1の発光素子、第2の発光素子、第1の絶縁層、第1の光学調整層、及び第2の光学調整層を有し、
前記第1の発光素子は、透光性を有する第1の下部電極と、発光層と、半透過性及び半反射性を有する上部電極と、を有し、
前記第2の発光素子は、透光性を有する第2の下部電極と、前記発光層と、前記上部電極と、を有し、
前記第1の光学調整層と前記第2の光学調整層とは、同一面上に設けられ、
前記第1の絶縁層は、前記第1の光学調整層の一部、及び前記第2の光学調整層の一部を覆って設けられ、且つ、前記第1の光学調整層と重なる領域に第1の開口と、前記第2の光学調整層と重なる領域に第2の開口と、を有し、
前記第1の下部電極は、前記第1の開口の内部に設けられ、
前記第2の下部電極は、前記第2の開口の内部に設けられ、
前記第1の光学調整層は、第1の導電層を有し、
前記第2の光学調整層は、第2の導電層と、第3の導電層とがこの順に積層され、
前記第1の導電層と、前記第3の導電層とは、可視光を反射する機能を有し、
前記第1の下部電極は、前記第2の下部電極よりも厚い、
表示装置。
【請求項3】
請求項1又は請求項2において、
さらに第3の発光素子及び第3の光学調整層を有し、
前記第3の発光素子は、透光性を有する第3の下部電極と、前記発光層と、前記上部電極と、を有し、
前記第3の光学調整層は、少なくとも上面が可視光を反射する機能を有し、且つ、前記第1の光学調整層及び前記第2の光学調整層よりも厚く、
前記第3の下部電極が、前記第3の光学調整層の上面に接して設けられる、
表示装置。
【請求項4】
請求項1乃至請求項3のいずれか一において、
前記第1の発光素子を複数有し、
前記第1の発光素子は、5000ppi以上の精細度でマトリクス状に配置される、
表示装置。
発明の詳細な説明
【技術分野】
【0001】
本発明の一態様は、表示装置に関する。本発明の一態様は、表示装置の作製方法に関す
る。
続きを表示(約 1,500 文字)
【0002】
なお、本発明の一態様は、上記の技術分野に限定されない。本明細書等で開示する本発
明の一態様の技術分野としては、半導体装置、表示装置、発光装置、蓄電装置、記憶装置
、電子機器、照明装置、入力装置、入出力装置、それらの駆動方法、又はそれらの製造方
法、を一例として挙げることができる。半導体装置は、半導体特性を利用することで機能
しうる装置全般を指す。
【背景技術】
【0003】
近年、ディスプレイパネルの高精細化が求められている。高精細なディスプレイパネル
が要求される機器として、例えば、仮想現実(VR:Virtual Reality)
、または拡張現実(AR:Augmented Reality)向けの機器が、近年盛
んに開発されている。
【0004】
また、ディスプレイパネルに適用可能な表示装置としては、代表的には液晶表示装置、
有機EL(Electro Luminescence)素子や発光ダイオード(LED
:Light Emitting Diode)等の発光素子を備える発光装置、電気泳
動方式などにより表示を行う電子ペーパなどが挙げられる。
【0005】
有機EL素子の基本的な構成は、一対の電極間に発光性の有機化合物を含む層を挟持し
たものである。この素子に電圧を印加することにより、発光性の有機化合物から発光を得
ることができる。このような有機EL素子が適用された表示装置は、液晶表示装置等で必
要であったバックライトが不要なため、薄型、軽量、高コントラストで且つ低消費電力な
表示装置を実現できる。例えば、有機EL素子を用いた表示装置の一例が、特許文献1に
記載されている。
【先行技術文献】
【特許文献】
【0006】
特開2002-324673号公報
【発明の概要】
【発明が解決しようとする課題】
【0007】
上述したVRまたはAR向けの装着型の機器では、目とディスプレイパネルとの間に焦
点調整用のレンズを設ける必要がある。当該レンズにより画面の一部が拡大されるため、
ディスプレイパネルの精細度が低いと、現実感や没入感が薄れてしまうといった問題があ
る。
【0008】
また、ディスプレイパネルは、高い色再現性が求められる。特に上述したVRまたはA
R向けの機器では、色再現性の高いディスプレイパネルを用い、現実の物体色にできるだ
け近づけた表示を行うことで、現実感や没入感が高まる。
【0009】
本発明の一態様は、極めて高精細な表示装置を提供することを課題の一とする。本発明
の一態様は、高い色再現性が実現された表示装置を提供することを課題の一とする。本発
明の一態様は、高い精細度と、高い色再現性を兼ね備えた表示装置を提供することを課題
の一とする。また本発明の一態様は、上述した表示装置を製造する方法を提供することを
課題の一とする。
【0010】
なお、これらの課題の記載は、他の課題の存在を妨げるものではない。なお、本発明の
一態様は、これらの課題の全てを解決する必要はないものとする。なお、これら以外の課
題は、明細書、図面、請求項などの記載から抽出することが可能である。
【課題を解決するための手段】
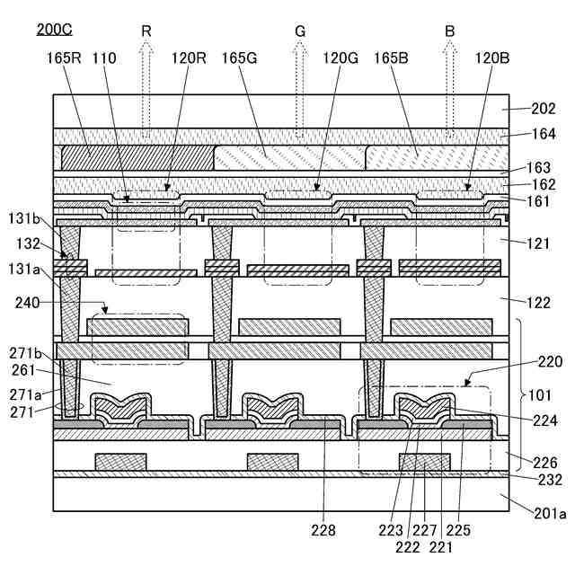
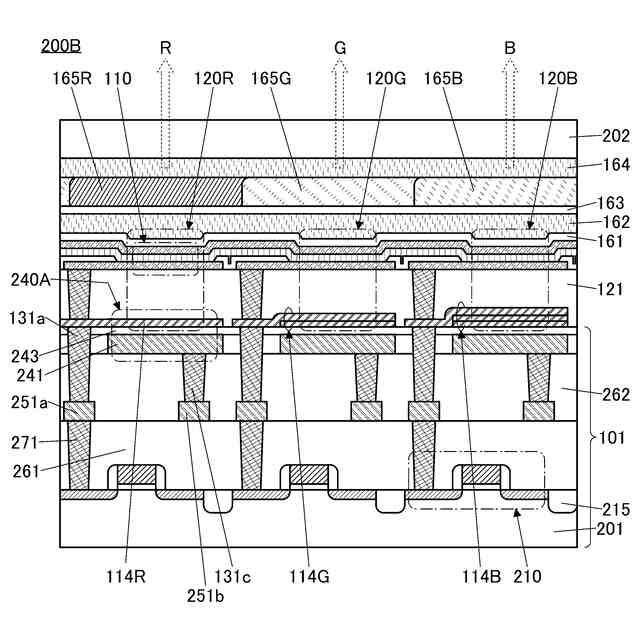
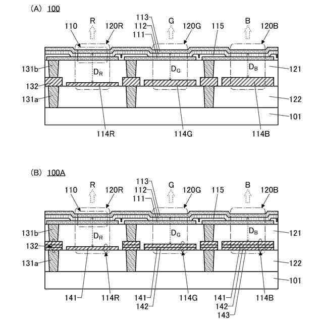
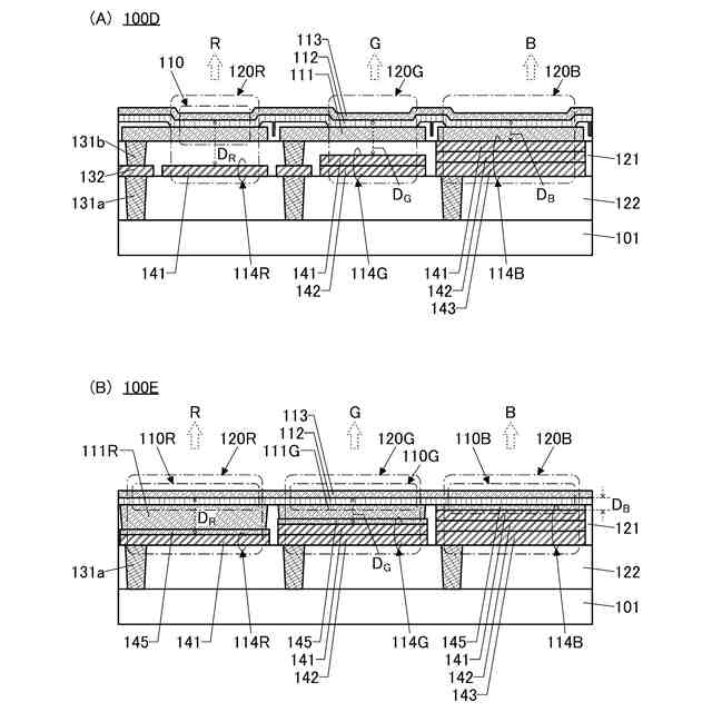
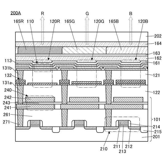
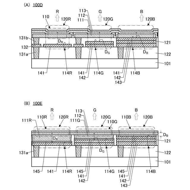
(【0011】以降は省略されています)
この特許をJ-PlatPat(特許庁公式サイト)で参照する
関連特許
個人
半導体装置
1か月前
個人
積和演算用集積回路
3日前
東レ株式会社
太陽電池モジュール
1か月前
サンケン電気株式会社
半導体装置
2日前
旭化成株式会社
発光素子
12日前
エイブリック株式会社
縦型ホール素子
26日前
エイブリック株式会社
縦型ホール素子
26日前
富士通株式会社
半導体装置
1か月前
ローム株式会社
半導体装置
1か月前
ローム株式会社
抵抗チップ
17日前
富士電機株式会社
半導体装置
23日前
株式会社半導体エネルギー研究所
表示装置
26日前
三菱電機株式会社
半導体装置
11日前
三菱電機株式会社
半導体装置
1か月前
ローム株式会社
半導体集積回路
11日前
TDK株式会社
圧電素子
1か月前
日亜化学工業株式会社
発光素子
1か月前
日亜化学工業株式会社
発光装置
12日前
日亜化学工業株式会社
発光装置
1か月前
ローム株式会社
窒化物半導体装置
26日前
ローム株式会社
半導体装置
16日前
ローム株式会社
半導体装置
18日前
ローム株式会社
窒化物半導体装置
17日前
株式会社半導体エネルギー研究所
発光デバイス
10日前
ローム株式会社
半導体装置
2日前
富士電機株式会社
半導体装置の製造方法
25日前
沖電気工業株式会社
発光装置及び表示装置
1か月前
日亜化学工業株式会社
発光素子
2日前
株式会社カネカ
太陽電池モジュール
1か月前
大日本印刷株式会社
太陽電池
19日前
日本電気株式会社
超伝導量子回路装置
1か月前
サンケン電気株式会社
発光装置
1か月前
株式会社MARUWA
発光装置及び照明器具
1か月前
日亜化学工業株式会社
発光装置
11日前
一般財団法人電力中央研究所
熱化学電池
1か月前
日本ゼオン株式会社
構造体
4日前
続きを見る
他の特許を見る