TOP
|
特許
|
意匠
|
商標
特許ウォッチ
Twitter
他の特許を見る
10個以上の画像は省略されています。
公開番号
2025168481
公報種別
公開特許公報(A)
公開日
2025-11-07
出願番号
2025145965,2021194117
出願日
2025-09-03,2021-11-30
発明の名称
基板処理装置および基板処理方法
出願人
株式会社SCREENホールディングス
代理人
個人
,
個人
主分類
H01L
21/304 20060101AFI20251030BHJP(基本的電気素子)
要約
【課題】処理のスループットの低下を抑制しつつ、基板へのパーティクル要素の再付着を低減させることができる技術を提供する。
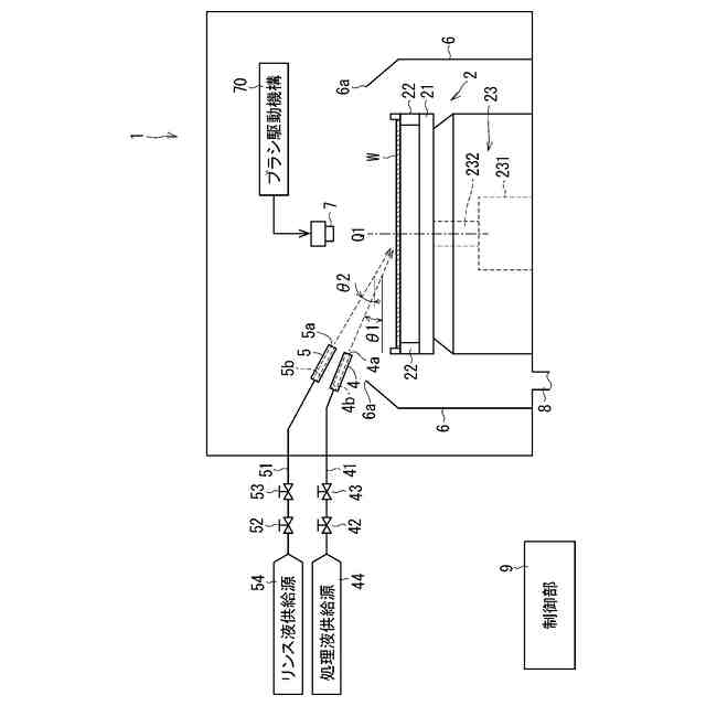
【解決手段】基板保持部2は基板Wを保持しつつ基板Wを回転させる。処理液ノズル4は斜め下方の第1吐出方向に沿って処理液を吐出する。リンス液ノズル5は、斜め下方の第2吐出方向に沿ってリンス液を吐出する。スプラッシュガード6は、基板Wの周縁から飛散する処理液およびリンス液を受け止める。第1吐出方向と水平面との間の角度θ1は、第2吐出方向と水平面との間の角度θ2よりも小さい。平面視において第1吐出方向と第2吐出方向との間の角度は30度以下である。基板Wの上面におけるリンス液の第2着液位置は第1吐出方向において処理液の第1着液位置よりも前方にある。リンス液ノズル5は処理液ノズル4よりも高い位置に設けられる。
【選択図】図1
特許請求の範囲
【請求項1】
基板を保持しつつ前記基板を回転させる基板保持部と、
斜め下方の第1吐出方向に沿って処理液を吐出して前記基板の上面に前記処理液を供給する処理液ノズルと、
斜め下方の第2吐出方向に沿ってリンス液を吐出して前記基板の前記上面に前記リンス液を供給するリンス液ノズルと、
前記基板保持部を囲う筒形状を有し、前記基板の周縁から飛散する前記処理液および前記リンス液を受け止めるスプラッシュガードと
を備え、
前記第1吐出方向と水平面との間の角度は、前記第2吐出方向と水平面との間の角度よりも小さく、
平面視において前記第1吐出方向と前記第2吐出方向との間の角度は30度以下であり、
前記基板の前記上面における前記リンス液の第2着液位置は前記第1吐出方向において前記処理液の第1着液位置よりも前方にあり、
前記リンス液ノズルは前記処理液ノズルよりも高い位置に設けられる、基板処理装置。
続きを表示(約 1,100 文字)
【請求項2】
請求項1に記載の基板処理装置であって、
前記リンス液ノズルの吐出口の面積は、前記処理液ノズルの吐出口の面積よりも小さい、基板処理装置。
【請求項3】
請求項1または請求項2に記載の基板処理装置であって、
リンス液供給管を通じて前記リンス液ノズルへ供給される前記リンス液の流量は、処理液供給管を通じて前記処理液ノズルへ供給される前記処理液の流量よりも大きい、基板処理装置。
【請求項4】
請求項1から請求項3のいずれか一つに記載の基板処理装置を用いた基板処理方法であって、
前記基板保持部が第1回転速度で前記基板を回転させながら、前記処理液ノズルが前記処理液を吐出して前記基板の前記上面に前記処理液を供給する処理工程と、
前記処理工程の後に、前記基板保持部が前記第1回転速度よりも高い第2回転速度で前記基板を回転させながら、前記リンス液ノズルが前記リンス液を吐出して前記基板の前記上面に前記リンス液を供給するリンス工程と
を備える、基板処理方法。
【請求項5】
請求項1から請求項3のいずれか一つに記載の基板処理装置を用いた基板処理方法であって、
処理時間に亘って、前記基板保持部が前記基板を回転させながら、前記処理液ノズルが前記処理液を吐出して前記基板の前記上面に前記処理液を供給する処理工程と、
前記処理工程の後に、前記処理時間よりも長いリンス時間に亘って、前記基板保持部が前記基板を回転させながら、前記リンス液ノズルが前記リンス液を吐出して前記基板の前記上面に前記リンス液を供給するリンス工程と
を備える、基板処理方法。
【請求項6】
請求項1から請求項3のいずれか一つに記載の基板処理装置を用いた基板処理方法であって、
前記基板保持部が前記基板を回転させながら、前記処理液ノズルが前記処理液を吐出して前記基板の前記上面に前記処理液を供給する処理工程と、
前記処理工程の後に、前記処理液および前記リンス液を前記基板に供給しない状態で前記基板保持部が前記基板を回転させる空回し工程と、
前記空回し工程の後に、前記基板保持部が前記基板を回転させながら、前記リンス液ノズルが前記リンス液を吐出して前記基板の前記上面に前記リンス液を供給するリンス工程と
を備える、基板処理方法。
【請求項7】
請求項6に記載の基板処理方法であって、
前記空回し工程における前記基板の回転速度は、前記処理工程における前記基板の回転速度よりも高い、基板処理方法。
発明の詳細な説明
【技術分野】
【0001】
本開示は、基板処理装置および基板処理方法に関する。
続きを表示(約 1,300 文字)
【背景技術】
【0002】
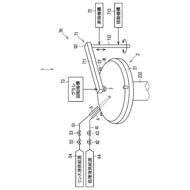
従来から、基板を処理する基板処理装置が提案されている(例えば特許文献1)。特許文献1では、基板処理装置は、基板保持部と、ノズルと、スクラブブラシとを含む。基板保持部は基板を水平姿勢で保持して基板を回転させる。ノズルは基板よりも鉛直上方に設けられており、斜め下方向に処理液を吐出して、基板の上面の中央部に処理液を供給する。処理液は薬液およびリンス液を含んでおり、ノズルは薬液およびリンス液を選択的に吐出する。スクラブブラシは、基板の上面に接触しつつ回転することで、基板に対して物理的に洗浄処理を行う。
【0003】
特許文献1では、基板処理装置は洗浄処理の後にリンス処理を行う。洗浄処理では、ノズルから回転中の基板の上面に向けて洗浄用の薬液を吐出しながら、スクラブブラシが基板の上面に接触して回転する。リンス処理では、同ノズルから回転中の基板の上面に向けてリンス液を吐出して、基板の上面の薬液をリンス液で流し去る。
【先行技術文献】
【特許文献】
【0004】
特開2006-278956号公報
【発明の概要】
【発明が解決しようとする課題】
【0005】
基板処理装置には、スプラッシュガードが設けられる。スプラッシュガードは、基板を取り囲む筒状の形状を有しており、基板から飛散した処理液を受け止める。
【0006】
薬液処理において基板から飛散した薬液はスプラッシュガードの内周面で受け止められる。この薬液には、基板の上面から除去された不純物が含まれていたり、薬液由来の化学結晶が含まれていたりするので、スプラッシュガードの内周面には、不純物および化学結晶などのパーティクル要素が付着し得る。
【0007】
リンス処理において基板から飛散したリンス液もスプラッシュガードの内周面で受け止められる。このとき、リンス液がスプラッシュガードの内周面のパーティクル要素に衝突して跳ね返ると、パーティクル要素がリンス液と共に基板に付着し得る。このパーティクル要素は基板においてパーティクルとなる。
【0008】
また、スプラッシュガードに残留するパーティクル要素の量は、基板を処理するたびに増加する傾向にあるので、パーティクル要素が基板へ再付着する可能性は、基板の処理枚数の増加に応じて高くなる。そこで、例えば基板の所定枚数の処理ごとに、基板の処理を中断し、スプラッシュガードを洗浄する処理を実行する。これにより、スプラッシュガードのパーティクル要素の量を低減させることができる。
【0009】
しかしながら、このような洗浄は基板の処理を中断させるので、処理のスループットの低下を招く。
【0010】
そこで、本開示は、処理のスループットの低下を抑制しつつ、基板へのパーティクル要素の再付着を低減させることができる技術を提供することを目的とする。
【課題を解決するための手段】
(【0011】以降は省略されています)
この特許をJ-PlatPat(特許庁公式サイト)で参照する
関連特許
APB株式会社
蓄電セル
17日前
株式会社東芝
端子台
11日前
マクセル株式会社
電源装置
11日前
ローム株式会社
半導体装置
18日前
株式会社GSユアサ
蓄電装置
4日前
株式会社GSユアサ
蓄電装置
12日前
株式会社GSユアサ
蓄電装置
12日前
トヨタ自動車株式会社
バッテリ
17日前
日新イオン機器株式会社
基板処理装置
14日前
日本特殊陶業株式会社
保持装置
3日前
トヨタ自動車株式会社
蓄電装置
12日前
北道電設株式会社
配電具カバー
17日前
日亜化学工業株式会社
半導体レーザ素子
14日前
甲神電機株式会社
変流器及び零相変流器
5日前
日本無線株式会社
レーダアンテナ
5日前
株式会社デンソー
電子装置
14日前
トヨタ自動車株式会社
密閉型電池
13日前
株式会社デンソー
熱交換部材
5日前
三協立山株式会社
バッテリーケース
18日前
日本航空電子工業株式会社
コネクタ
3日前
富士電機株式会社
半導体モジュール
6日前
マクセル株式会社
扁平形電池
18日前
シャープ株式会社
アンテナ装置
18日前
トヨタ自動車株式会社
蓄電モジュール
12日前
株式会社レゾナック
ヒートシンク
3日前
矢崎総業株式会社
接続構造
6日前
矢崎総業株式会社
コネクタ
5日前
クレザス株式会社
半導体装置の製造方法
4日前
京セラ株式会社
積層セラミック電子部品
4日前
矢崎総業株式会社
コネクタ
5日前
FDK株式会社
組電池及びその作製方法
今日
ローム株式会社
半導体パッケージ
18日前
テラル株式会社
磁場発生装置
3日前
新光電気工業株式会社
基板固定装置
17日前
大阪瓦斯株式会社
平板型燃料電池スタック
18日前
株式会社村田製作所
インダクタ部品
3日前
続きを見る
他の特許を見る