TOP
|
特許
|
意匠
|
商標
特許ウォッチ
Twitter
他の特許を見る
公開番号
2025168296
公報種別
公開特許公報(A)
公開日
2025-11-07
出願番号
2025070178
出願日
2025-04-22
発明の名称
質量流量計及び該質量流量計を有する質量流量制御器
出願人
微程式資訊股ふん有限公司
,
MICROPROGRAM INFORMATION CO., LTD.
代理人
弁理士法人服部国際特許事務所
主分類
G01F
1/36 20060101AFI20251030BHJP(測定;試験)
要約
【課題】センサーが高圧流体によって破壊される確率を低下させ得る質量流量計を提供する。
【解決手段】質量流量計1は、管路本体10と、センサー12と、を含む。管路本体は、主流路14、第1のセンサー支流路16、第2のセンサー支流路18及び収容室20を有し、第1と第2のセンサー支流路の両端はそれぞれ、主流路及び収容室に連通されている。センサーは入口ガスノズル36及び出口ガスノズル38を有し、収容室の中に配置されている。入口ガスノズルは第1のセンサー支流路に接続され、出口ガスノズルは第2のセンサー支流路に接続され、主流路を通過した一部の流体が第1のセンサー支流路を経てセンサーに入ってから、第2のセンサー支流路を経て主流路に戻るようにすることで、流体の流量を測定する。管路本体には、更に、圧力室40及び気道42が設けられている。
【選択図】図4
特許請求の範囲
【請求項1】
主流路、第1のセンサー支流路、第2のセンサー支流路及び収容室を有する管路本体であって、該第1のセンサー支流路と該第2のセンサー支流路の両端はそれぞれ、該主流路及び該収容室に連通され、該主流路にはフィルターが設けられている、管路本体と、
入口ガスノズル及び出口ガスノズルを有するセンサーであって、該センサーは該収容室の中に配置され、該入口ガスノズルは該第1のセンサー支流路に接続され、該出口ガスノズルは該第2のセンサー支流路に接続され、該主流路を通過した一部の流体が、該第1のセンサー支流路を経て該センサーに入ってから、該第2のセンサー支流路を経て該主流路に戻るようにすることで、流体の流量を測定する、センサーと、
を含む質量流量計であって、
該管路本体には、更に、圧力室及び気道が設けられ、該圧力室は該収容室に連通され、該気道は該圧力室及び該主流路のそれぞれに連通され、該主流路を通過した一部の流体が該気道を経て該圧力室に入るようにすることで、該センサーの内外の圧力を一致させる、質量流量計。
続きを表示(約 1,500 文字)
【請求項2】
該収容室の容積が該センサーよりも大きいことにより生じた該センサーと該収容室の側壁との間の空間が、該圧力室を形成している、請求項1に記載の質量流量計。
【請求項3】
該第1のセンサー支流路の直径が該センサーの入口ガスノズルよりも大きいことにより生じた該入口ガスノズルと該第1のセンサー支流路の側壁との間の空間が、該気道を形成している、請求項1に記載の質量流量計。
【請求項4】
該圧力室と該第2のセンサー支流路との間が気密となるよう、該センサーの出口ガスノズルにOリングが設置されている、請求項2に記載の質量流量計。
【請求項5】
更に、クロージャを含み、該クロージャは、中に該センサーが配置された該収容室を覆っている、請求項1に記載の質量流量計。
【請求項6】
主流路、第1のセンサー支流路、第2のセンサー支流路、収容室、バルブ後主流路、第1のバルブ支流路及び第2のバルブ支流路を有する管路本体であって、該第1のセンサー支流路と該第2のセンサー支流路の両端はそれぞれ、該主流路及び該収容室に連通され、該第1のバルブ支流路の一端は該主流路に連通され、該第2のバルブ支流路の一端は該バルブ後主流路に連通され、該主流路にはフィルターが設けられている、管路本体と、
入口ガスノズル及び出口ガスノズルを有するセンサーであって、該センサーは該収容室の中に配置され、該入口ガスノズルは該第1のセンサー支流路に接続され、該出口ガスノズルは該第2のセンサー支流路に接続され、該主流路を通過した一部の流体が、該第1のセンサー支流路を経て該センサーに入ってから、該第2のセンサー支流路を経て該主流路に戻るようにすることで、流体の流量を検知する、センサーと、
バルブ入口及びバルブ出口を有する制御バルブであって、該制御バルブは該管路本体に設けられ、該バルブ入口は該第1のバルブ支流路に接続され、該バルブ出口は該第2のバルブ支流路に接続されることで、該主流路の流体が、該第1のバルブ支流路を経て該制御バルブに入ってから、該第2のバルブ支流路を経て該バルブ後主流路に入るようにして、該制御バルブは、該センサーに検知された流量に応じて、該バルブ出口から流出する流体の流量を調整する、制御バルブと、
を含む質量流量制御器であって、
該管路本体には、更に、圧力室及び気道が設けられ、該圧力室は該収容室に連通され、該気道は該圧力室及び該主流路のそれぞれに連通され、該主流路を通過した一部の流体が該気道を経て該圧力室に入るようにすることで、該センサーの内外の圧力を一致させる、質量流量制御器。
【請求項7】
該収容室の容積が該センサーよりも大きいことにより生じた該センサーと該収容室の側壁との間の空間が、該圧力室を形成している、請求項6に記載の質量流量制御器。
【請求項8】
該第1のセンサー支流路の直径が該センサーの入口ガスノズルよりも大きいことにより生じた該入口ガスノズルと該第1のセンサー支流路の側壁との間の空間が、該気道を形成している、請求項6に記載の質量流量制御器。
【請求項9】
該圧力室と該第2のセンサー支流路との間が気密となるよう、該センサーの出口ガスノズルにOリングが設置されている、請求項8に記載の質量流量制御器。
【請求項10】
更に、クロージャを含み、該クロージャは、中に該センサーが配置された該収容室を覆っている、請求項6に記載の質量流量制御器。
発明の詳細な説明
【技術分野】
【0001】
本発明は、液体とガスといった流体の流量を検知・制御する技術に関し、詳しくは、センサーが圧力によって破壊される確率を低下させ得る質量流量計及び質量流量計を有する質量流量制御器に関する。
続きを表示(約 2,700 文字)
【背景技術】
【0002】
質量流量制御器(Mass Flow Controller、MFC)は、温度と圧力を考慮した流体流量の測定・制御装置であり、近年ではガスと液体などの圧縮性流体の流量の測定・制御に普遍的に応用されている。一般的には、質量流量制御器の主な構成部材は、質量流量計(Mass Flow Meter、MFM)、制御バルブ及び制御器を含む。質量流量計は、管路とセンサーを有する。管路は、濾過、流動安定化、及びセンサーと制御バルブの接続などの作用を有し、センサーは、管路を通過した流体の流量をモニタリングして、流量信号を制御器に送信するためのものであり、制御器は、流量信号に応じて制御バルブを制御することで、管路を流出する流体の流量を調整する。
【0003】
前記質量流量制御器の最も重要な部材は、明らかに、質量流量計である。現在、市場でよく見られる2種類の質量流量計は、熱式質量流量計(Thermal Mass Flow Meter)及びコリオリ質量流量計(Coriolis Mass Flow Meter)である。熱式質量流量計は、ガスの熱拡散効果を利用して測定するものである一方、コリオリ質量流量計は、科氏原理に基づいて測定するものである。
【0004】
実務において、管路とセンサーが異なる材料で製造されたものである(通常、管路は金属であるが、センサーはプラスチックである)ため、センサーは、よく管路本体における高圧流体で破壊されたり、漏れを生じたりして、センサーが流体の流量を正確に検知できないことが分かった。
【発明の概要】
【0005】
本発明の目的は、センサーが高圧流体によって破壊される確率を低下させ得る質量流量計及び質量流量計の質量流量制御器を提供することにある。
【0006】
上記した目的と効果を達成するために、本発明は、管路本体と、センサーと、を含む質量流量計を提供する。
管路本体は、主流路、第1のセンサー支流路、第2のセンサー支流路及び収容室を有する。第1のセンサー支流路と第2のセンサー支流路の両端はそれぞれ、主流路及び収容室に連通され、主流路にはフィルターが設けられている。
センサーは、入口ガスノズル及び出口ガスノズルを有し、収容室の中に配置されている。入口ガスノズルは第1のセンサー支流路に接続され、出口ガスノズルは第2のセンサー支流路に接続され、主流路を通過した一部の流体が、第1のセンサー支流路を経てセンサーに入ってから、第2のセンサー支流路を経て主流路に戻るようにすることで、流体の流量を測定する。
管路本体には、更に、圧力室及び気道が設けられている。圧力室は収容室に連通され、気道は収容室及び主流路のそれぞれに連通され、主流路を通過した一部の流体が気道を経て圧力室に入るようにすることで、センサーの内外の圧力を一致させる。
【0007】
本発明は、管路本体と、センサーと、制御バルブと、含む質量流量制御器を提供する。
管路本体は、主流路、第1のセンサー支流路、第2のセンサー支流路、収容室、バルブ後主流路、第1のバルブ支流路及び第2のバルブ支流路を有する。第1のセンサー支流路と第2のセンサー支流路の両端はそれぞれ、主流路及び収容室に連通され、第1のバルブ支流路の一端は、主流路に連通され、第2のバルブ支流路の一端はバルブ後主流路に連通され、主流路にはフィルターが設けられている。
センサーは、入口ガスノズル及び出口ガスノズルを有する、収容室の中に配置されている。入口ガスノズルは第1のセンサー支流路に接続され、出口ガスノズルは第2のセンサー支流路に接続され、主流路を通過した一部の流体が、第1のセンサー支流路を経てセンサーに入ってから、第2のセンサー支流路を経て主流路に戻るようにすることで、流体の流量を探知する。
制御バルブは、バルブ入口及びバルブ出口を有し、管路本体に設けられている。バルブ入口は第1のバルブ支流路に接続され、バルブ出口は第2のバルブ支流路に接続されることで、主流路の流体が、第1のバルブ支流路を経て制御バルブに入ってから、第2のバルブ支流路を経てバルブ後主流路に入るようにして、制御バルブは、センサーに検知された流量に応じて、バルブ出口から流出する流体の流量を調整する。
管路本体には、更に、圧力室と気道が設けられている。圧力室は収容室に連通され、気道は圧力室及び主流路のそれぞれに連通され、主流路を通過した一部の流体が気道を経て圧力室に入るようにすることで、センサーの内外の圧力を一致させる。
【図面の簡単な説明】
【0008】
本発明の第1の好適な実施例の斜視図であり、質量流量計の外観を示す。
本発明の第1の好適な実施例の分解断面図である。
本発明の第1の好適な実施例の組合せ断面図である。
図3の部分拡大図である。
本発明の第2の好適な実施例の断面図であり、質量流量計を有する質量流量制御器を示す。
【発明を実施するための形態】
【0009】
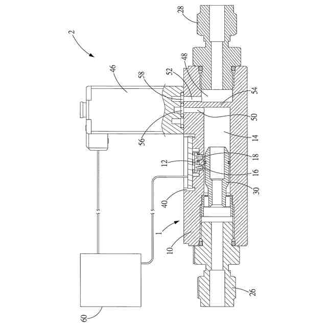
図1~図4に示されたように、本発明の第1の好適な実施例に開示された質量流量計1は、管路本体10及びセンサー12を含む。
【0010】
管路本体10は、金属製であり、主流路14、第1のセンサー支流路16、第2のセンサー支流路18及び収容室20が設けられている。主流路14は、管路本体10の一端に流路の入口22を有し、他端に流路の出口24を有する。第1のセンサー支流路16と第2のセンサー支流路18の両端はそれぞれ、主流路14及び収容室20に連通され、且つ第1のセンサー支流路16は、第2のセンサー支流路18よりも流路の入口22に近い。第1のジョイント26が流路の入口22に接続されることで、流体を主流路14に導入する。第2のジョイント28が流路の出口24に接続されることで、主流路14における流体を導出する。主流路14内には、流体を濾過するためのフィルター30が配置されている。フィルター30の上には、気密リング32が設けられ、主流路14の壁面に当接して、第1のセンサー支流路16と第2のセンサー支流路18の間に位置して、一部の流体がフィルター30の外側から第1のセンサー支流路16に入るようにする。
(【0011】以降は省略されています)
この特許をJ-PlatPat(特許庁公式サイト)で参照する
関連特許
微程式資訊股ふん有限公司
バルブメンテナンス警報装置
11か月前
微程式資訊股ふん有限公司
質量流量計及び該質量流量計を有する質量流量制御器
3日前
個人
メジャー文具
1か月前
個人
採尿及び採便具
11日前
日本精機株式会社
検出装置
5日前
個人
アクセサリー型テスター
27日前
個人
計量機能付き容器
今日
個人
高精度同時多点測定装置
26日前
甲神電機株式会社
電流検出装置
5日前
ユニパルス株式会社
ロードセル
1か月前
株式会社ミツトヨ
測定器
17日前
アズビル株式会社
電磁流量計
20日前
株式会社チノー
放射光測温装置
1か月前
大成建設株式会社
風洞実験装置
今日
株式会社ヨコオ
ソケット
1か月前
株式会社ヨコオ
ソケット
1か月前
ダイキン工業株式会社
監視装置
1か月前
トヨタ自動車株式会社
監視装置
1か月前
TDK株式会社
磁気センサ
1か月前
ローム株式会社
半導体装置
25日前
ローム株式会社
半導体装置
25日前
長崎県
形状計測方法
27日前
個人
非接触による電磁パルスの測定方法
3日前
TDK株式会社
ガスセンサ
1か月前
日本信号株式会社
距離画像センサ
3日前
個人
計量具及び計量機能付き容器
今日
個人
システム、装置及び実験方法
20日前
双庸電子株式会社
誤配線検査装置
6日前
愛知時計電機株式会社
ガスメータ
17日前
愛知電機株式会社
軸部材の外観検査装置
14日前
大和製衡株式会社
組合せ計量装置
14日前
大和製衡株式会社
組合せ計量装置
14日前
TDK株式会社
電磁波センサ
1か月前
日本特殊陶業株式会社
センサ
1か月前
中国電力株式会社
電柱管理システム
1か月前
三菱マテリアル株式会社
温度センサ
1か月前
続きを見る
他の特許を見る