TOP
|
特許
|
意匠
|
商標
特許ウォッチ
Twitter
他の特許を見る
10個以上の画像は省略されています。
公開番号
2025167910
公報種別
公開特許公報(A)
公開日
2025-11-07
出願番号
2024072927
出願日
2024-04-26
発明の名称
光電変換装置および機器
出願人
キヤノン株式会社
代理人
弁理士法人大塚国際特許事務所
主分類
H04N
25/772 20230101AFI20251030BHJP(電気通信技術)
要約
【課題】光電変換装置の特性向上に有利な技術を提供する。
【解決手段】複数の画素が配された画素回路と傾きが異なるランプ信号が供給される複数のランプ信号線と隣り合う第1AD変換回路および第2AD変換回路を含む複数のAD変換回路が配されたAD変換部とを備え、複数のAD変換回路のそれぞれは、複数のランプ信号線のうちAD変換に用いるランプ信号を選択するようにランプ信号線を選択する選択回路と選択回路によって選択されたランプ信号と画素からの画素信号とを比較する比較回路と選択回路から比較回路にランプ信号を供給する供給線とを含み、供給線は、比較回路から延びる第1部分と第1部分と選択回路とを接続する第2部分とを含み、供給線が配された配線領域は、第1AD変換回路が備える第1部分と第2AD変換回路が備える第2部分との間に、第1AD変換回路が備える第2部分または第2AD変換回路が備える第1部分が配される領域を含む。
【選択図】図6
特許請求の範囲
【請求項1】
複数の画素が複数の行および複数の列を構成するように配された画素回路と、互いに傾きが異なるランプ信号が供給される複数のランプ信号線と、1つの列に対応して、互いに隣り合う第1AD変換回路および第2AD変換回路を含む複数のAD変換回路が配されたAD変換部と、を備える光電変換装置であって、
前記複数のAD変換回路のそれぞれは、前記複数のランプ信号線のうちAD変換に用いるランプ信号を選択するようにランプ信号線を選択する選択回路と、前記選択回路によって選択されたランプ信号と画素からの画素信号とを比較する比較回路と、前記選択回路から前記比較回路にランプ信号を供給する供給線と、を含み、
前記供給線は、前記比較回路から延びる第1部分と、前記第1部分と前記選択回路とを接続する第2部分と、を含み、
前記供給線が配された配線領域は、前記第1AD変換回路が備える前記第1部分と前記第2AD変換回路が備える前記第2部分との間に、前記第1AD変換回路が備える前記第2部分、または、前記第2AD変換回路が備える前記第1部分が配される領域を含むことを特徴とする光電変換装置。
続きを表示(約 1,800 文字)
【請求項2】
前記領域において、前記第1AD変換回路が備える前記第1部分および前記第2部分と前記第2AD変換回路が備える前記第1部分および前記第2部分とは、同じ配線層に平行に配されることを特徴とする請求項1に記載の光電変換装置。
【請求項3】
各AD変換回路が備える前記供給線は、前記領域における前記第1部分と前記第2部分との間の容量カップリングによって、ランプ信号を前記選択回路から前記比較回路に供給することを特徴とする請求項1に記載の光電変換装置。
【請求項4】
前記領域において、前記第1AD変換回路が備える前記第1部分および前記第2部分と、前記第2AD変換回路が備える前記第1部分および前記第2部分と、の間に、シールド線が配されていることを特徴とする請求項1に記載の光電変換装置。
【請求項5】
前記光電変換装置は、前記選択回路が前記画素信号のレベルに応じて前記複数のランプ信号線のうちAD変換に用いるランプ信号を供給するランプ信号線を選択する駆動モードを備えることを特徴とする請求項1に記載の光電変換装置。
【請求項6】
前記光電変換装置は、前記第1AD変換回路において、前記選択回路が前記複数のランプ信号線のうち第1ランプ信号を供給するランプ信号線を選択し、前記比較回路に前記第1ランプ信号が供給されている間に、前記第2AD変換回路において、前記比較回路に前記第1ランプ信号が供給される駆動モード、または、一定の電圧が供給される駆動モードを備えていることを特徴とする請求項1に記載の光電変換装置。
【請求項7】
複数の画素が複数の行および複数の列を構成するように配された画素回路と、互いに傾きが異なるランプ信号が供給される複数のランプ信号線と、1つの列に対応して、互いに隣り合う第1AD変換回路および第2AD変換回路を含む複数のAD変換回路が配されたAD変換部と、を備える光電変換装置であって、
前記複数のAD変換回路のそれぞれは、前記複数のランプ信号線のうちAD変換に用いるランプ信号を選択するようにランプ信号線を選択する選択回路と、前記選択回路によって選択されたランプ信号と画素からの画素信号とを比較する比較回路と、前記選択回路から前記比較回路にランプ信号を供給する供給線と、を含み、
前記供給線は、前記比較回路から延びる第1部分と、前記第1部分と前記選択回路とを接続する第2部分と、を含み、
前記供給線が配された配線領域は、前記第1AD変換回路が備える前記第1部分および前記第2部分と前記第2AD変換回路が備える前記第1部分および前記第2部分とが、同じ配線層に平行に配される領域を含み、
前記光電変換装置は、前記第1AD変換回路において、前記選択回路が前記複数のランプ信号線のうち第1ランプ信号を供給するランプ信号線を選択し、前記比較回路に前記第1ランプ信号が供給されている間に、前記第2AD変換回路において、前記比較回路に前記第1ランプ信号が供給される駆動モード、および、前記比較回路に一定の電圧が供給される駆動モードのうち少なくとも一方を備えていることを特徴とする光電変換装置。
【請求項8】
前記第1AD変換回路において、前記比較回路に前記第1ランプ信号が供給されている間に、前記第2AD変換回路において、前記選択回路に前記第1ランプ信号とは異なるランプ信号が供給されないことを特徴とする請求項7に記載の光電変換装置。
【請求項9】
前記AD変換部は、第1AD変換部と第2AD変換部とを含み、
前記第1AD変換部と前記第2AD変換部との間に、前記画素回路が配され、
前記光電変換装置は、前記第1AD変換部において、前記選択回路は、前記複数のランプ信号線のうち第1ランプ信号を供給するランプ信号線を選択し、前記第2AD変換部において、前記選択回路は、前記複数のランプ信号線のうち前記第1ランプ信号を供給するランプ信号線とは異なる第2ランプ信号を供給するランプ信号線を選択する駆動モードを備えていることを特徴とする請求項7に記載の光電変換装置。
【請求項10】
前記複数の画素のそれぞれは、前記第1AD変換部および前記第2AD変換部の両方に画素信号を出力可能に構成されていることを特徴とする請求項9に記載の光電変換装置。
(【請求項11】以降は省略されています)
発明の詳細な説明
【技術分野】
【0001】
本発明は、光電変換装置および機器に関する。
続きを表示(約 2,100 文字)
【背景技術】
【0002】
テレビジョンの規格の高画素化や高フレームレート化に伴い、テレビジョン映像を撮像する光電変換装置においても、記録可能な画像の高画素化および高フレームレート化が要求される。この要求を達成するために、光電変換装置のアナログデジタル変換器(ADC)の高速化が求められる。さらに、高画素化、高フレームレート化だけでなく、ダイナミックレンジの拡大も、画像表現によって重要な要素になる。特許文献1には、画素で得られた信号の大きさに応じて、ADCに傾きが異なるランプ信号を供給することによって、AD変換に掛かる時間を増加させることなく、ダイナミックレンジを向上可能な撮像装置が示されている。
【先行技術文献】
【特許文献】
【0003】
特開2021-153291号公報
【発明の概要】
【発明が解決しようとする課題】
【0004】
高フレームレート化のために、画素列ごとに複数のADCを設け、複数の行の画素から出力される信号を同時に信号処理することが考えられる。画素列ごとに複数のADCを設けた場合に、高密度に配されたADCの間で、ADCに信号を入力するための配線パターン間において、意図しないカップリング容量が生じる可能性がある。近接するADCに互いに傾きが異なるランプ信号を供給した場合に、傾きが異なるランプ信号同士がカップリング容量を介して互いに影響を及ぼしてしまうと、ランプ信号の傾きが変化し、AD変換ゲインが変化してしまう。結果として、得られる画像の画質が低下してしまう可能性がある。
【0005】
本発明は、光電変換装置の特性向上に有利な技術を提供することを目的とする。
【課題を解決するための手段】
【0006】
上記課題に鑑みて、本発明の実施形態に係る光電変換装置は、複数の画素が複数の行および複数の列を構成するように配された画素回路と、互いに傾きが異なるランプ信号が供給される複数のランプ信号線と、1つの列に対応して、互いに隣り合う第1AD変換回路および第2AD変換回路を含む複数のAD変換回路が配されたAD変換部と、を備える光電変換装置であって、前記複数のAD変換回路のそれぞれは、前記複数のランプ信号線のうちAD変換に用いるランプ信号を選択するようにランプ信号線を選択する選択回路と、前記選択回路によって選択されたランプ信号と画素からの画素信号とを比較する比較回路と、前記選択回路から前記比較回路にランプ信号を供給する供給線と、を含み、前記供給線は、前記比較回路から延びる第1部分と、前記第1部分と前記選択回路とを接続する第2部分と、を含み、前記供給線が配された配線領域は、前記第1AD変換回路が備える前記第1部分と前記第2AD変換回路が備える前記第2部分との間に、前記第1AD変換回路が備える前記第2部分、または、前記第2AD変換回路が備える前記第1部分が配される領域を含むことを特徴とする。
【発明の効果】
【0007】
本発明によれば、光電変換装置の特性向上に有利な技術を提供することができる。
【図面の簡単な説明】
【0008】
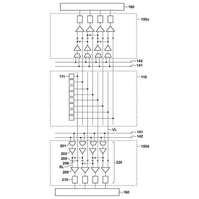
本実施形態の光電変換装置の構成例を示すブロック図。
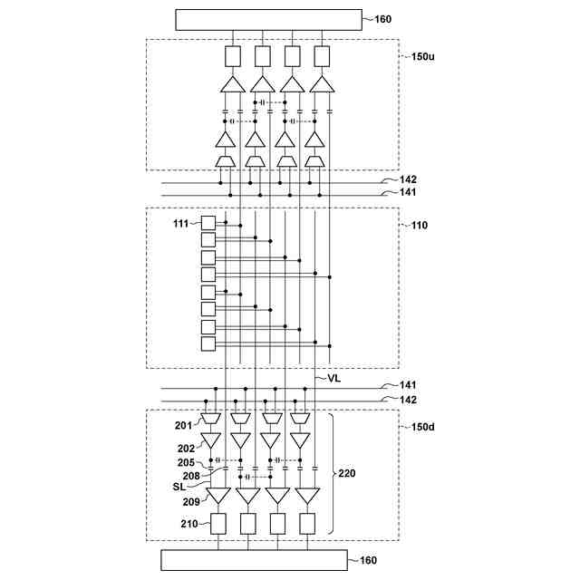
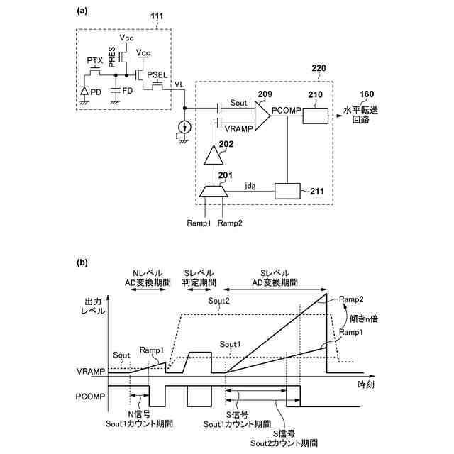
図1の光電変換装置のAD変換回路の構成例を示す図。
図1の光電変換装置のAD変換回路の構成例を示す図。
図1の光電変換装置のAD変換回路の動作例を示す図。
図1の光電変換装置のAD変換回路のレイアウト例を示す図。
図1の光電変換装置のAD変換回路のランプ信号を供給する配線パターンのレイアウト例を示す図。
図1の光電変換装置のAD変換回路の構成例を示す図。
図1の光電変換装置のAD変換回路の動作例を示す図。
図1の光電変換装置のAD変換回路の構成例を示す図。
図1の光電変換装置が組み込まれた機器の構成例を示す図。
【発明を実施するための形態】
【0009】
以下、添付図面を参照して実施形態を詳しく説明する。なお、以下の実施形態は特許請求の範囲に係る発明を限定するものではない。実施形態には複数の特徴が記載されているが、これらの複数の特徴の全てが発明に必須のものとは限らず、また、複数の特徴は任意に組み合わせられてもよい。さらに、添付図面においては、同一若しくは同様の構成に同一の参照番号を付し、重複した説明は省略する。
【0010】
図1~図9を参照して、本開示の実施形態による光電変換装置について説明する。図1は、本実施形態にかかる光電変換装置1を含む撮像装置1000の構成例を示すブロック図である。撮像装置1000は、並列型AD変換器を実装した光電変換装置1と、画像処理LSI2と、を含む。光電変換装置1は、CMOSイメージセンサなどとも呼ばれうる。
(【0011】以降は省略されています)
この特許をJ-PlatPat(特許庁公式サイト)で参照する
関連特許
キヤノン株式会社
トナー
3日前
キヤノン株式会社
撮像装置
4日前
キヤノン株式会社
測距装置
5日前
キヤノン株式会社
記録装置
3日前
キヤノン株式会社
撮像装置
11日前
キヤノン株式会社
電子機器
3日前
キヤノン株式会社
記録装置
3日前
キヤノン株式会社
雲台装置
3日前
キヤノン株式会社
撮像装置
3日前
キヤノン株式会社
電子機器
3日前
キヤノン株式会社
表示装置
11日前
キヤノン株式会社
液体収容体
5日前
キヤノン株式会社
液体収容体
6日前
キヤノン株式会社
情報処理装置
4日前
キヤノン株式会社
液体攪拌装置
3日前
キヤノン株式会社
画像形成装置
11日前
キヤノン株式会社
画像形成装置
5日前
キヤノン株式会社
画像形成装置
6日前
キヤノン株式会社
画像形成装置
11日前
キヤノン株式会社
光電変換装置
3日前
キヤノン株式会社
画像形成装置
11日前
キヤノン株式会社
画像形成装置
11日前
キヤノン株式会社
画像形成装置
4日前
キヤノン株式会社
画像処理装置
6日前
キヤノン株式会社
画像形成装置
4日前
キヤノン株式会社
視線検出装置
5日前
キヤノン株式会社
画像形成装置
6日前
キヤノン株式会社
画像形成装置
5日前
キヤノン株式会社
画像形成装置
4日前
キヤノン株式会社
画像形成装置
11日前
キヤノン株式会社
画像形成装置
3日前
キヤノン株式会社
画像形成装置
3日前
キヤノン株式会社
画像形成装置
4日前
キヤノン株式会社
画像形成装置
4日前
キヤノン株式会社
画像形成装置
4日前
キヤノン株式会社
画像形成装置
3日前
続きを見る
他の特許を見る