TOP
|
特許
|
意匠
|
商標
特許ウォッチ
Twitter
他の特許を見る
10個以上の画像は省略されています。
公開番号
2025164410
公報種別
公開特許公報(A)
公開日
2025-10-30
出願番号
2024068376
出願日
2024-04-19
発明の名称
発電装置および発電システム
出願人
日本自動ドア株式会社
代理人
個人
,
個人
,
個人
主分類
H02K
7/18 20060101AFI20251023BHJP(電力の発電,変換,配電)
要約
【課題】容易に設置でき、十分な発電量を確保することができる発電装置および発電システムを提供する。
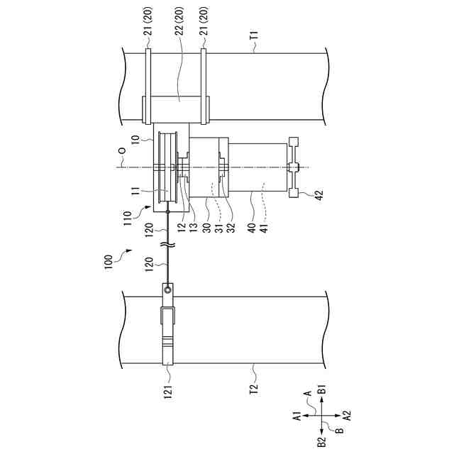
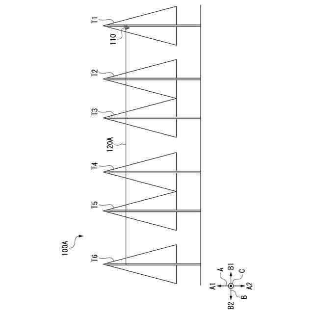
【解決手段】発電装置100は、風によって揺動する受風体T1、T2に取り付けられる発電装置であって、回転部11と、前記回転部11に巻き付けられ、前記回転部11から送出可能なワイヤ120と、前記ワイヤ120が送出される送出方向に回転する前記回転部11の送出回転力を電力に変換する発電機41と、を備え、前記ワイヤ120は、前記受風体T1、T2の揺動によって前記回転部11から前記ワイヤ120の長手方向Bに送出され、前記回転部11は、前記ワイヤ120が前記回転部11から送出されることによって前記送出方向に回転する。
【選択図】図2
特許請求の範囲
【請求項1】
風によって揺動する受風体に取り付けられる発電装置であって、
回転部と、
前記回転部に巻き付けられ、前記回転部から送出可能なワイヤと、
前記ワイヤが送出される送出方向に回転する前記回転部の送出回転力を電力に変換する発電機と、
を備え、
前記ワイヤは、前記受風体の揺動によって前記回転部から前記ワイヤの長手方向に送出され、
前記回転部は、前記ワイヤが前記回転部から送出されることによって前記送出方向に回転する、
発電装置。
続きを表示(約 1,000 文字)
【請求項2】
前記回転部は、前記ワイヤの基端と接続され、
前記回転部と前記ワイヤの先端とは、互いに異なる前記受風体に取り付けられている、
請求項1に記載の発電装置。
【請求項3】
前記回転部は、
前記送出方向の反対の牽引方向に前記回転部を付勢する弾性部を有し、
前記ワイヤが弛緩するとき、前記弾性部に付勢されて前記牽引方向に回転し、前記ワイヤを巻き取る、
請求項1に記載の発電装置。
【請求項4】
前記弾性部は、ゼンマイばねである、
請求項3に記載の発電装置。
【請求項5】
前記回転部の前記送出回転力を前記発電機に伝達する減速機を備え、
前記減速機は、前記回転部の回転速度を加速又は減速させる、
請求項1に記載の発電装置。
【請求項6】
前記送出回転力を前記回転部から前記減速機に伝達する第一伝達部を備え、
前記第一伝達部は、前記送出方向の反対の牽引方向に回転する前記回転部の牽引回転力を前記減速機に伝達しない、
請求項5に記載の発電装置。
【請求項7】
前記回転部の前記送出回転力が所定の値以上になったとき、前記回転部から前記減速機への前記送出回転力の伝達を遮断する過負荷保護装置を備える、
請求項5に記載の発電装置。
【請求項8】
前記発電機から伝達される前記送出回転力によって回転する勢車部を備え、
前記送出回転力によって前記勢車部が回転している状態において、前記発電機から前記勢車部への前記送出回転力の伝達が停止したとき、
前記勢車部は、慣性力によって回転し、
前記発電機は、前記勢車部の回転力を電力に変換する、
請求項5に記載の発電装置。
【請求項9】
前記送出回転力を前記減速機から前記発電機に伝達する第二伝達部を備え、
前記第二伝達部は、前記勢車部の回転力を前記発電機から前記減速機に伝達しない、
請求項8に記載の発電装置。
【請求項10】
前記ワイヤの前記長手方向の中間部に設けられ、前記ワイヤを前記長手方向に摺動可能に支持する中継部を備え、
前記回転部、前記中継部および前記ワイヤの前記先端は、互いに異なる前記受風体に取り付けられている、
請求項2に記載の発電装置。
(【請求項11】以降は省略されています)
発明の詳細な説明
【技術分野】
【0001】
本発明は、発電装置および発電システムに関する。
続きを表示(約 1,200 文字)
【背景技術】
【0002】
従来、電力が供給されていない山間部や森林内での林業等の作業において、電動工具等の電源を確保するのが困難な場合がある。例えば、林業事業者等は、電動工具等に給電する場合、作業している山間部から下山して電力が供給されている場所まで移動する必要がある。そのため、作業を実施する山間部や森林内に設置可能な発電装置が求められる。
【0003】
山間部や森林内で用いられる発電装置として、例えば、太陽光発電装置がある。また、樹木等の振動を利用して発電する発電装置が提案されている(例えば、特許文献1および特許文献2)。
【先行技術文献】
【特許文献】
【0004】
特開平5-64418号公報
特開2022-70097号公報
【発明の概要】
【発明が解決しようとする課題】
【0005】
しかしながら、太陽光発電装置は、太陽光が樹木等に遮られて日照位置が短時間で変化する場合、太陽光パネルに供給される太陽光を安定して確保できず、十分に発電できない可能性がある。また、十分な発電量を確保するためには大きな太陽光パネルを用いる必要があり、太陽光パネルを山間部に搬入するのが困難な可能性がある。
【0006】
特許文献1に記載のある発電装置は、揺動する樹木等の風受体の動きを電気等のエネルギーに変換するトランスジューサと、トランスジューサを固定する保持枠および支持体とを風受体の周囲に設置する必要があり、発電装置の設置および撤去に手間がかかる可能性がある。
【0007】
特許文献2に記載のある振動発電装置は、振動を電気エネルギーに変換する振動発電部を樹木の枝に設置する必要があり、背の高い樹木に取り付けるのが困難な可能性がある。
【0008】
上記事情を踏まえ、本発明は、容易に設置でき、十分な発電量を確保することができる発電装置および発電システムを提供することを目的とする。
【課題を解決するための手段】
【0009】
上記課題を解決するために、この発明は以下の手段を提案している。
本発明の発電装置は、風によって揺動する受風体に取り付けられる発電装置であって、回転部と、前記回転部に巻き付けられ、前記回転部から送出可能なワイヤと、前記ワイヤが送出される送出方向に回転する前記回転部の送出回転力を電力に変換する発電機と、を備え、前記ワイヤは、前記受風体の揺動によって前記回転部から前記ワイヤの長手方向に送出され、前記回転部は、前記ワイヤが前記回転部から送出されることによって前記送出方向に回転する。
【0010】
本発明の発電システムは、上記に記載の発電装置と、前記発電機が変換した前記電力を蓄積可能な蓄電装置と、前記蓄電装置に蓄積された前記電力を外部に供給可能な給電装置と、を備える。
【発明の効果】
(【0011】以降は省略されています)
この特許をJ-PlatPat(特許庁公式サイト)で参照する
関連特許
日本自動ドア株式会社
自動ドア開閉装置
1日前
日本自動ドア株式会社
発電装置および発電システム
1日前
個人
単極モータ
17日前
キヤノン電子株式会社
モータ
1日前
株式会社アイシン
ロータ
21日前
株式会社アイシン
ロータ
17日前
日本精機株式会社
サージ保護回路
24日前
コーセル株式会社
電源装置
2日前
日星電気株式会社
ケーブル組立体
9日前
トヨタ自動車株式会社
固定子
22日前
株式会社デンソー
回転機
15日前
個人
連続ガウス加速器形磁力増幅装置
24日前
トヨタ自動車株式会社
製造装置
22日前
株式会社アイシン
ステータ
21日前
株式会社ダイヘン
充電装置
21日前
個人
太陽エネルギー収集システム
22日前
株式会社ダイヘン
充電装置
21日前
株式会社ダイヘン
充電装置
21日前
株式会社アイシン
ステータ
21日前
株式会社ミツバ
ブラシレスモータ
23日前
東京瓦斯株式会社
通信装置
23日前
株式会社アイシン
ステータ
21日前
株式会社アイシン
ステータ
21日前
カヤバ株式会社
筒型リニアモータ
23日前
株式会社ダイヘン
充電装置
21日前
トヨタ自動車株式会社
被膜形成装置
22日前
株式会社kaisei
発電システム
17日前
個人
二次電池繰返パルス放電器用印刷基板
7日前
東京瓦斯株式会社
給電システム
23日前
株式会社デンソー
電力変換装置
8日前
ASTI株式会社
電力変換装置
22日前
株式会社ミツバ
回転電機
14日前
株式会社ミツバ
回転電機
21日前
株式会社デンソー
電力変換装置
16日前
キヤノン株式会社
無線電力伝送システム
22日前
大和ハウス工業株式会社
システム
23日前
続きを見る
他の特許を見る