TOP
|
特許
|
意匠
|
商標
特許ウォッチ
Twitter
他の特許を見る
公開番号
2025162651
公報種別
公開特許公報(A)
公開日
2025-10-28
出願番号
2024065969
出願日
2024-04-16
発明の名称
カップリング組付用治具及び治具付き押出機
出願人
株式会社神戸製鋼所
代理人
弁理士法人三協国際特許事務所
主分類
B29C
48/265 20190101AFI20251021BHJP(プラスチックの加工;可塑状態の物質の加工一般)
要約
【課題】カップリングの組付作業の負担を軽減する。
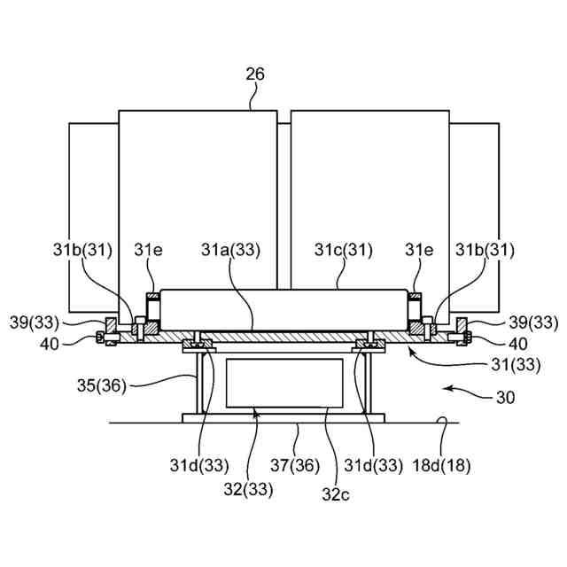
【解決手段】組付用治具30は、スクリュシャフトの軸と減速機の出力軸とを互いに連結するカップリング26の組付作業に用いる。治具30は、カップリング26を出力軸の軸心と平行な軸心周りに回転可能な状態で下方から支持するローラ31cが配置された支持台31と、支持台31の高さ位置を調節する高さ調節機構32と、水平方向で且つ出力軸の軸線方向と直交する方向である軸合わせ方向に沿って設置されるレール状部35を有するベース36と、を備える。ベース36は、支持台31がレール状部35の上において軸合わせ方向に沿って移動できるように支持台31を下方から支持する。
【選択図】図1
特許請求の範囲
【請求項1】
スクリュシャフトの回転軸と減速機の出力軸とを互いに連結するカップリングの組付作業に用いるカップリング組付用治具であって、
前記カップリングを前記出力軸の軸心と平行な軸心周りに回転可能な状態で下方から支持する複数個のローラが配置された支持台と、
前記支持台の高さ位置を調節する高さ調節機構と、
水平方向で且つ前記出力軸の軸線方向と直交する方向である軸合わせ方向に沿って設置されるレール状部を有するベースと、を備え、
前記ベースは、前記支持台が前記レール状部の上において前記軸合わせ方向に沿って移動できるように前記支持台を下方から支持する、カップリング組付用治具。
続きを表示(約 1,300 文字)
【請求項2】
前記カップリングの軸方向一端側において前記支持台に設けられ、前記カップリングを支持した時に前記カップリングの軸方向一端部に係止されるストッパーを更に備えている、請求項1に記載のカップリング組付用治具。
【請求項3】
前記ストッパーは、前記カップリングの前記軸方向一端部において前記カップリングを係止するストップ位置と、前記ストップ位置から退避し、前記カップリングの軸方向移動が許容される退避位置との間で位置調節可能に配置されている、請求項2に記載のカップリング組付用治具。
【請求項4】
前記ストッパーは、前記支持台に対して着脱可能である、請求項2に記載のカップリング組付用治具。
【請求項5】
前記レール状部に支持される被支持面に配置されるスライドプレートを更に備えている、請求項1に記載のカップリング組付用治具。
【請求項6】
前記高さ調節機構として、前記支持台の下端部に備え付けられ、前記支持台に対する下方への突出長さを調節可能なボルトを備える、請求項1に記載のカップリング組付用治具。
【請求項7】
前記支持台の下方に位置するとともに前記ベースの前記レール状部によって支持されて前記支持台とともに前記レール状部に沿って移動可能なロアボディを更に備えており、
前記高さ調節機構は、前記支持台と前記ロアボディとの間に配置されたジャッキ装置である、請求項1に記載のカップリング組付用治具。
【請求項8】
前記高さ調節機構は、前記支持台の下に配置されるとともに、前記支持台に接触しない程度に縮んだ状態から、前記支持台を下から支持しながら前記支持台の高さ位置を調節する状態まで、高さ方向に伸縮可能に構成されており、
前記ベースは、前記高さ調節機構が前記支持台と接触しない程度に縮んだ状態において、前記支持台が前記レール状部の上を前記軸合わせ方向に沿って移動できるように前記支持台を下方から支持する、請求項1に記載のカップリング組付用治具。
【請求項9】
前記カップリングを収容するジャンクションボックスの外側で前記カップリングを前記支持台に載せられるように、前記レール状部は、前記ジャンクションボックスにおける軸方向に直交する方向の長さよりも長く形成されている、請求項1に記載のカップリング組付用治具。
【請求項10】
出力軸を有する減速機と、
スクリュシャフトと、前記スクリュシャフトを格納するバレルと、前記減速機の前記出力軸と前記スクリュシャフトの回転軸とを互いに連結するためのカップリングと、前記カップリングを格納しつつ前記減速機と前記バレルとの間に配置されたジャンクションボックスと、を有し、前記スクリュシャフトの回転によって、材料を押し出す押出機と、
前記カップリングの組付作業に用いられる請求項1から8の何れか1項に記載のカップリング組付用治具と、
前記カップリング組付用治具の前記ベースを前記ジャンクションボックスに固定するための締結具と、を備えている治具付き押出機。
発明の詳細な説明
【技術分野】
【0001】
本発明は、カップリング組付用治具及び治具付き押出機に関する。
続きを表示(約 1,900 文字)
【背景技術】
【0002】
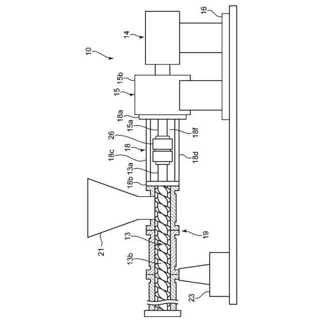
従来、下記特許文献1に開示されているように、スクリュシャフトをモータで駆動することによって材料を連続的に押し出す押出機が知られている。下記の特許文献1には図8に示す押出機が開示されている。この押出機は、モータ82と、減速機83と、スクリュシャフトが格納されたバレル84と、減速機83及びバレル84間に配置されたジャンクションボックス85と、を有する。ジャンクションボックス85内に配置されたカップリング95により、スクリュシャフトの軸91と減速機83の軸92とが接続されている。カップリング95とスクリュシャフトの軸91との結合は、例えばスプライン結合であり、また、カップリング95と減速機83の軸92との結合も例えばスプライン結合となっている。これにより、減速機83の軸92の駆動力をスクリュシャフトの軸91に伝達可能となっている。ジャンクションボックス85に隣接するバレル84には材料投入口94が設けられており、投入された材料はバレル84内をスクリュシャフトによって軸方向に送られて押し出される。
【先行技術文献】
【特許文献】
【0003】
特開平6-179212号公報
【発明の概要】
【発明が解決しようとする課題】
【0004】
減速機83の軸92とスクリュシャフトの軸91をカップリング95でつなぐ作業を行う際には、軸91,92の軸心とカップリング95の中心軸を合わせるとともに、軸91,92の外周面にカップリング95の内周面を合わせ、さらにカップリング95のスプラインの位相を軸91,92のスプラインの位相に合わせる必要がある。このため、カップリング95を回転させたり、カップリング95に軸91,92が挿入されるようにカップリング95を移動させる作業工程を要する。しかしながら、カップリング95自体のサイズは大きく、しかも重たい物(約100kg)であるため、作業員の手による組付作業は力のいる高負荷な作業であり、困難を伴うものである。
【0005】
そこで、本発明は、前記従来技術を鑑みてなされたものであり、その目的とするところは、カップリングの組付作業の負担を軽減できるカップリング組付用治具を提供することにある。
【課題を解決するための手段】
【0006】
前記の目的を達成するため、本発明に係るカップリング組付用治具は、スクリュシャフトの回転軸と減速機の出力軸とを互いに連結するカップリングの組付作業に用いるカップリング組付用治具であって、前記カップリングを前記出力軸の軸心と平行な軸心周りに回転可能な状態で下方から支持する複数個のローラが配置された支持台と、前記支持台の高さ位置を調節する高さ調節機構と、水平方向で且つ前記出力軸の軸線方向と直交する方向である軸合わせ方向に沿って設置されるレール状部を有するベースと、を備える。前記ベースは、前記支持台が前記レール状部の上において前記軸合わせ方向に沿って移動できるように前記支持台を下方から支持する。
【0007】
本発明に係るカップリング組付用治具では、カップリングを支持する支持台をレール状部の上を軸合わせ方向に沿って移動でき、また高さ調節機構によって支持台の高さ位置を調節することができる。このとき、支持台がベースによって下方から支持されているため、カップリングを下方から支持する支持台の位置調節作業の負担を軽減することができる。さらに、カップリングが支持台によって下方から支持された状態でカップリングを軸心周りに回転させることができるため、カップリングの回転位相を調整する作業においても、作業負担を軽減できる。
【0008】
前記カップリング組付用治具は、前記カップリングの軸方向一端側において前記支持台に設けられ、前記カップリングを支持した時に前記カップリングの軸方向一端部に係止されるストッパーを更に備えていてもよい。
【0009】
この態様では、カップリングを例えば軸合わせ方向に移動させるときに、カップリングが軸方向に移動してしまうことを防止できる。
【0010】
前記ストッパーは、前記カップリングの前記軸方向一端部において前記カップリングを係止するストップ位置と、前記ストップ位置から退避し、前記カップリングの軸方向移動が許容される退避位置との間で位置調節可能に配置されていてもよい。
(【0011】以降は省略されています)
この特許をJ-PlatPat(特許庁公式サイト)で参照する
関連特許
株式会社神戸製鋼所
銅合金
16日前
株式会社神戸製鋼所
接点材料
14日前
株式会社神戸製鋼所
出湯用スリーブ
1日前
株式会社神戸製鋼所
熱交換システム
14日前
株式会社神戸製鋼所
圧縮機ユニット
23日前
株式会社神戸製鋼所
再生ゴム製造方法
1日前
株式会社神戸製鋼所
ステッピングモータ
23日前
株式会社神戸製鋼所
溶接金属、溶接継手及び溶接構造物
22日前
株式会社神戸製鋼所
密閉型混練機及び密閉型混練機用混練ロータ
1日前
株式会社神戸製鋼所
カップリング組付用治具及び治具付き押出機
24日前
株式会社神戸製鋼所
制御方法、溶接電源、溶接システム及び制御プログラム
22日前
株式会社神戸製鋼所
二酸化炭素排出量演算システム、該方法および該プログラム
14日前
株式会社神戸製鋼所
二酸化炭素排出量演算システム、該方法および該プログラム
16日前
株式会社神戸製鋼所
二酸化炭素排出量演算システム、該方法および該プログラム
17日前
株式会社神戸製鋼所
ガスシールドアーク溶接用フラックス入りワイヤ及びガスシールドアーク溶接方法
22日前
株式会社神戸製鋼所
遠隔監視システム、遠隔監視方法、データ処理装置、データ処理方法、端末装置およびその制御方法、並びにプログラム
28日前
個人
気泡緩衝材減容装置
1か月前
豊田鉄工株式会社
金型
3か月前
株式会社 型善
射出成形型
2日前
東レ株式会社
フィルムの製造方法
8か月前
東レ株式会社
フィルムの製造方法
4か月前
東レ株式会社
フィルムの製造方法
4か月前
株式会社エフピコ
賦形シート
16日前
東レ株式会社
複合成形体の製造方法
1か月前
東レ株式会社
フィルムの製造方法。
4か月前
株式会社カワタ
計量混合装置
6か月前
日機装株式会社
加圧システム
7か月前
トヨタ自動車株式会社
射出装置
8か月前
東レ株式会社
樹脂フィルムの製造方法
6か月前
株式会社漆原
シートの成形方法
5か月前
NOK株式会社
樹脂ゴム複合体
2か月前
株式会社不二越
射出成形機
5か月前
東レ株式会社
炭素繊維シートの製造方法
7か月前
株式会社不二越
射出成形機
7か月前
株式会社不二越
射出成形機
7か月前
株式会社不二越
射出成形機
2か月前
続きを見る
他の特許を見る