TOP
|
特許
|
意匠
|
商標
特許ウォッチ
Twitter
他の特許を見る
10個以上の画像は省略されています。
公開番号
2025162470
公報種別
公開特許公報(A)
公開日
2025-10-27
出願番号
2024065809
出願日
2024-04-15
発明の名称
冷却具及び冷却具の製造方法
出願人
株式会社TAT
代理人
個人
,
個人
主分類
B29C
65/00 20060101AFI20251020BHJP(プラスチックの加工;可塑状態の物質の加工一般)
要約
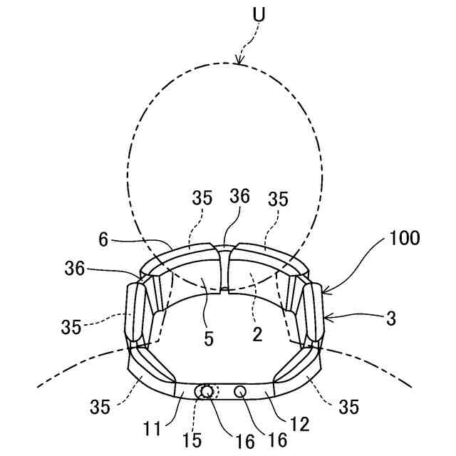
【課題】冷却具の生体への肌当たりが良好となる。
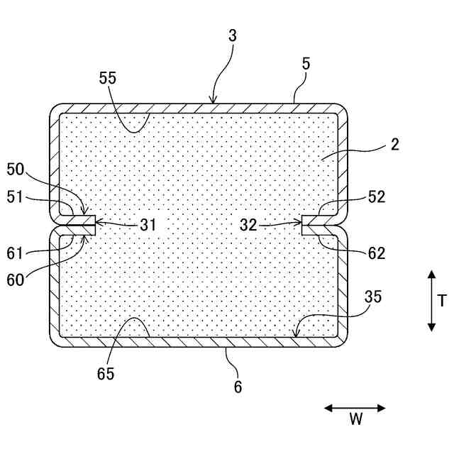
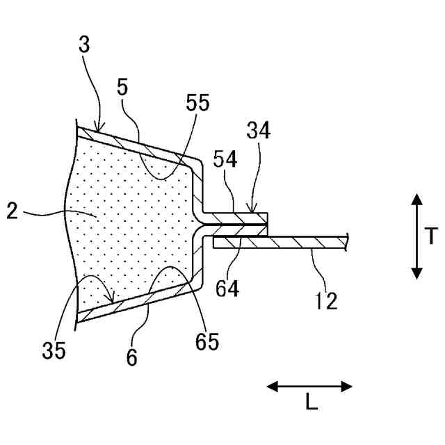
【解決手段】冷却具100は、保冷剤2と、保冷剤2を収容し長手方向に延びる外装パック3とを備え、外装パック3は、第1シート5と、第1シート5に接合された第2シート6とを有し、第2シート6は、長手方向に沿って交互に並んで配置された凹状の複数の収容部65及び凸状の複数の仕切り部66を有し、収容部65は第1シート5とは反対の方へ窪んで保冷剤2を収容し、仕切り部66は第1シート5の方へ突出して隣り合う収容部65の間を仕切り、第1シート5の外周縁50は長手方向に沿って延び互いに対向する第1端縁51及び第2端縁52を含み、第2シート6の外周縁60は長手方向に沿って延び互いに対向する第1端縁61及び第2端縁62を含み、第1端縁51と第1端縁61との第1接合部分31と、第2端縁52と第2端縁62との第2接合部分32とは、外装パック3の内部に位置している。
【選択図】図3
特許請求の範囲
【請求項1】
熱を吸収して固相から液相に変化する保冷剤と、
前記保冷剤を収容し長手方向に延びる外装パックとを備え、
前記外装パックは、第1シートと、前記第1シートに対向して前記第1シートに接合された第2シートとを有し、
前記第2シートは、前記長手方向に沿って交互に並んで配置された凹状の複数の収容部及び凸状の複数の仕切り部を有し、
前記収容部は、前記第1シートとは反対の方へ窪んで前記保冷剤を収容し、
前記仕切り部は、前記第1シートの方へ突出して隣り合う前記収容部の間を仕切り、
前記第1シートの外周縁は、前記長手方向に沿って延び互いに対向する第1端縁及び第2端縁を含み、
前記第2シートの外周縁は、前記長手方向に沿って延び互いに対向する第1端縁及び第2端縁を含み、
前記第1シートの前記第1端縁と前記第2シートの前記第1端縁とが接合された第1接合部分と、前記第1シートの前記第2端縁と前記第2シートの前記第2端縁とが接合された第2接合部分とは、前記外装パックの内部に位置している冷却具。
続きを表示(約 1,500 文字)
【請求項2】
請求項1に記載の冷却具において、
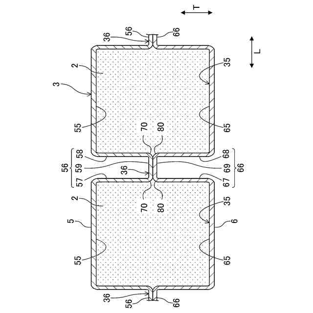
前記仕切り部は、隣り合う前記収容部の一方を区画する第1壁と、隣り合う前記収容部の他方を区画する第2壁と、前記第1壁と前記第2壁とを連結する連結部とを含み、
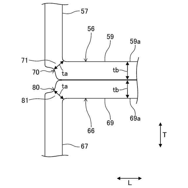
前記連結部と前記第1壁との交差部分と前記連結部と前記第2壁との交差部分とは、それぞれ、前記仕切り部の稜を形成し、
前記第2シートのうち前記稜を形成する部分の厚みは、前記第2シートのうち当該部分を除く前記連結部の厚みよりも薄い冷却具。
【請求項3】
請求項1に記載の冷却具において、
前記第1シートの前記外周縁は、前記第1シートの前記第1端縁及び前記第2端縁に接続され互いに対向する第3端縁及び第4端縁を含み、
前記第2シートの前記外周縁は、前記第2シートの前記第1端縁及び前記第2端縁に接続され互いに対向する第3端縁及び第4端縁を含み、
前記第1シートの前記第3端縁と前記第2シートの前記第3端縁とが接合された第3接合部分と、前記第1シートの前記第4端縁と前記第2シートの前記第4端縁とが接合された第4接合部分とは、前記外装パックの外部に位置している冷却具。
【請求項4】
請求項1に記載の冷却具において、
前記第1シートは、前記第1シートの前記長手方向に沿って交互に並んで配置された凹状の複数の収容部及び凸状の複数の仕切り部を有し、
前記第1シートの前記収容部は、前記第2シートとは反対の方へ窪んで前記保冷剤を収容し、
前記第1シートの前記仕切り部は、前記第2シートの方へ突出して前記第1シートの隣り合う前記収容部の間を仕切り、
前記第1シートの前記収容部と前記第2シートの前記収容部とは対向し、前記第1シートの前記仕切り部と前記第2シートの前記仕切り部とは対向して接合されている冷却具。
【請求項5】
長手方向に延びる第1シートを準備することと、
長手方向に延びる第2シートであって、前記長手方向に沿って並んで配置され第1主面側へ突出した凸状の複数の凸部と、第2主面側へ窪んで隣り合う前記凸部の間を仕切る凹状の複数の凹部とを含む前記第2シートを準備することと、
前記第2シートの前記第2主面を前記第1シートに対向させて、前記第1シートと前記第2シートとを重ね合わせることと、
前記第1シートの外周縁のうちの前記長手方向に沿って延びる第1端縁と前記第2シートの外周縁のうちの前記長手方向に沿って延びる第1端縁とを接合して第1接合部分を形成し、且つ、前記第1シートの外周縁のうちの前記長手方向に沿って延び前記第1シートの前記第1端縁に対向する第2端縁と前記第2シートの外周縁のうちの前記長手方向に沿って延び前記第2シートの前記第1端縁に対向する第2端縁とを接合して第2接合部分を形成し、前記長手方向の両端が開口する管状パックを形成することと、
前記第2シートの前記第1主面を前記第1シートに対向させるように前記管状パックを裏返し、前記凸部を前記第2主面側へ窪んだ状態に変形させて凹状の収容部を形成し、前記凹部を前記第1主面側へ突出した状態に変形させて凸状の仕切り部を形成して、外装パックを形成することと、
前記両端の少なくとも一方の開口された隙間から前記外装パックの内部に保冷剤を充填して、前記複数の収容部のそれぞれに前記保冷剤を収容することとを備え、
前記第1接合部分及び前記第2接合部分は、前記管状パックの形成時には、前記管状パックの外部に位置し、前記外装パックの形成時には、前記外装パックの内部に位置する冷却具の製造方法。
発明の詳細な説明
【技術分野】
【0001】
ここに開示された技術は、冷却具及び冷却具の製造方法に関する。
続きを表示(約 2,600 文字)
【背景技術】
【0002】
特許文献1には、冷媒ゲルからなる保冷剤がチューブに収容された冷却具が開示されている。チューブは、対向する一対のプラスチックシートを互いに溶着することによって形成されている。チューブには、チューブの幅方向に延びるシールが溶着によって形成されている。チューブの内部は、シールによって、チューブの長さ方向に並ぶ複数のポケット部に分割されている。各ポケット部には、保冷剤が収容されている。
【先行技術文献】
【特許文献】
【0003】
米国特許第4854319号明細書
【発明の概要】
【発明が解決しようとする課題】
【0004】
ところで、前述のような冷却具では、一対のプラスチックシートのそれぞれの長さ方向に延びる周縁が互いに溶着されている。冷却具を生体の対象部分に装着する場合、互いに溶着された各プラスチックシートの周縁が生体の対象部分に接触して、冷却具の生体への肌当たりが良くない。
【0005】
ここに開示された技術は、かかる点に鑑みてなされたものであり、その目的とするところは、冷却具の生体への肌当たりが良好となることにある。
【課題を解決するための手段】
【0006】
ここに開示された冷却具は、熱を吸収して固相から液相に変化する保冷剤と、前記保冷剤を収容し長手方向に延びる外装パックとを備え、前記外装パックは、第1シートと、前記第1シートに対向して前記第1シートに接合された第2シートとを有し、前記第2シートは、前記長手方向に沿って交互に並んで配置された凹状の複数の収容部及び凸状の複数の仕切り部を有し、前記収容部は、前記第1シートとは反対の方へ窪んで前記保冷剤を収容し、前記仕切り部は、前記第1シートの方へ突出して隣り合う前記収容部の間を仕切り、前記第1シートの外周縁は、前記長手方向に沿って延び互いに対向する第1端縁及び第2端縁を含み、前記第2シートの外周縁は、前記長手方向に沿って延び互いに対向する第1端縁及び第2端縁を含み、前記第1シートの前記第1端縁と前記第2シートの前記第1端縁とが接合された第1接合部分と、前記第1シートの前記第2端縁と前記第2シートの前記第2端縁とが接合された第2接合部分とは、前記外装パックの内部に位置している。
【0007】
ここに開示された冷却具の製造方法は、長手方向に延びる第1シートを準備することと、長手方向に延びる第2シートであって、前記長手方向に沿って並んで配置され第1主面側へ突出した凸状の複数の凸部と、第2主面側へ窪んで隣り合う前記凸部の間を仕切る凹状の複数の凹部とを含む前記第2シートを準備することと、前記第2シートの前記第2主面を前記第1シートに対向させて、前記第1シートと前記第2シートとを重ね合わせることと、前記第1シートの外周縁のうちの前記長手方向に沿って延びる第1端縁と前記第2シートの外周縁のうちの前記長手方向に沿って延びる第1端縁とを接合して第1接合部分を形成し、且つ、前記第1シートの外周縁のうちの前記長手方向に沿って延び前記第1シートの前記第1端縁に対向する第2端縁と前記第2シートの外周縁のうちの前記長手方向に沿って延び前記第2シートの前記第1端縁に対向する第2端縁とを接合して第2接合部分を形成し、前記長手方向の両端が開口する管状パックを形成することと、前記第2シートの前記第1主面を前記第1シートに対向させるように前記管状パックを裏返し、前記凸部を前記第2主面側へ窪んだ状態に変形させて凹状の収容部を形成し、前記凹部を前記第1主面側へ突出した状態に変形させて凸状の仕切り部を形成して、外装パックを形成することと、前記両端の少なくとも一方の開口された隙間から前記外装パックの内部に保冷剤を充填して、前記複数の収容部のそれぞれに前記保冷剤を収容することとを備え、前記第1接合部分及び前記第2接合部分は、前記管状パックの形成時には、前記管状パックの外部に位置し、前記外装パックの形成時には、前記外装パックの内部に位置する。
【発明の効果】
【0008】
前記冷却具及び前記冷却具の製造方法によれば、冷却具の生体への肌当たりが良好となる。
【図面の簡単な説明】
【0009】
図1は、冷却具の正面図である。
図2は、冷却具の背面図である。
図3は、図1のIII-III線における冷却具の断面図である。
図4は、図1のIV-IV線における冷却具の断面図である。
図5は、図1のV-V線における冷却具の断面図である。
図6は、図1のVI-VI線における冷却具の断面図である。
図7は、図6の一部の拡大断面図である。
図8は、冷却具の使用状態を示す概略図である。
図9は、第2シートに接合する前の状態の第1シートを示す概略図である。
図10は、図9のX-X線における断面図である。
図11は、第1シートに接合する前の状態の第2シートを示す概略図である。
図12は、図11のXII-XII線における断面図である。
図13は、第1シートと第2シートを接合した状態を示す管状パックの概略正面図である。
図14は、図13のXIV-XIV線における断面図である。
図15は、図13のXV-XV線における断面図である。
図16は、管状パックを裏返す前の状態を示す概略断面図である。
図17は、管状パックを裏返した後で凸部及び凹部を変形させる前の状態を示す外装パックの概略断面図である。
図18は、管状パックを裏返した後で凸部及び凹部を変形させた後の状態を示す外装パックの概略断面図である。
【発明を実施するための形態】
【0010】
以下、例示的な実施形態を図面に基づいて詳細に説明する。図1は、冷却具100の正面図である。図2は、冷却具100の背面図である。図3は、図1のIII-III線における冷却具100の断面図である。図4は、図1のIV-IV線における冷却具100の断面図である。図5は、図1のV-V線における冷却具100の断面図である。図6は、図1のVI-VI線における冷却具100の断面図である。
(【0011】以降は省略されています)
この特許をJ-PlatPat(特許庁公式サイト)で参照する
関連特許
株式会社TAT
被服
1か月前
株式会社TAT
冷却具及び冷却具の製造方法
1か月前
個人
気泡緩衝材減容装置
2か月前
豊田鉄工株式会社
金型
4か月前
シーメット株式会社
光造形装置
11か月前
CKD株式会社
型用台車
11か月前
株式会社 型善
射出成形型
16日前
東レ株式会社
フィルムの製造方法
4か月前
東レ株式会社
フィルムの製造方法
5か月前
東レ株式会社
フィルムの製造方法
8か月前
グンゼ株式会社
ピン
11か月前
株式会社FTS
ロッド
10か月前
東レ株式会社
フィルムの製造方法。
4か月前
株式会社カワタ
計量混合装置
6か月前
日機装株式会社
加圧システム
7か月前
株式会社エフピコ
賦形シート
1か月前
個人
樹脂可塑化方法及び装置
10か月前
東レ株式会社
複合成形体の製造方法
1か月前
株式会社漆原
シートの成形方法
6か月前
東レ株式会社
樹脂フィルムの製造方法
6か月前
株式会社FTS
成形装置
11か月前
NOK株式会社
樹脂ゴム複合体
3か月前
トヨタ自動車株式会社
射出装置
9か月前
株式会社コスメック
射出成形装置
6か月前
株式会社不二越
射出成形機
6か月前
株式会社日本製鋼所
監視システム
7日前
株式会社FTS
セパレータ
10か月前
株式会社神戸製鋼所
混練機
9か月前
株式会社不二越
射出成形機
3か月前
株式会社不二越
射出成形機
8か月前
株式会社リコー
画像形成システム
12か月前
株式会社不二越
射出成形機
8か月前
株式会社不二越
射出成形機
8か月前
東レ株式会社
炭素繊維シートの製造方法
7か月前
三和合板株式会社
化粧板の製造装置
3か月前
ダイハツ工業株式会社
3Dプリンタ
1か月前
続きを見る
他の特許を見る