TOP
|
特許
|
意匠
|
商標
特許ウォッチ
Twitter
他の特許を見る
10個以上の画像は省略されています。
公開番号
2025160854
公報種別
公開特許公報(A)
公開日
2025-10-23
出願番号
2024094544
出願日
2024-06-11
発明の名称
メモリ装置及びその製造方法
出願人
聯華電子股ふん有限公司
代理人
個人
,
個人
主分類
H10B
41/30 20230101AFI20251016BHJP()
要約
【発明の課題】メモリ装置の動作性能を向上することである。
【解決手段】
メモリ装置は、半導体基板、フローティングゲート、及び消去ゲートを含む。フローティングゲートおよび消去ゲートは、半導体基板の上方に配置され、消去ゲートは、主要部および第1分岐部を含む。主要部は第1水平方向に延在し、第1分岐部は第2水平方向に延在し、主要部に接続される。フローティングゲートの第1部分は、垂直方向に第1分岐部の下に配置される。
【選択図】図1
特許請求の範囲
【請求項1】
半導体基板と、
前記半導体基板の上方に配置されたフローティングゲートと、
前記半導体基板の上方に配置された消去ゲートであって、
第1水平方向に延在する主要部と、
第2水平方向に延在し、前記主要部に結合される第1分岐部であって、前記フローティングゲートの第1部分が、垂直方向に前記第1分岐部の下に配置される前記第1分岐部とを有する消去ゲートと
を有するメモリ装置。
続きを表示(約 1,000 文字)
【請求項2】
前記消去ゲートは、前記第2水平方向に延在し、前記主要部に接続される第2分岐部であって、前記フローティングゲートの第2部分が前記垂直方向に前記第2分岐部の下に配置される第2分岐部をさらに有する、請求項1に記載のメモリ装置。
【請求項3】
前記フローティングゲートの前記第1部分の前記第1水平方向の長さは、前記フローティングゲートの前記第2部分の前記第1水平方向の長さと異なる、請求項2に記載のメモリ装置。
【請求項4】
前記半導体基板の上方に配置されたパターン化マスク層であって、前記フローティングゲートが垂直方向で前記パターン化マスク層と前記半導体基板との間に部分的に配置され、
前記第1水平方向に延在する第1部分と、
前記第2水平方向に延在し、前記パターン化マスク層の前記第1部分に接続された第2部分であって、前記パターン化マスク層の前記第2部分が前記第1水平方向において前記消去ゲートの前記第1分岐部と前記消去ゲートの前記第2分岐部との間に挟まれている第2部分とを有する
前記パターン化マスク層をさらに有する、請求項2に記載のメモリ装置。
【請求項5】
前記パターン化マスク層の前記第2部分の前記第1水平方向の長さは、前記フローティングゲートの前記第1水平方向の長さよりも短い、請求項4に記載のメモリ装置。
【請求項6】
前記フローティングゲートの第3部分は、前記垂直方向に前記消去ゲートの前記主要部の下に配置される、請求項4に記載のメモリ装置。
【請求項7】
前記フローティングゲートの前記第3部分の前記第1水平方向の長さは、前記フローティングゲートの前記第1部分の前記第1水平方向の長さおよび前記フローティングゲートの前記第2部分の前記第1水平方向の長さよりも長い、請求項6に記載のメモリ装置。
【請求項8】
前記フローティングゲートの前記第3部分の前記第1水平方向の長さは、前記パターン化マスク層の前記第2部分の前記第1水平方向の長さよりも長い、請求項6に記載のメモリ装置。
【請求項9】
前記消去ゲートの上面と前記パターン化マスク層の上面とが同一平面にある、請求項4に記載のメモリ装置。
【請求項10】
前記第1水平方向は、前記第2水平方向に直交する、請求項1に記載のメモリ装置。
(【請求項11】以降は省略されています)
発明の詳細な説明
【技術分野】
【0001】
本発明は、メモリ装置及びその製造方法に関し、より具体的には、消去ゲートを含むメモリ装置及びその製造方法に関する。
続きを表示(約 2,000 文字)
【背景技術】
【0002】
半導体メモリ装置は、コンピュータ及び電子産業において、デジタル情報又はデータを保持するための手段として使用される。一般に、半導体メモリ装置は、揮発性メモリ装置と不揮発性メモリ装置とに区分される。電源供給が中断されてもデータを保持することができる不揮発性メモリ装置が広く使用されている。コンピュータマイクロプロセッサがますます強力になるにつれて、メモリ(組み込みメモリなど)に対する要求もますます大きくなっている。しかし、このような内蔵メモリの製造方法及び構造は、チップ上に形成される他の装置の影響を受けやすく、その設計を適宜統合しなければならない。したがって、構造および/または製造方法の設計変更を通じてメモリ装置の動作性能をどのように改善するかが、常に関連業界の目標であった。
【発明の概要】
【0003】
本開示は、メモリ装置及びその製造方法を提供する。メモリ装置の動作性能を向上させるために、分岐部を含む消去ゲートが用いられる。
【0004】
本発明の一実施形態によれば、メモリ装置が提供される。メモリ装置は、半導体基板、フローティングゲート、および消去ゲートを含む。フローティングゲートおよび消去ゲートは、半導体基板の上方に配置され、消去ゲートは、主要部および第1分岐部を含む。前記主要部は第1水平方向に延在し、前記第1分岐部は第2水平方向に延在し、前記主要部と接続されている。フローティングゲートの第1部分は、垂直方向に第1分岐部の下に配置されている。
【0005】
本発明の一実施形態によれば、メモリ装置の製造方法が提供される。この製造方法は、以下の工程を含む。半導体基板が提供され、フローティングゲートおよび消去ゲートが半導体基板の上方に形成される。消去ゲートは、主要部と第1分岐部とを含む。前記主要部は第1水平方向に延在し、前記第1分岐部は第2水平方向に延在し、前記主要部に接続される。フローティングゲートの第1部分は、垂直方向に第1分岐部の下に位置する。
【0006】
本発明のこれらの目的および他の目的は、種々の図面に示される好ましい実施形態に関する以下の詳細な説明を読めば、当業者に疑いなく明らかになる。
【図面の簡単な説明】
【0007】
本発明の第1の実施形態に係るメモリ装置を示す概略図である。
本発明の第1の実施形態に係るメモリ装置を示す断面概略図である。
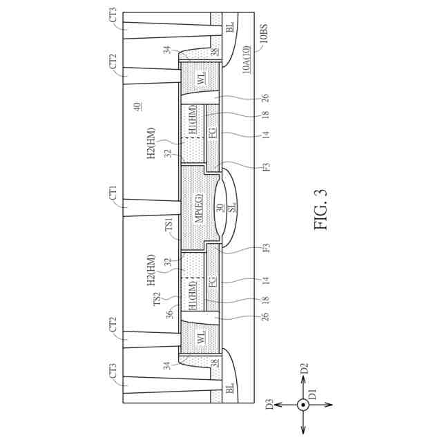
本発明の第1の実施形態に係るメモリ装置を示す別の断面概略図である。
本発明の第1の実施形態に係るメモリ装置を示す更に別の断面概略図である。
本発明の第1の実施形態に係るメモリ装置を示す部分拡大概略図である。
本発明の実施形態に係るメモリ装置の製造方法を示す概略図である。
本発明の実施形態に係るメモリ装置の製造方法を示す概略図(図6に対応する上面概略図)である。
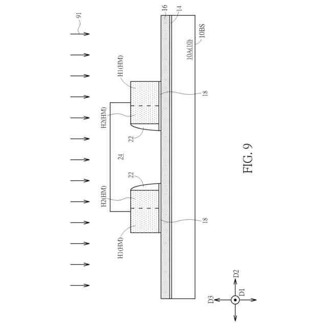
本発明の実施形態に係るメモリ装置の製造方法を示す概略図(図6の次の工程の概略図)である。
本発明の実施形態に係るメモリ装置の製造方法を示す概略図(図8の次の工程の概略図)である。
本発明の実施形態に係るメモリ装置の製造方法を示す概略図(図9の次の工程の概略図)である。
本発明の実施形態に係るメモリ装置の製造方法を示す概略図(図10の次の工程の概略図)である。
本発明の実施形態に係るメモリ装置の製造方法を示す概略図(図11の次の工程の概略図)である。
本発明の第2の実施形態に係るメモリ装置を示す概略図である。
【発明を実施するための形態】
【0008】
本発明は、特定の実施形態およびその具体的な特徴に関して示され、説明される。本明細書において以下に説明される実施形態は、限定ではなく例示として解釈されるべきである。当業者には言うまでもなく、本発明の精神および範囲から逸脱することなく、形態および詳細において様々な変更および修正を行うことができる。
【0009】
好ましい実施形態をさらに説明する前に、本文全体を通して使用される用語を以下に説明する。
【0010】
本明細書で使用される用語「上に(on)」、「上方に(above)」、および「上方に(over)」は、「上に(on)」が、何かの「直接上に」を意味するだけでなく、介在物またはその間の層を伴って何かの「上に」の意味も含み、「上方に(above)」または「上方に(over)」は、何かの「上方に」または「上に」の意味だけでなく、介在物またはその間の層を伴わずに何かの「上方に」または「上に」(すなわち、直接何かの上に)あるという意味も含むように、最も広い態様で解釈されるべきである。
(【0011】以降は省略されています)
この特許をJ-PlatPat(特許庁公式サイト)で参照する
関連特許
個人
半導体装置
24日前
エイブリック株式会社
半導体装置
1か月前
東レ株式会社
太陽電池モジュール
24日前
エイブリック株式会社
縦型ホール素子
18日前
エイブリック株式会社
縦型ホール素子
18日前
旭化成株式会社
発光素子
4日前
ローム株式会社
半導体装置
25日前
ローム株式会社
抵抗チップ
9日前
富士通株式会社
半導体装置
23日前
株式会社半導体エネルギー研究所
表示装置
18日前
三菱電機株式会社
半導体装置
3日前
三菱電機株式会社
半導体装置
23日前
富士電機株式会社
半導体装置
15日前
ミツミ電機株式会社
半導体装置
1か月前
ローム株式会社
半導体集積回路
3日前
TDK株式会社
圧電素子
23日前
日亜化学工業株式会社
発光装置
4日前
日亜化学工業株式会社
発光素子
23日前
日亜化学工業株式会社
発光装置
22日前
デクセリアルズ株式会社
受光装置
29日前
TDK株式会社
光検知装置
1か月前
ローム株式会社
半導体装置
10日前
ローム株式会社
窒化物半導体装置
9日前
サンケン電気株式会社
半導体装置
29日前
富士電機株式会社
半導体装置の製造方法
17日前
ローム株式会社
半導体装置
8日前
株式会社半導体エネルギー研究所
発光デバイス
2日前
ローム株式会社
窒化物半導体装置
18日前
沖電気工業株式会社
発光装置及び表示装置
24日前
大日本印刷株式会社
太陽電池
11日前
キオクシア株式会社
記憶装置
29日前
内山工業株式会社
太陽電池
29日前
株式会社カネカ
太陽電池モジュール
22日前
株式会社MARUWA
発光装置及び照明器具
22日前
サンケン電気株式会社
発光装置
22日前
日本電気株式会社
超伝導量子回路装置
23日前
続きを見る
他の特許を見る