TOP
|
特許
|
意匠
|
商標
特許ウォッチ
Twitter
他の特許を見る
10個以上の画像は省略されています。
公開番号
2025160328
公報種別
公開特許公報(A)
公開日
2025-10-22
出願番号
2025124257,2021577848
出願日
2025-07-24,2020-07-01
発明の名称
風力タービンを組み立てる為の吊り上げ設備
出願人
デルタ ラボラトリーズ ホールディング ビー.ブイ.
代理人
個人
主分類
B66C
23/52 20060101AFI20251015BHJP(巻上装置;揚重装置;牽引装置)
要約
【課題】より軽量で、よって動作するのに必要とするエネルギーがより少ないことがありうる、構成部品、例えば海上風力タービンブレード、を吊り上げる為の吊り上げ設備を提供する。
【解決手段】海上風力タービンブレードを吊り上げる為の吊り上げ設備であって、第1の多角形として配置されたケーブル取り付け点191、192、193のセットを備えているグリッパ取り付け部150と、第2の多角形として配置された複数のケーブルガイド要素を備えている船取り付けモジュールと、前記ケーブル取り付け点と前記ケーブルガイド要素との間に渡された複数のケーブルと、前記複数のケーブル141、142、143、144のうち少なくとも2本のケーブルの渡された長さを制御することにより、作業空間内で前記グリッパ取り付け部の位置及び/又は向きを制御する為の制御システムとを備えている、前記吊り上げ設備。
【選択図】図1B
特許請求の範囲
【請求項1】
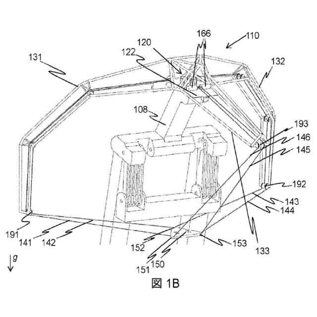
積荷(102)及び特に海上風力タービンブレードを吊り上げる為の吊り上げ設備(110)であって、
前記積荷に連結されるように構成され、複数のケーブル取り付け点(151、152、153)を備えているグリッパ取り付け部(150)と;
船(101) に連結されるように構成された船取り付けモジュールであって、クレーン(107)のブーム(108)に連結されるように構成された複数のアーム(131、132、133)を備えている前記船取り付けモジュールと、ここで複数のケーブルガイド要素(191、192、193)が、前記複数のアームの遠位端に設けられている;
前記ケーブル取り付け点と前記ケーブルガイド要素との間に渡された複数のケーブル(141、142、143、144、145、146)と;
前記ケーブル取り付け点と前記ケーブルガイド要素との間の前記複数のケーブルのうち少なくとも2本のケーブルの渡された長さを制御することにより、作業空間(180)内で前記グリッパ取り付け部の位置及び/又は向きを制御する為の制御システムと
を備えている、前記吊り上げ設備(110)。
続きを表示(約 1,300 文字)
【請求項2】
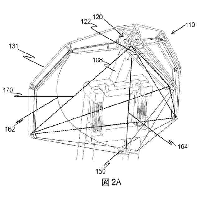
前記複数のアーム(131、132、133)が、非ゼロの体積を持つ多面体を画定する、請求項1に記載の吊り上げ設備(110)。
【請求項3】
前記複数のアーム(131、132、133)が少なくとも3つのアームを含み、前記複数のアームのうちの第1のアーム(133)が、前記複数のアームのうちの第2のアーム(131)及び第3のアーム(132)が広がる平面に対してある角度で少なくとも部分的に方向付けされている、請求項1又は2に記載の吊り上げ設備(110)。
【請求項4】
前記複数のアーム(131、132、133)が、実質的に等しいサイズの2つのアーム(131、132)と、前記実質的に等しいサイズの2つのアームと異なるサイズの1つのアーム(133)とを備えている、請求項1~3のいずれか1項に記載の吊り上げ設備(110)。
【請求項5】
クレーン(107)をさらに備えており、前記クレーンが、前記クレーンを船(101)に連結するように構成されたクレーンベース(600)を備えており、且つ、前記クレーンベースから延びるブーム(108)をさらに備えている、請求項1~4のいずれか1項に記載の吊り上げ設備(110)。
【請求項6】
前記船取り付けモジュールが、
ブーム取り付けモジュール(122)を備えているベース(120)と、ここで、前記ブーム取り付けモジュールが、前記ベースをクレーン(107)のブーム(108)に連結するように構成されている、を備えており;且つ、
ここで、前記複数のアーム(131、132、133)が前記ベースから延びており、且つ、各アームが、近位端において前記ベースに連結されている;
ここで、前記ケーブルガイド要素(191、192、193)が、前記複数のアームの遠位端に設けられている、請求項1~5のいずれか1項に記載の吊り上げ設備(110)。
【請求項7】
前記複数のアーム(131, 132, 133)の前記遠位端と、前記ベース(120)とが、角錐を画定する、請求項6に記載の吊り上げ設備(110)。
【請求項8】
前記複数のケーブル(141、142、143、144、145、146)が、ケーブルの複数の対を含み、ケーブルの各対が1つのアームの遠位端から吊り下げられている、請求項1~7のいずれか1項に記載の吊り上げ設備(110)。
【請求項9】
ケーブル(141、142)の1つの対の第1のケーブル(141)が、前記グリッパ取り付け部(150)の第1の頂点に対応するケーブル取り付け点(151)に連結され、ケーブルの前記対の第2のケーブル(142)が、前記グリッパ取り付け部の第2の頂点のケーブル取り付け点(152)に連結されている、請求項7又は8に記載の吊り上げ設備(110)。
【請求項10】
前記複数のアーム(131、132、133)が、実質的に等しいサイズの2つのアーム(131、132)と、前記実質的に等しいサイズの2つのアームと異なるサイズの1つのアーム(133)とを備えている、請求項1~9のいずれか1項に記載の吊り上げ設備(110)。
(【請求項11】以降は省略されています)
発明の詳細な説明
【技術分野】
【0001】
本発明は、海上風力タービンブレードを吊り上げる為の吊り上げ設備(hoisting arrangements)の分野に関する。
続きを表示(約 2,100 文字)
【背景技術】
【0002】
海上風力タービンの設置は複雑なことである。1つには、構成部品(components)、例えばナセル及びタービンブレード、が設置船(installation vessel)の甲板から、クレーンによって、高い高さまで、例えば150メートル又はそれ以上まで、持ち上げられなければならない。さらに、該構成部品は、その高さで、該クレーンから吊り下げられた状態で、高精度で組み立てられなければならない。
【0003】
該設置は、海上の環境条件によって、例えば、該設置船に対して及び/又は空中に吊り下げられ、該クレーンによって持ち上げられつつある該構成部品に対して擾乱運動を及ぼしうる風及び波によって、さらに困難にされうる。
【0004】
該設置船を海流及び波の影響から切り離す為に、ジャッキアップ船が使用されうる。しかしながら、ジャッキアップ船は、該船がその上で持ち上げられることができるジャッキアップ脚部の高さの制限に起因して、限られた作業面積及び種々の水の中での限られた可用性を有する。さらに、該脚部の持ち上げは、時間のかかる工程であることがあり、またタービンの横の好適なジャッキアップ位置を見つけることも、問題となることがあり、海洋底の適切性に依存する。
【0005】
該設置船に対する波及び風の影響は、該船をジャッキで上げることによって制限されうるが、全ての要素にかかる風力が、該クレーンから吊り下げられた該構成部品をなおも動かしうる。
【0006】
ジャッキアップ船及び慣用的なクレーンの代替として、動き補償クレーンが使用されうる。そのようなクレーンは、そこから吊り下げられている積荷(load)を実質的に同じ位置に保つのに対し、該クレーンのベースは、少なくとも幾つかの自由度について該船に剛直に取り付けられている為、風及び波によって引き起こされる該船の移動と共に移動する。しかしながら、そのような動き補償クレーンは、重く、動作するのに多くのエネルギーを必要とし、及び/又は、特に垂直方向の範囲において限られた作業範囲を有しうる。
【発明の概要】
【発明が解決しようとする課題】
【0007】
より軽量で、よって動作するのに必要とするエネルギーがより少ないことがありうる、構成部品、例えば海上風力タービンブレード、を吊り上げる為の吊り上げ設備を提供することが好ましい。また、より高速な動き補償が可能となる吊り上げ設備を提供することも好ましい。より長い垂直方向距離がカバーされることができる吊り上げ設備を提供することが好ましい。
【課題を解決するための手段】
【0008】
第1の観点は、海上風力タービンブレードを吊り上げる為の吊り上げ設備であって、該風力タービンブレードに連結されるように構成され、第1の多角形として配置されたケーブル取り付け点(cable attachment point)のセットを備えている、グリッパ取り付け部と、船に連結されるように構成され、第2の多角形として配置された複数のケーブルガイド要素を備えている、船取り付けモジュールと、該ケーブル取り付け点と該ケーブルガイド要素との間に渡された複数のケーブルと、該ケーブル取り付け点と該ケーブルガイド要素との間の該複数のケーブルのうち少なくとも2本のケーブルの渡された長さを制御することにより、作業空間内で該グリッパ取り付け部の位置及び/又は向きを制御する為の制御システムと、を備えている上記吊り上げ設備、を提供する。好ましくは、該複数のケーブルのうち少なくとも4本のケーブル、又はより好ましくは全てのケーブル、の渡された長さが制御されることができる。
【0009】
該グリッパ取り付け部は、吊り上げ対象の構成部品、例えば該風力タービンブレード、に連結されるように構成される。この連結は好ましくは剛直である。該連結は、直接の連結でありうる。代替的には、1以上の追加的な構成部品、例えばグリッパ、が該グリッパ取り付け部と、吊り上げられる対象の該構成部品との間に設けられうる。そのようなグリッパは、一方における該グリッパ取り付け部と、他方における、吊り上げ可能な別の構成部品との間のより容易な連結を可能にしうる。
【0010】
該船取り付けモジュールは、該船に連結されるように構成される。この連結は、剛直であってもよく、又は1以上の自由度を有していてもよい。後者の場合、該1以上の自由度を制御する為に、1以上のアクチュエータ、ばね及び/又はダンパが設けられうる。該船と該船取り付けモジュールとの間の該連結は、該船上の単一の点における該船の単一の構成部品(例えば該甲板又はクレーン)への連結、該船の複数の点への連結、又は複数の構成部品への連結、又はそれらの任意の組み合わせの間でありうる。該船取り付けモジュールと該船との間の該連結は、ボルト、溶接、任意の他の連結方法、又はそれらの任意の組み合わせを使用して達成されうる。
(【0011】以降は省略されています)
この特許をJ-PlatPat(特許庁公式サイト)で参照する
関連特許
個人
自走手摺
3か月前
個人
転落防止階段
6日前
ユニパルス株式会社
吊具
5か月前
個人
小型クレーン
今日
個人
海上コンテナ昇降装置
10か月前
ユニパルス株式会社
吊具装置
11か月前
ユニパルス株式会社
荷役装置
10か月前
株式会社いうら
車椅子用昇降機
3か月前
水戸工業株式会社
吊り具
7か月前
株式会社豊田自動織機
荷役車両
10か月前
ユニパルス株式会社
リフト装置
5か月前
株式会社豊田自動織機
産業車両
1か月前
株式会社豊田自動織機
荷役車両
9か月前
株式会社豊田自動織機
産業車両
11か月前
ユニパルス株式会社
荷役助力装置
3か月前
愛知製鋼株式会社
受け架台
2か月前
白山工業株式会社
バランサ
7か月前
個人
垂直自動搬送機
1か月前
株式会社伊藤
滑り止め装置
3か月前
ユニパルス株式会社
荷役助力装置
6か月前
個人
エアバック式レスキュー用品
29日前
株式会社大林組
安全支援システム
2か月前
大栄産業株式会社
クランプ
5か月前
岐阜工業株式会社
運搬台車
7日前
ユニパルス株式会社
荷役助力装置
5か月前
株式会社キトー
タイヤ用吊具
6か月前
株式会社ユピテル
システム等
6か月前
株式会社豊田自動織機
フォークリフト
8か月前
大和ハウス工業株式会社
吊上具
2か月前
株式会社豊田自動織機
フォークリフト
1か月前
株式会社五十鈴製作所
搬送装置
5か月前
中国計量大学
電子安全クランプ
1か月前
フジテック株式会社
エレベータ
9か月前
新英運輸株式会社
自動車用台車
6か月前
フジテック株式会社
エスカレータ
7か月前
有限会社サエキ
玉掛用器具
10か月前
続きを見る
他の特許を見る