TOP
|
特許
|
意匠
|
商標
特許ウォッチ
Twitter
他の特許を見る
10個以上の画像は省略されています。
公開番号
2025160288
公報種別
公開特許公報(A)
公開日
2025-10-22
出願番号
2025122308,2023132583
出願日
2025-07-22,2016-12-02
発明の名称
血液検査システムおよび方法
出願人
ツェー アー カズィゾ ゲーエムベーハー
代理人
弁理士法人谷・阿部特許事務所
主分類
G01N
35/10 20060101AFI20251015BHJP(測定;試験)
要約
【課題】血液凝固検査システムの提供。
【解決手段】血液凝固検査システムのいくつかの実施形態は、アナライザコンソールデバイスと、コンソールデバイスの中へ取り外し可能に据え付けるように構成されている使い捨てのカートリッジコンポーネントとを含み、いくつかの実施形態では、血液凝固検査システムは、例えば、ポイントオブケア現場においてとりわけ有用な自動化されたトロンボエラストメトリシステムとして動作することができる。
【選択図】図8A
特許請求の範囲
【請求項1】
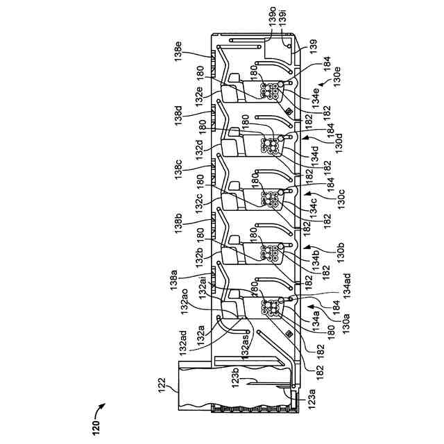
アナライザコンソール(140)を利用するためのカートリッジ(120)であって、前記カートリッジ(120)は、
テストされる血液サンプルを受容するように構成された血液サンプルレシーバ(122)と、
血液処理および検査経路(130a、130b、130c、130d、130e)であって、 前記血液処理および検査経路(130a、130b、130c、130d、130e)のそれぞれは、前記血液サンプルの一部分を受容するように構成され、前記血液処理および検査経路(130a、130b、130c、130d、130e)は、
前記血液サンプルレシーバ(122)と流体連通し、前記血液サンプルの前記部分を含むための選択された内部体積を有する測定チャンバ(132a、132b、132c、132d、132e)と、
前記測定チャンバ(132a、132b、132c、132d、132e)と流体連通する混合チャンバ(134a、134b、134c、134d、134e)であって、試薬を含む混合チャンバ(134a、134b、134c、134d、134e)と、
血液検査チャンバ(136a、136b、136c、136d、136e)であって、前記血液サンプルの部分と前記試薬とをもとにした混合物を受容して、前記血液検査チャンバ内で前記混合物をテストさせるように構築された血液検査チャンバ(136a、136b、136c、136d、136e)と、
前記測定チャンバ、前記混合チャンバ、および前記血液検査チャンバと流体的に接続するダクトと、
を備え、
前記混合物を生成するために混合することは、前記混合チャンバ(134a、134b、134c、134d、134e)と、前記混合チャンバのダクト上流内とで行われる血液処理および検査経路(130a、130b、130c、130d、130e)、
カートリッジ(120)、
血液処理および検査経路の測定チャンバ(132e)と流体的に接続するチャネルであって、前記チャネルは、前記測定チャンバ(132e)から前記検査サンプルの一部を受容するように構成されるチャネル、ならびに
前記カートリッジの血液検出場所(127b)であって、前記血液サンプルの前記部分の存在を測定することができるように、前記アナライザコンソールのセンサとともに使用される、血液検出場所、
を備えるカートリッジ(120)。
続きを表示(約 1,400 文字)
【請求項2】
前記測定チャンバ(132a、132b、132c、132d、132e)から前記混合チャンバ(134a、134b、134c、134d、134e)までの前記血液サンプルの前記部分の前記流れを調整するように、前記測定チャンバ(132a、132b、132c、132d、132e)および前記混合チャンバ(134a、134b、134c、134d、134e)との間にストップジャンクション(132as)をさらに備える請求項1に記載のカートリッジ(120)。
【請求項3】
正の圧力が印加されることにより、前記測定チャンバ(132a、132b、132c、132d、132e)および前記混合チャンバ(134a、134b、134c、134d、134e)と接続するダクト内の前記ストップジャンクションを通って前記血液サンプルの部分が流れる、請求項2に記載のカートリッジ(120)。
【請求項4】
前記血液処理および検査経路(130a、130b、130c、130d、130e)のそれぞれのための前記混合チャンバ(134a、134b、134c、134d、134e)および前記血液検査チャンバ(136a、136b、136c、136d、136e)は、他の血液処理および検査経路(130a、130b、130c、130d、130e)のための前記混合チャンバ(134a、134b、134c、134d、134e)および前記血液検査チャンバ(136a、136b、136c、136d、136e)と平行に接続されている、請求項1~3のいずれか一項に記載のカートリッジ(120)。
【請求項5】
前記混合チャンバ(134a、134b、134c、134d、134e)は、前記測定チャンバ(132a、132b、132c、132d、132e)から受容した前記血液サンプルの部分と接触する、固体状態の試薬ビーズ(180)を含む、請求項1~4のいずれか一項に記載のカートリッジ(120)。
【請求項6】
前記試薬ビーズ(180)は、CaCl2、エラグ酸/リン脂質、組織因子、ヘパリナーゼ、ポリブレン、サイトカラシンD、またはトラネキサム酸の一つ以上を含む試薬組成物を含む、請求項5に記載のカートリッジ(120)。
【請求項7】
前記測定チャンバ(132a、132b、132c、132d、132e)は、前記測定チャンバ(132a、132b、132c、132d、132e)の底部に出口ポートを備える、請求項1~6のいずれか一項に記載の記載のカートリッジ(120)。
【請求項8】
前記測定チャンバ(132a、132b、132c、132d、132e)は、前記測定チャンバ(132a、132b、132c、132d、132e)の上部近くに移送ポートを備える、請求項1~7のいずれか一項に記載のカートリッジ(120)。
【請求項9】
前記試薬は試薬ビーズを含む、請求項1に記載のカートリッジ(120)。
【請求項10】
圧力印加ポート(164)をさらに備え、前記圧力印加ポート(164)は、混合チャンバ(134a)へ圧力をかける圧力供給源と連結する、請求項1~9のいずれか一項に記載のカートリッジ(120)。
(【請求項11】以降は省略されています)
発明の詳細な説明
【技術分野】
【0001】
本文献は、ポイントオブケア全血液凝固分析のための自動化されたトロンボエラストメトリシステムなどの、血液サンプルの特性を検査するためのシステムおよび方法に関する。
続きを表示(約 3,500 文字)
【背景技術】
【0002】
関連出願の相互参照
本出願は、2015年12月3日に出願された米国特許出願第14/958,890号明細書の利益を主張し、それは、2014年9月29日に出願された米国特許出願第14/500,248号明細書の一部継続出願であり、すべての目的のために、その全体が参照により本明細書に組み込まれている。
【0003】
止血は、血管損傷および出血に対する人体の反応である。止血は、血小板と多数の血液凝固タンパク質(または、凝血因子)の間の協調努力を伴い、凝血塊の形成、および、その後の出血の停止を結果として生じさせる。
【0004】
様々な方法が、十分な凝血塊を形成するための血液の可能性を評価するために、および、凝血塊の安定性を決定するために導入されてきた。血小板算定またはフィブリン濃度の決定などの、共通の実験室テストは、テストされた成分が十分な量で利用可能であるかどうかということについての情報を提供するが、それらのテストのいくつかは、テストされた成分が生理学的な条件下で適正に働いているかどうかという質問に答えられない可能性がある。他の実験室テストは、血漿に働きかけており、それは、例えば、ポイントオブケアの文脈において(例えば、外科手術の間の手術室内で)好適なものを超える追加的な準備ステップおよび追加的な時間を課す可能性がある。
【0005】
十分な凝血塊を形成するための血液の可能性を評価するテストの別のグループは、「粘弾性方法」として知られている。少なくともいくつかの粘弾性方法において、凝血塊硬度(または、それに依存する他のパラメータ)が、例えば、第1のフィブリン線維の形成から線維素溶解による凝血塊の溶解まで、所定の期間にわたって決定される。凝血塊は血管損傷または切開の現場において血圧および剪断応力に抵抗しなければならないので、凝血塊硬度は生体内での止血に貢献する機能的なパラメータである。多くのケースでは、凝血塊硬度は、凝固活性化、トロンビン形成、フィブリン形成および重合、血小板活性化、ならびに、フィブリン-血小板相互作用を含む、複数の関連し合うプロセスから結果として生じ得る。
【発明の概要】
【発明が解決しようとする課題】
【0006】
血液サンプル中の血小板、フィブリノゲン、および他の因子の特定の機能を隔離およびテストするために、試薬化合物は、血液サンプルと混合され、血液サンプル中の特定の成分を活性化または阻害することができる。いくつかの市販のポイントオブケア血液検査システムでは、液体試薬が、血液サンプルを含有する使い捨てのプラスチックカップの中へ注入され、次いで、カップが、血液検査システムの制御コンソールによって係合され、血液サンプルの凝固/凝血の特性を評価する。テストプロセスの一部として、システムは、例えば、試薬、血液、および、混合されたサンプルをディスペンスおよび測定するために、ピペットがオペレータによって使用されるときなどに、アッセイのそれぞれに関して、オペレータによる手動の介入を必要とする。
【課題を解決するための手段】
【0007】
血液サンプル(それは、本明細書で使用されているように、血液または血漿などの血液製剤を含むと理解すべきである)の特性をテストするためのシステムのいくつかの実施形態はカートリッジを含むことが可能であり、カートリッジは制御コンソールと嵌合するように構成されており、また、ポイントオブケア全血液凝固分析のための血液サンプルを受け入れるように構成されている。特定の状況では、カートリッジは制御コンソールと相互作用するように構成されており、血液サンプルの一部分に対して、複数の自動化された輸送および検査動作を実施するようになっており、ポイントオブケアにおいて(例えば、患者が、外科室内で外科手術を受けている間に)患者の血液特性を示す信頼性の高い迅速な結果を提供する。例えば、システムは、自動化された検査プロセスを始めるために、カートリッジ(および、カートリッジにおける血液サンプル)およびオペレータからのインディケーションを受け取ることに応答して、血液凝固特性の詳細かつ迅速な結果を提供するための自動化されたトロンボエラストメトリシステムとしての役割を果たすことができる。
【0008】
いくつかの実施形態では、トロンボエラストメトリシステムは、再使用可能なアナライザコンソールと、コンソールと嵌合するように構成された1つまたは複数の使い捨てのカートリッジコンポーネントとを含む。1つの例では、トロンボエラストメトリシステムを動作させるために、ユーザは、カートリッジをアナライザコンソールの中へ挿入し、そして、アナライザコンソールによってプロンプトが表示されると、血液収集チューブ(全血液サンプルを含有する)をカートリッジのレシーバ部分の中へ挿入する。次いで、ユーザは、アナライザコンソールのユーザーインターフェースによってプロンプトが表示され、複数の自動化された血液の移送および検査の動作を開始させる。その後に、アナライザコンソールは、自動的に(カートリッジまたは血液サンプルとのさらなるユーザ相互作用を必要とすることなく)検査を実施し、定性的なグラフィック表現および定量的なパラメータを使用して、グラフィックディスプレイの上に結果を表示する。この特定の例では、ユーザによる試薬の手動のピペット操作、混合、またはハンドリングは必要とされない。いくつかの実施形態では、4つ以上のアッセイが、単一のカートリッジデバイスを使用して、血液サンプルの上で自動的に実施される。そのようなアッセイは、凝血時間、凝血塊形成、凝血塊の安定性、および溶解などの、止血の全体の動態に関する情報を提供する。そのうえ、そのような情報は、システムのユーザーインターフェースから迅速に出力され、ポイントオブケアにおいて(例えば、患者が、外科室内で外科手術を受けている間に)患者の血液特性を示す信頼性の高い迅速な結果を提供することができる。
【0009】
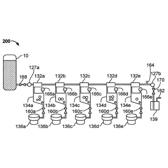
本明細書で説明される特定の実施形態は、血液検査コンソールとともに使用するためのカートリッジを含む。カートリッジは血液サンプルレシーバを含むことが可能であり、血液サンプルレシーバは、テストされることになる血液サンプルを受け入れるように構成されている。また、カートリッジは、1つまたは複数の血液処理および検査経路を含むことができる。それぞれの血液処理および検査経路は、血液サンプルの一部分を受け入れることが可能であり、また、血液サンプル体積測定チャンバ、混合チャンバ、および粘弾性血液検査チャンバを含むことができる。血液サンプル体積測定チャンバは血液サンプルレシーバと流体連通していることが可能であり、血液サンプル体積測定チャンバは、血液サンプルコンテナからの所定の体積の血液サンプルを含有するように、選択された内部体積とすることができる。混合チャンバは血液サンプル体積測定チャンバと流体連通し、また、試薬と流体連通していることが可能であり、混合チャンバは、血液サンプル体積測定チャンバから血液サンプルを受け入れ、受け入れられた血液を試薬と混合するように構成され得る。粘弾性血液検査チャンバは混合された血液および試薬を混合チャンバから受け入れるように構成され、混合された血液および試薬が検査チャンバの中に存在する間、混合された血液および試薬に対して粘弾性テストが実施される。
【0010】
本明細書で説明されるいくつかの実施形態では、カートリッジデバイスは、血液サンプルレシーバと、血液サンプルレシーバと選択的に流体連通している複数の血液サンプル経路を含むことができる。それぞれの血液サンプル経路は、血液サンプルレシーバを介して所定量の血液サンプルを受け入れるための血液測定チャンバと、所定量の血液サンプルを受け入れ1つまたは複数の試薬と混合するための試薬混合チャンバと、血液サンプルを、1つまたは複数の試薬がそれと混合されている状態で試薬混合チャンバから受け入れるための血液凝固血液検査チャンバを含むことができる。オプションで、血液凝固血液検査チャンバは、血液凝固特性を測定するための可動プローブをその中に有することができる。
(【0011】以降は省略されています)
この特許をJ-PlatPat(特許庁公式サイト)で参照する
関連特許
個人
採尿及び採便具
9日前
日本精機株式会社
検出装置
3日前
個人
高精度同時多点測定装置
24日前
個人
アクセサリー型テスター
25日前
株式会社ミツトヨ
測定器
15日前
甲神電機株式会社
電流検出装置
3日前
アズビル株式会社
電磁流量計
18日前
トヨタ自動車株式会社
監視装置
1か月前
ダイキン工業株式会社
監視装置
29日前
長崎県
形状計測方法
25日前
ローム株式会社
半導体装置
23日前
愛知電機株式会社
軸部材の外観検査装置
12日前
個人
非接触による電磁パルスの測定方法
1日前
双庸電子株式会社
誤配線検査装置
4日前
日本信号株式会社
距離画像センサ
1日前
大和製衡株式会社
組合せ計量装置
12日前
大和製衡株式会社
組合せ計量装置
12日前
個人
システム、装置及び実験方法
18日前
TDK株式会社
磁気センサ
1か月前
愛知時計電機株式会社
ガスメータ
15日前
ローム株式会社
半導体装置
23日前
日本特殊陶業株式会社
センサ
29日前
日本特殊陶業株式会社
センサ
29日前
三恵技研工業株式会社
融雪レドーム
1か月前
日本特殊陶業株式会社
センサ
29日前
日本特殊陶業株式会社
センサ
15日前
株式会社デンソー
電流センサ
23日前
中国電力株式会社
電柱管理システム
29日前
トヨタ自動車株式会社
測定システム
22日前
株式会社不二越
X線測定装置
1日前
ダイハツ工業株式会社
移動支援装置
1か月前
日東精工株式会社
振動波形検査装置
4日前
日本特殊陶業株式会社
センサ
29日前
日本特殊陶業株式会社
センサ
29日前
多摩川精機株式会社
冗長エンコーダ
1か月前
コイト電工株式会社
座席濡れ検知装置
29日前
続きを見る
他の特許を見る