TOP
|
特許
|
意匠
|
商標
特許ウォッチ
Twitter
他の特許を見る
公開番号
2025159903
公報種別
公開特許公報(A)
公開日
2025-10-22
出願番号
2024062753
出願日
2024-04-09
発明の名称
インクジェット記録装置
出願人
京セラドキュメントソリューションズ株式会社
代理人
弁理士法人 佐野特許事務所
主分類
B41J
2/01 20060101AFI20251015BHJP(印刷;線画機;タイプライター;スタンプ)
要約
【課題】静電吸着方式によって用紙を搬送する際に発生する紙粉によるノズル詰まりや搬送ベルトの汚染を効果的に抑制可能なインクジェット記録装置を提供する
【解決手段】インクジェット記録装置は、搬送ベルトに用紙を静電吸着させて搬送する搬送部と、搬送ベルトの搬送面に対向配置される記録ヘッドを有する記録部と、記録ヘッドのインク吐出面に装着されるキャップと、キャップの内側の空気を吸引する吸引ポンプと、インク排出流路と、除電装置と、制御部と、異物吸引流路と、を備える。除電装置は、ロール状の除電ブラシと、除電ブラシを搬送ベルトの移動方向に対して順方向に回転させるブラシ駆動モーターと、除電ブラシの搬送ベルトと反対側を覆うダクトと、除電ブラシに付着した異物を掻き落とすスクレーパーと、を有する。異物吸引流路は、ダクトと吸引ポンプとを連通し、吸引ポンプおよび異物吸引流路を用いてダクト内の異物を回収する。
【選択図】図4
特許請求の範囲
【請求項1】
無端状の搬送ベルトに用紙を静電吸着させて搬送する搬送部と、
前記搬送ベルトの搬送面に対向配置される記録ヘッドを有し、前記記録ヘッドのインク吐出口から前記搬送ベルトによって搬送される前記用紙にインクを吐出する記録部と、
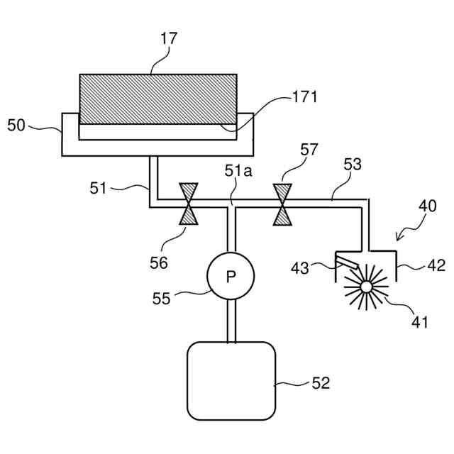
前記記録ヘッドのインク吐出面に装着され、前記インク吐出面との間に密閉空間を形成するキャップと、
前記キャップの内側の空気を吸引する吸引ポンプと、
前記吸引ポンプによって前記キャップの内側に吸引された液体を排出するインク排出流路と、
前記用紙の搬送方向に対し前記記録部の上流側に配置され、前記用紙の電荷を除去する除電装置と、
前記搬送部、前記記録部、吸引ポンプ、前記除電装置の動作を制御する制御部と、
を備えたインクジェット記録装置において、
前記除電装置は、
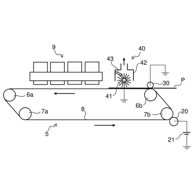
前記搬送ベルトの前記搬送方向と直交する幅方向全域に亘って対向配置され、前記搬送ベルトによって搬送される前記用紙に接触するロール状の除電ブラシと、
前記除電ブラシを前記搬送ベルトの移動方向に対して順方向に回転させるブラシ駆動モーターと、
前記除電ブラシの前記搬送ベルトと反対側を覆い、前記除電ブラシと前記用紙または前記搬送ベルトとの接触により発生する異物を吸引するダクトと、
前記ダクトの内側面から前記除電ブラシに接触するように突設され、前記除電ブラシに付着した前記異物を掻き落とすスクレーパーと、
を有し、
前記ダクトと前記吸引ポンプとを連通する異物吸引流路を備え、前記吸引ポンプおよび前記異物吸引流路を用いて前記ダクト内の前記異物を回収することを特徴とするインクジェット記録装置。
続きを表示(約 750 文字)
【請求項2】
前記異物吸引流路は、前記液体の排出方向に対し前記吸引ポンプの上流側において前記インク排出流路に合流しており、
前記キャップと前記吸引ポンプの間の前記インク排出流路を開閉する第1開閉弁と、
前記ダクトと前記吸引ポンプの間の前記異物吸引流路を開閉する第2開閉弁と、
を備え、
前記制御部は、
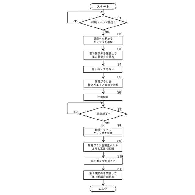
前記用紙への画像記録時に前記第1開閉弁を閉鎖し、前記第2開閉弁を開放した状態で前記吸引ポンプを駆動させることにより、前記ダクト内の前記異物を回収し、
前記用紙への非画像記録時に前記インク吐出面に前記キャップを装着し、前記第1開閉弁を開放し、前記第2開閉弁を閉鎖した状態で前記吸引ポンプを駆動させることにより、前記密閉空間内の空気を吸引する吸引パージ処理を実行可能であることを特徴とする請求項1に記載のインクジェット記録装置。
【請求項3】
前記制御部は、前記ブラシ駆動モーターの駆動を制御することにより、前記用紙への画像記録時に前記除電ブラシを前記搬送ベルトの移動速度と等速で回転させることを特徴とする請求項1に記載のインクジェット記録装置。
【請求項4】
前記制御部は、前記ブラシ駆動モーターの駆動を制御することにより、前記用紙への画像記録の終了後に、前記除電ブラシを前記搬送ベルトの移動速度よりも高速で回転させる異物除去動作を実行することを特徴とする請求項1に記載のインクジェット記録装置。
【請求項5】
前記搬送方向に対し前記除電装置の上流側に配置され、前記用紙を前記搬送ベルトに押し付ける吸着ローラーを備えることを特徴とする請求項1乃至請求項4のいずれかに記載のインクジェット記録装置。
発明の詳細な説明
【技術分野】
【0001】
本発明は、記録ヘッドに設けられたインク吐出ノズルからインクを吐出して記録を行うインクジェット記録装置に関するものである。
続きを表示(約 2,100 文字)
【背景技術】
【0002】
ファクシミリ、複写機、プリンターのような記録装置として、記録ヘッドに設けられたノズルからインクを吐出して画像を形成するインクジェット記録装置が、高精細な画像を形成できることから広く用いられている。
【0003】
このようなインクジェット記録装置では、記録媒体として使用される用紙を搬送する方法として静電吸着方式が知られている。静電吸着方式は、樹脂製の搬送ベルトを帯電手段で帯電させることで、用紙がベルトに押し当てられた際に用紙の内部が分極することで生じる静電気力によって用紙を吸着する。このとき、用紙の搬送ベルトとの対向面(吸着面)とは反対側の面を、搬送方向と直交する方向に沿って配置した導電性の除電ブラシ等の除電部材を用いて除電することで吸着力が増加することが知られている。
【0004】
しかし、除電部材が用紙を擦ることで発生する紙粉が記録ヘッドのノズル面に付着し、ノズルに詰まることでノズルの吐出不良(抜けピン)が発生し、画像品質を低下させるという問題があった。
【0005】
そこで、紙粉によるノズルの目詰まりを抑制する方法が種々提案されており、例えば特許文献1には、搬送方向と交差する方向を含む移動経路上を移動可能な除電ブラシと、除電ブラシに接触可能な掻き取り部材と、を備えたインクジェット記録装置が開示されている。除電ブラシの移動経路は湾曲経路を含み、掻き取り部材は湾曲経路に位置する除電ブラシに接触可能であり、掻き取り部材により掻き出された異物を吸引するダクトを備えている。
【先行技術文献】
【特許文献】
【0006】
特開2017-109813号公報
【発明の概要】
【発明が解決しようとする課題】
【0007】
特許文献1の構成では、除電ブラシは搬送方向には移動も回転もしないため、用紙搬送時における紙粉の発生を抑制するためには搬送ベルトの線速を下げるしかない。そのため、画像形成効率(生産性)の低下に繋がるという問題点があった。また、ダクト内の異物を吸引するための専用のファンを設けているため、装置の大型化、高コスト化に繋がるという問題点があった。
【0008】
本発明は、上記問題点に鑑み、静電吸着方式によって用紙を搬送する際に発生する紙粉によるノズル詰まりや搬送ベルトの汚染を効果的に抑制可能なインクジェット記録装置を提供することを目的とする。
【課題を解決するための手段】
【0009】
上記目的を達成するために本発明の第1の構成は、搬送部と、記録部と、キャップと、吸引ポンプと、インク排出流路と、除電装置と、制御部と、異物吸引流路と、を備えたインクジェット記録装置である。搬送部は、無端状の搬送ベルトに用紙を静電吸着させて搬送する。記録部は、搬送ベルトの搬送面に対向配置される記録ヘッドを有し、記録ヘッドのインク吐出口から搬送ベルトによって搬送される用紙にインクを吐出する。キャップは、記録ヘッドのインク吐出面に装着され、インク吐出面との間に密閉空間を形成する。吸引ポンプは、キャップの内側の空気を吸引する。インク排出流路は、吸引ポンプによってキャップの内側に吸引された液体を排出する。除電装置は、用紙の搬送方向に対し記録部の上流側に配置され、用紙の電荷を除去する。制御部は、搬送部、記録部、吸引ポンプ、除電装置の動作を制御する。除電装置は、除電ブラシと、ブラシ駆動モーターと、ダクトと、スクレーパーと、を有する。除電ブラシは、ロール状であって搬送ベルトの搬送方向と直交する幅方向全域に亘って対向配置され、搬送ベルトによって搬送される用紙に接触する。ブラシ駆動モーターは、除電ブラシを搬送ベルトの移動方向に対して順方向に回転させる。ダクトは、除電ブラシの搬送ベルトと反対側を覆い、除電ブラシと用紙または搬送ベルトとの接触により発生する異物を吸引する。スクレーパーは、ダクトの内側面から除電ブラシに接触するように突設され、除電ブラシに付着した異物を掻き落とす。異物吸引流路は、ダクトと吸引ポンプとを連通し、吸引ポンプおよび異物吸引流路を用いてダクト内の異物を回収する。
【発明の効果】
【0010】
本発明の第1の構成によれば、印刷動作中に除電ブラシを搬送ベルトの移動方向に対して順方向に回転させることにより、除電ブラシによる用紙の表面の摺擦が抑制される。その結果、不必要な紙粉を発生させることなく用紙の除電を行うことができる。従って、記録部に搬送される用紙からの紙粉の発生を低減することができ、紙粉によるインク吐出口の目詰まりや搬送ベルトの汚染を効果的に抑制することができる。また、搬送ベルトから除去された紙粉は、記録ヘッドの吸引パージ処理を行うための吸引ポンプを用いて吸引される。そのため、紙粉吸引用のポンプを別途設ける必要がなく、部品点数の削減および低コスト化にも寄与する。
【図面の簡単な説明】
(【0011】以降は省略されています)
この特許をJ-PlatPat(特許庁公式サイト)で参照する
関連特許
個人
箔熱転写装置
1か月前
シヤチハタ株式会社
印判
5か月前
東レ株式会社
凸版印刷版原版
10か月前
三菱製紙株式会社
感熱記録材料
11か月前
シヤチハタ株式会社
反転式印判
9か月前
キヤノン株式会社
記録装置
1か月前
独立行政法人 国立印刷局
印刷物
7か月前
三光株式会社
感熱記録材料
6か月前
日本製紙株式会社
感熱記録体
8か月前
株式会社リコー
画像形成装置
1か月前
株式会社リコー
画像形成装置
29日前
株式会社リコー
液体吐出装置
5か月前
独立行政法人 国立印刷局
貼付装置
2か月前
独立行政法人 国立印刷局
貼付機構
2か月前
株式会社リコー
液体吐出装置
5か月前
株式会社リコー
液体吐出装置
8か月前
株式会社リコー
画像形成装置
1か月前
株式会社リコー
液体吐出装置
2か月前
株式会社リコー
印刷システム
1か月前
株式会社リコー
液体吐出装置
6か月前
株式会社リコー
液体吐出装置
8か月前
独立行政法人 国立印刷局
記録媒体
9か月前
株式会社リコー
液体吐出装置
4か月前
株式会社リコー
液体吐出装置
9か月前
キヤノン株式会社
画像形成装置
9か月前
フジコピアン株式会社
熱転写記録媒体
11か月前
理想科学工業株式会社
印刷装置
7か月前
キヤノン株式会社
画像形成装置
9か月前
シャープ株式会社
画像形成装置
10日前
独立行政法人 国立印刷局
潜像形成体
29日前
キヤノン株式会社
印刷制御装置
10か月前
キヤノン株式会社
画像形成装置
4か月前
キヤノン株式会社
画像形成装置
11か月前
キヤノン株式会社
印刷システム
7か月前
ブラザー工業株式会社
プリンタ
2か月前
独立行政法人 国立印刷局
潜像印刷物
2か月前
続きを見る
他の特許を見る