TOP
|
特許
|
意匠
|
商標
特許ウォッチ
Twitter
他の特許を見る
10個以上の画像は省略されています。
公開番号
2025159876
公報種別
公開特許公報(A)
公開日
2025-10-22
出願番号
2024062708
出願日
2024-04-09
発明の名称
容器入り混合米飯及びその製造方法
出願人
東洋ライス株式会社
代理人
弁理士法人柳野国際特許事務所
主分類
A23L
7/10 20160101AFI20251015BHJP(食品または食料品;他のクラスに包含されないそれらの処理)
要約
【課題】冷めても炊きたての美味しさが維持された 玄米米飯を含む、食味に優れた 容器入りの混合米飯及びその製造方法を提供する。
【解決手段】炊飯された玄米の米飯(以下、玄米米飯)と炊飯された精米の米飯(以下、精米米飯)とが封入された容器入り混合米飯であって、前記玄米米飯の黄色度が27以上32以下であり、前記精米米飯の黄色度が22以下であることを特徴とする容器入り混合米飯。前記容器入り混合米飯は、玄米を炊飯して玄米米飯を作製し、精米を炊飯して精米米飯を作製し、米飯温度が75℃以上の前記精米米飯と、前記玄米米飯とを容器に封入することで作製される。
【選択図】図1
特許請求の範囲
【請求項1】
炊飯された玄米の米飯(以下、玄米米飯)と炊飯された精米の米飯(以下、精米米飯)とが封入された容器入り混合米飯であって、
前記玄米米飯の黄色度が27以上32以下であり、
前記精米米飯の黄色度が22以下であること
を特徴とする、容器入り混合米飯。
続きを表示(約 880 文字)
【請求項2】
玄米米飯と精米米飯とが重ねられた状態になっている、玄米米飯と精米米飯とが塊状で隣り合って配置されている又は玄米米飯と精米米飯とが混合された状態になっている、請求項1に記載の容器入り混合米飯。
【請求項3】
玄米米飯と精米米飯とが炊飯後に容器に封入されている、請求項1又は2に記載の容器入り混合米飯。
【請求項4】
混合米飯中の玄米米飯の含有量が70重量%以下である、請求項1又は2に記載の容器入り混合米飯。
【請求項5】
前記玄米が、玄米の表面のロウ層の少なくとも一部以上がなく、その内側の果皮を含む糠層のすべてまたは大半が残存し、玄米粒の表面全面にわたって糠層がむら剥離されていない米である、請求項1又は2に記載の容器入り混合米飯。
【請求項6】
前記玄米が、玄米の表面のロウ層がなく、玄米粒の表面全面にわたって糠層がむら剥離されていなくて、残存する食物繊維が100gあたり1.7g以上含有しており、歩留まり率が97%以上に仕上げられている米(ただし、果皮がすべて除去されたものを除く)である、請求項1又は2に記載の容器入り混合米飯。
【請求項7】
前記精米が、胚芽米、五分づき以上に搗精された米、及び糊粉層の下底部又は糊粉層と亜糊粉層の境界部以下が残存している米からなる群より選ばれる1種以上である、請求項1又は2に記載の容器入り混合米飯。
【請求項8】
前記容器の材質が、プラスチック、紙及び自然素材からなる群より選ばれる1種以上である、請求項1又は2に記載の容器入り混合米飯。
【請求項9】
玄米を炊飯して玄米米飯を作製する工程、
精米を炊飯して精米米飯を作製する工程、
米飯温度が75℃以上の前記精米米飯と、前記玄米米飯とを容器に封入する工程
を有し、
前記玄米米飯の黄色度が27以上32以下であり、かつ前記精米米飯の黄色度が22以下であることを特徴とする、容器入り混合米飯の製造方法。
発明の詳細な説明
【技術分野】
【0001】
本発明は、容器入り混合米飯及びその製造方法に関する。
続きを表示(約 2,700 文字)
【背景技術】
【0002】
玄米は精白米に比べ栄養価が高く、食物繊維が腸活に良い、抗酸化成分がカラダの酸化を抑止したり免疫力を向上させるなどと玄米の健康効果は広く認知されている。
【0003】
そこで、出願人である東洋ライス株式会社は、昨今では玄米をおいしく食べることができない原因が、1)玄米の形態として、玄米粒表面に容易に植物の種子として発芽しないようにロウ質の防水層からなるロウ層とも呼ばれる層を持っており、吸水を妨げ、炊飯時の膨潤を妨げる(飯粒が伸びずに割れたり食味が著しく悪くなる)、2)ロウ層に傷を付けたり、除去したりする工夫をしたとしても、糠層がムラ剥離されていると、炊飯時に精白米のようにまっすぐ膨潤できない(飯粒が伸びずに割れたり、食味のよくない糠が分厚いまま残ったりして食味が著しく悪くなる)であったことを解明し、玄米の表面を覆っていたロウ層がなく、玄米粒の表面全面にわたって糠層がむら剥離されてなくて、残存する食品繊維が100gあたり1.7g以上含有しており、歩留まり率が97%以上に仕上げられているコメ(ただし、果皮がすべて除去されたものを除く)を開発している(特許文献1)。前記コメは、一般的な玄米の炊飯米に比べると栄養価はほとんど変わらないが食味が顕著に改善されるとともに消化性が良くなり、また、精白米と同様の条件(長時間の水への浸けおきが不要で、圧力炊飯なども不要)で炊飯できることから、販売開始以来、玄米商品の中でも消費者から非常に高い評価を受けている。また、近年の健康志向の高まりから、玄米食を取り入れる消費者は増えつつある。しかしながら、玄米食をする消費者の数は、精白米の米飯(精白米飯)を好んで食す消費者に比べると、まだまだ少ない状況である。
【先行技術文献】
【特許文献】
【0004】
特許第6850526号明細書
【発明の概要】
【発明が解決しようとする課題】
【0005】
本発明者らは、玄米食を広げることで消費者の健康に寄与すべく、玄米についての研究を進めていたところ、一般の表面加工玄米に比べると本件出願人が開発した前記コメでは、炊立ての玄米米飯では飯粒表面に艶や粘りがあり、米飯の美味しさの要因とされる“おねば(おねばの濃縮膜または保水膜とも呼ぶ)”があるので精白米飯と同じ感覚で食することができるという優れた特徴があるが、一方で、これらの玄米米飯を炊飯器や密封容器に保存した場合、精白米飯が時間の経過や温度の低下による食味劣化が少ないのに比べると、いずれの玄米米飯も食味劣化が著しく速いため、食味に優れた前記コメの玄米米飯であっても炊立ての米飯の味を維持することが難しく、消費者が食べる時点で玄米米飯は炊立て時に比べて食味が落ちた状態になっていることから、玄米米飯を食事に取り入れても精白米食に戻ったり、玄米米飯より精白米飯を好む消費者が多い要因の一つになっていることがわかってきた。また、生活スタイルも多様化し、家族揃って食事をすることも少なくなってきた今日では炊立ての米飯を食する機会のほうが少ないといっても過言ではなく、外食で利用する飲食店などでは炊飯器内で保温されていることや、コンビニエンスストア、スーパー、百貨店、弁当専門店、鉄道駅、空港等で購入した弁当を食べる機会も多い中、時間経過したり冷めてもおいしい玄米米飯が消費者に期待されていると考えられた。
【0006】
そこで、本発明は、時間経過したり冷めても炊立ての美味しさが維持された玄米米飯を含む、食味に優れた容器入りの混合米飯及びその製造方法を提供することを課題とする。
【課題を解決するための手段】
【0007】
本発明者らは、鋭意検討したところ、前記ロウ層を除去し、糠層をムラ剥離することなく、米粒表面を加工した玄米の炊立て米飯はふっくらとした舌ざわりがあり、ご飯粒表面が精白米飯と同様に瑞々しく“おねば”で覆われていることから、大変美味であるものの、その後、炊飯器の保温温度である60℃~75℃程度の温度で保温すると、時間経過とともに、米飯の表面から水分が放出して乾燥し、パサパサな状態に固くなる際に、米飯から蒸散される水蒸気には水分のみでなく、米飯の美味しさの正体である“おねば”成分が含まれており、水分の蒸散とともに一緒に放出されてしまうことで、食味が低下しているという知見を得た。また、玄米米飯は米飯温度が高温の時の水分蒸散とともに急激に食味劣化し、室温に冷めてからの食味劣化は緩やかなものであることの知見を得た。
そして、さらに検討を進めたところ、精白米飯と比較すると玄米米飯から出る水蒸気に含まれる“おねば”成分は少ないこと、また、精白米飯は、米飯粒表面に形成される“おねば”が潤沢にあるため、少しの“おねば”の凝固は、残りのまだまだ潤沢に残る“おねば”でカバーされることで消費者が時間の経過や温度の低下による食味劣化を感じることはほとんどないのに対して、玄米米飯は米飯粒表面に形成される“おねば”が僅かであるという知見を得た。これらのことから、玄米米飯では、少しの“おねば”の凝固で消費者が食味劣化を感じると考えられる。
以上のことから、玄米米飯の食味劣化を抑えるために、炊飯された玄米米飯を炊飯された精白米飯と一緒に容器で保存することで、玄米米飯からの水分の蒸散が抑えられるうえに、精白米飯から蒸散する水蒸気に“おねば”成分が多く含まれることから、精白米飯から放出される“おねば”成分を玄米米飯に移すことで玄米米飯の味の低下を抑えるだけでなく、炊立ての美味しさを維持できることを見出し、本発明を完成させた。
【0008】
すなわち、本発明の第1の態様は、
炊飯された玄米の米飯(以下、玄米米飯)と炊飯された精米の米飯(以下、精米米飯)とが封入された容器入り混合米飯であって、
前記玄米米飯の黄色度が27以上32以下であり、
前記精米米飯の黄色度が22以下であること
を特徴とする、容器入り混合米飯に関する。
【0009】
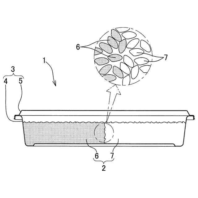
前記容器入り混合米飯では、玄米米飯と精米米飯とが重ねられた状態になっている、玄米米飯と精米米飯とが塊状で隣り合って配置されている又は玄米米飯と精米米飯とが混合された状態になっていてもよい。
【0010】
前記容器入り混合米飯では、玄米米飯と精米米飯とが炊飯後に容器に封入されていてもよい。
(【0011】以降は省略されています)
この特許をJ-PlatPat(特許庁公式サイト)で参照する
関連特許
東洋ライス株式会社
容器入り混合米飯及びその製造方法
1か月前
個人
健康促進霊芝茶
2か月前
個人
古代食品塩梅醤
6か月前
ライソン株式会社
焙煎機
5か月前
不二製油株式会社
グミ類
2か月前
個人
ジャム
6か月前
個人
具入り餅食品
7か月前
不二製油株式会社
組成物
1か月前
不二製油株式会社
油性食品
2か月前
個人
ヨーグルト等の発酵器
2か月前
不二製油株式会社
加工食品
2か月前
池田食研株式会社
微粉状食品
5か月前
池田食研株式会社
風味改善剤
5か月前
不二製油株式会社
油脂組成物
3か月前
株式会社ソディック
計量装置
5か月前
株式会社ソディック
計量装置
5か月前
不二製油株式会社
卵代替素材
6か月前
株式会社東洋新薬
経口組成物
1か月前
株式会社東洋新薬
飲料
1か月前
株式会社東洋新薬
経口組成物
5か月前
個人
可食性素材からなる容器
18日前
不二製油株式会社
油脂組成物
2か月前
株式会社東洋新薬
経口組成物
3か月前
不二製油株式会社
光照射油脂
1か月前
不二製油株式会社
チーズ様食品
5か月前
奥野製薬工業株式会社
処理方法
1か月前
不二製油株式会社
異風味抑制剤
7か月前
東ソー株式会社
食品品質保持剤
4か月前
アサヒ飲料株式会社
飲料
5か月前
株式会社エポック社
絞出具
1か月前
株式会社ソディック
食品搬送装置
4か月前
東洋ライス株式会社
搗精米
2か月前
SoPros株式会社
経口養毛剤
6か月前
日本メナード化粧品株式会社
飲料
2か月前
個人
発酵あんこの製造方法
1か月前
不二製油株式会社
被覆用油性食品
1か月前
続きを見る
他の特許を見る