TOP
|
特許
|
意匠
|
商標
特許ウォッチ
Twitter
他の特許を見る
10個以上の画像は省略されています。
公開番号
2025147380
公報種別
公開特許公報(A)
公開日
2025-10-07
出願番号
2024047608
出願日
2024-03-25
発明の名称
絞出具
出願人
株式会社エポック社
代理人
個人
主分類
A23G
3/28 20060101AFI20250930BHJP(食品または食料品;他のクラスに包含されないそれらの処理)
要約
【課題】取り扱いが容易なクリーム状物の絞出具を提供する。
【解決手段】クリーム状物20が内包される容器2を接続可能な複数の供給口部32、52を有する容器接続部材3と、各供給口部からの流路を合流させ、合流したクリーム状物を吐出させる吐出部材4と、を備える。流路は、容器接続部材の端面31b又は前記容器の端面と、吐出部材の底面521bとを前記容器の接続方向に面当接させて、クリーム状物の漏洩を直接抑制する。
【選択図】図8
特許請求の範囲
【請求項1】
クリーム状物が内包される容器を接続可能な複数の供給口部を有する容器接続部材と、
各前記供給口部からの流路を合流させ、合流した前記クリーム状物を吐出させる吐出部材と、
を備え、
前記流路は、前記容器接続部材の端面又は前記容器の端面と、前記吐出部材の底面とを前記容器の接続方向に面当接させて、前記クリーム状物の漏洩を直接抑制する、
絞出具。
続きを表示(約 1,000 文字)
【請求項2】
前記吐出部材は、一方側に前記容器と接続され且つ他の一方側に口金と接続される口金接続部材を備える請求項1に記載の絞出具。
【請求項3】
前記容器と前記口金接続部材に接続される口金とは、前記流路を形成するために、前記容器接続部材及び前記口金接続部材の2つの部品のみを介して接続される請求項2に記載の絞出具。
【請求項4】
前記口金接続部材は、各前記供給口部に接続された複数の前記容器から連続する各流路を、互いに近接方向に誘導する傾斜誘導部を有し、
前記傾斜誘導部は、前記容器の排出口部の延長上に配置される、
請求項2又は請求項3に記載の絞出具。
【請求項5】
前記傾斜誘導部は、前記近接方向に対して45度以下の勾配の傾斜面を有する請求項4に記載の絞出具。
【請求項6】
前記傾斜誘導部により誘導された各前記流路を並設した排出路を備える請求項4に記載の絞出具。
【請求項7】
前記排出路の一部又は全部は、前記接続方向において、前記容器と接続される第二供給口の開口内に配置される請求項6に記載の絞出具。
【請求項8】
前記容器の端面と前記吐出部材の底面とが面当接される場合、前記容器の排出口周りの環状の端面が、前記吐出部材の底面に形成されたΩ状凸部の頂面と面当接する、請求項1から請求項3の何れかに記載の絞出具。
【請求項9】
前記容器と前記口金接続部材に接続される口金とは、前記流路を形成するために、前記容器接続部材及び前記口金接続部材の2つの部品のみを介して接続され、
前記口金接続部材は、各前記供給口部に接続された複数の前記容器から連続する各流路を、互いに近接方向に誘導する傾斜誘導部を有し、
前記傾斜誘導部は、前記容器の排出口部の延長上に配置され、
前記傾斜誘導部は、前記近接方向に対して45度以下の勾配の傾斜面を有し、
前記傾斜誘導部により誘導された各前記流路を並設した排出路を備え、
前記排出路の一部又は全部は、前記接続方向において、前記容器と接続される第二供給口の開口内に配置され、
前記容器の端面と前記吐出部材の底面とが面当接される場合、前記容器の排出口周りの環状の端面が、前記吐出部材の底面に形成されたΩ状凸部の頂面と面当接する、
請求項2に記載の絞出具。
発明の詳細な説明
【技術分野】
【0001】
本開示は、クリーム状物を絞り出す絞出具に関する。
続きを表示(約 1,500 文字)
【背景技術】
【0002】
クリーム状の樹脂を充填した複数のチューブを用いて、ケーキなどの疑似食品を作成する玩具が提案されている。例えば、特許文献1には、クリーム状物が内包される容器を接続可能な4つの供給口部と、各供給口部からの流路を合流させる合流部と、合流部により合流したクリーム状物を外出させる口金とを有する絞出具が提案されている。この絞出具は、バリエーションに富んだクリーム成形体を作成可能としている。
【先行技術文献】
【特許文献】
【0003】
特開2022-072926号公報
【発明の概要】
【発明が解決しようとする課題】
【0004】
しかし特許文献1の絞出具は、部品点数が多く、封止構造も複雑であるため、子ども等の使用者にとって使用の準備又は清掃等の取り扱いが煩雑である。
【0005】
本開示は、取り扱いが容易なクリーム状物の絞出具を提供することを目的とする。
【課題を解決するための手段】
【0006】
本開示に係る絞出具は、クリーム状物が内包される容器を接続可能な複数の供給口部を有する容器接続部材と、各前記供給口部からの流路を合流させ、合流した前記クリーム状物を吐出させる吐出部材と、を備え、前記流路は、前記容器接続部材の端面又は前記容器の端面と、前記吐出部材の底面とを前記容器の接続方向に面当接させて、前記クリーム状物の漏洩を直接抑制する。
【発明の効果】
【0007】
本開示によると、取り扱いが容易なクリーム状物の絞出具を提供することができる。
【図面の簡単な説明】
【0008】
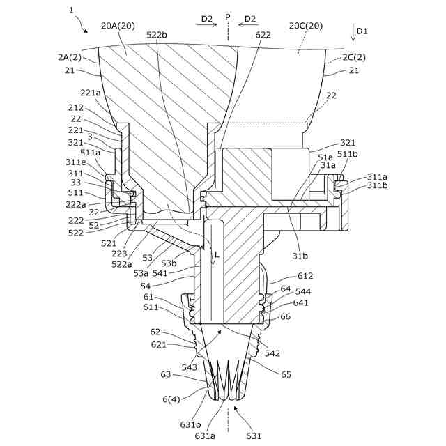
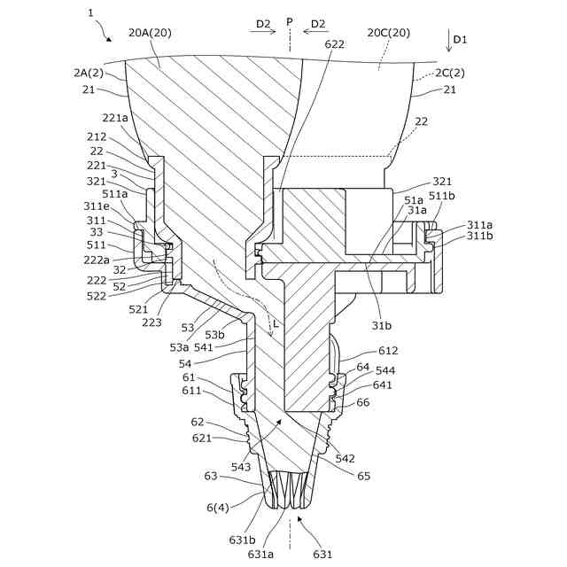
絞出具の全体図である。
絞出具の容器接続部材及び吐出部材の平面斜視図である。
容器接続部材及び吐出部材の平面分解斜視図である。
容器接続部材及び吐出部材の底面分解斜視図である。
容器接続部材及び吐出部材の平面図である。
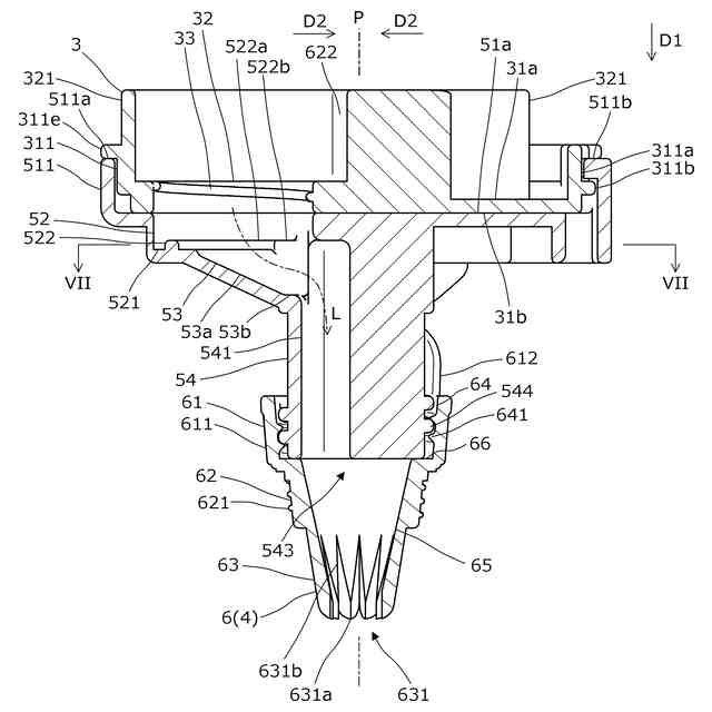
図2の容器接続部材及び吐出部材のVI-VI断面図である。
図6に示したVII-VII断面位置における容器接続部材及び吐出部材の断面図である。
容器を接続した状態の絞出具のVI-VI断面に相当する断面図である。
クリーム状物を口金側に流動させた状態の絞出具のVI-VI断面に相当する断面図である。
【発明を実施するための形態】
【0009】
以下、本開示の実施形態を図面に基づき説明する。図1は、絞出具1の全体図である。使用者(例えば、子ども等の遊戯者)は、絞出具1の各容器2(2A~2C)に充填されたクリーム状物20(20A~20C)を容器2の後方(図1の上方)から前方(図1の下方)に移動するように絞ることにより、クリーム状物20を先端の口金6の開口部631から絞り出す(押し出す)ことができる。絞り出されたクリーム状物20は、図示しない台座(装飾対象物)等の被形成面に盛り付けられて生クリームによる装飾が施された洋菓子等を模した装飾体玩具の作成に使用することができる。
【0010】
本実施形態では、クリーム状物20としてクリーム樹脂を用い、絞出具1を装飾体形成玩具として主に遊戯用に適用させた例について説明する。なお、本実施形態の絞出具1はクリーム樹脂の代わりに一般の食用に用いられるホイップクリーム等のクリーム状物を使用してもよい。この場合、絞出具1は、の代わりにスポンジケーキ等の食品の盛り付け等に利用することができる。
(【0011】以降は省略されています)
この特許をJ-PlatPat(特許庁公式サイト)で参照する
関連特許
個人
古代食品塩梅醤
5か月前
個人
健康促進霊芝茶
1か月前
不二製油株式会社
組成物
23日前
ライソン株式会社
焙煎機
4か月前
不二製油株式会社
グミ類
1か月前
個人
ジャム
5か月前
個人
ヨーグルト等の発酵器
1か月前
不二製油株式会社
油性食品
1か月前
不二製油株式会社
加工食品
2か月前
不二製油株式会社
油脂組成物
1か月前
株式会社東洋新薬
飲料
24日前
池田食研株式会社
微粉状食品
4か月前
株式会社東洋新薬
経口組成物
9日前
池田食研株式会社
風味改善剤
4か月前
株式会社ソディック
計量装置
4か月前
不二製油株式会社
油脂組成物
2か月前
株式会社東洋新薬
経口組成物
4か月前
株式会社ソディック
計量装置
4か月前
株式会社東洋新薬
経口組成物
2か月前
不二製油株式会社
光照射油脂
23日前
東ソー株式会社
食品品質保持剤
3か月前
奥野製薬工業株式会社
処理方法
26日前
不二製油株式会社
チーズ様食品
4か月前
アサヒ飲料株式会社
飲料
4か月前
SoPros株式会社
経口養毛剤
5か月前
不二製油株式会社
被覆用油性食品
25日前
株式会社ソディック
食品搬送装置
3か月前
株式会社エポック社
絞出具
26日前
個人
発酵あんこの製造方法
17日前
東洋ライス株式会社
搗精米
2か月前
日本メナード化粧品株式会社
飲料
1か月前
池田食研株式会社
油脂含有造粒顆粒
1か月前
大山食品株式会社
お好み焼き
5か月前
株式会社寺田製作所
散茶装置
5か月前
不二製油株式会社
カカオ含有飲食物
24日前
個人
廃棄食品の資源化法とその装置
2か月前
続きを見る
他の特許を見る