TOP
|
特許
|
意匠
|
商標
特許ウォッチ
Twitter
他の特許を見る
公開番号
2025069980
公報種別
公開特許公報(A)
公開日
2025-05-02
出願番号
2023179965
出願日
2023-10-19
発明の名称
具入り餅食品
出願人
個人
代理人
個人
主分類
A23L
7/10 20160101AFI20250424BHJP(食品または食料品;他のクラスに包含されないそれらの処理)
要約
【課題】食事の主食と菜食とを兼ねる多様な食感を味わえる餅食品を提供する。
【解決手段】餅板4に複数の種類の具6を相互に離して分配させてなる可食部2を具備し、前記複数の具6は、板厚方向Zから見て重ならないように埋設させている。前記具6の全体を前記餅板4に埋没させた態様と、前記具6の端部8が前記餅板4の表面から露出した状態で、その端部8を除く当該具6の残りの部分10を前記餅板4に埋設させた態様とを含む。前者の態様においては、前記具6が前記餅板4の表面から透けて見える程度の深さに埋没されている。
【選択図】図1
特許請求の範囲
【請求項1】
餅板(4)に複数の種類の具(6)を相互に離して分配させてなる可食部(2)を具備し、
前記複数の具(6)は、板厚方向(Z)から見て重ならないように埋設させたことを特徴とする、具入り餅食品。
続きを表示(約 500 文字)
【請求項2】
前記具(6)の全体を前記餅板(4)に埋没させたことを特徴とする請求項1に記載の具入り餅食品。
【請求項3】
前記具(6)が前記餅板(4)の表面から透けて見える程度の深さに埋没されていることを特徴とする請求項2に記載の具入り餅食品。
【請求項4】
前記具(6)の端部(8)が前記餅板(4)の表面から露出した状態で、その端部(8)を除く当該具(6)の残りの部分(10)を前記餅板(4)に埋設させたことを特徴とする請求項1に記載の具入り餅食品。
【請求項5】
前記餅板(4)の表面に沿って、前記板厚方向(Z)から見て、当該餅板(4)を横断する少なくとも一本の区画線(A)が形成されており、
前記区画線(A)は、当該区画線(A)に沿って、前記餅板(4)を前記板厚方向(Z)に切断することにより、前記餅板(4)を複数の餅ピース(P)に分断させるためのものであり、
前記具(6)は、前記複数の餅ピース(P)に一種類の前記具(6)が配置されるように分配されていることを特徴とする請求項1から請求項4のいずれかに記載の具入り餅食品。
発明の詳細な説明
【技術分野】
【0001】
本発明は、具入り餅食品に関する。
続きを表示(約 1,800 文字)
【背景技術】
【0002】
具材を含む餅食品として、餅生地にうるち米粒や豆などの具材をつきまぜて混和させた後に餅板に成形した餅食品が知られている(特許文献1)。
また餅で形成され、上方開口の収納凹部を有する箱状のピザ台を具備し、その収納凹部に、とろけるチーズ・ソース・スライスした玉葱・ベーコンなどのピザ材料を収納し、パック材で密閉したもちピザも提案されている(特許文献2)。
また上下2枚の厚肉の餅板を具備し、下側の餅板に形成した広く浅い上面開放の収納凹部内に、あんこ、黄粉、ひき肉、チーズなどの具材を収納させ、2枚の餅板の外周部同士を張り付けた具材入りの餅も提案されている(特許文献3)。
また餅であるビザ台の上に複数の具を載せた餅ピザも知られている(特許文献4)。
さらに球形の切り餅を囲む、片栗粉でなる可食リング体に、粒状のミックスベジタブルの具を片持ち状に保持させてなる即席餅食品も知られている(特許文献5)。
【先行技術文献】
【特許文献】
【0003】
特開昭60-284144
実開平6-46492
特開2012-175961
特開2008-43316
特開2001-149029
【発明の概要】
【発明が解決しようとする課題】
【0004】
近年、調理設備を用意できない場所(被災地や登山コース・レジャースポットなどの人里離れた遊興地)において、質の高い食事を提供する必要が認識されている。
特許文献1は、餅生地に米粒や豆などの具材をつき交ぜたから、これら具材が餅板中にランダムに分配されてしまうので、餅板のどこを切り取っても食感が同じとなってしまい、菓子等の用途には向いているが、それを食事とすると飽きがきてしまう。一度の食事の主食と菜食と兼ねるような用途には向いていない。
特許文献2及び特許文献3は、餅食品の内部に形成された一個の収納凹部に単数又は複数の種類の具材を詰め込んでいるが、これでは、収納凹部に収容した全体としての味の調和を考える必要があるから、全体としての食感は単調となる。また、その餅食品を一口分噛み切ったときに収納凹部から複数の具材からこぼれ出す可能性がある。
特許文献4及び特許文献5は、餅で形成した本体(ピザ台又は切り餅)の表面に具が露出しているから、他物(利用者の手等)に接触した具が不意に本体から脱落するおそれがあり、素材が無駄になると同時に外観を損なう。
また餅食品において具が外部から視認できることは、一見した際には需要者の食欲や好奇心を刺激する要因となり得るが、具をアピールする手段としては凡庸であり、一見した後に好奇心などが薄れる傾向がある。
【0005】
本発明の第1の目的は主食と菜食とを兼ねる多様な食感を味わえる餅食品を提供することであり、第2の目的は餅食品に包含される具を効果的にアピールできる工夫をすることであり、第3の目的は被災地への救援物資として有利な食品の形態を提案することである。
【課題を解決するための手段】
【0006】
第1の手段は、餅板4に複数の種類の具6を相互に離して分配させてなる可食部2を具備し、
前記複数の具6は、板厚方向Zから見て重ならないように埋設させた。
【0007】
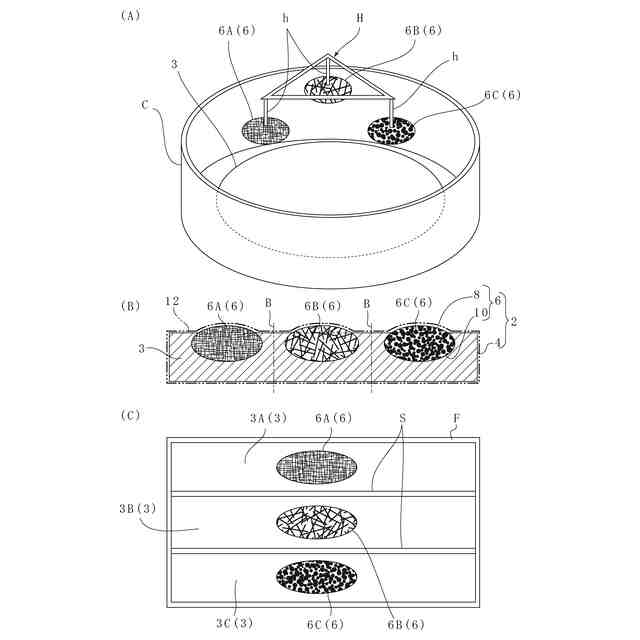
本手段では、図1(A)に示す如く、餅板4に複数種類の具6を相互に離して分配させたので、各種類の具毎に、茶碗に盛ったご飯におかずを載せて食するのと同じイメージで、各種の具と餅とを食することができ、具毎の味を楽しめる。
【0008】
第2の手段は、第1の手段を有し、かつ前記具6の全体を前記餅板4に埋没させた。
【0009】
本手段では、図1(C)に示す如く、具6の全体が餅板4に埋設している。
この構造によれば、餅板4を噛み切るまでどの具がでてくるかが全く分からず、或いは分かりにくく、好奇心をそそるという効果が得られる。
【0010】
第3の手段は、第2の手段を有し、かつ前記具6が前記餅板4の表面から透けて見える程度の深さに埋没されている。
(【0011】以降は省略されています)
この特許をJ-PlatPat(特許庁公式サイト)で参照する
関連特許
個人
古代食品塩梅醤
5か月前
個人
健康促進霊芝茶
1か月前
個人
ジャム
5か月前
不二製油株式会社
グミ類
1か月前
不二製油株式会社
組成物
21日前
個人
具入り餅食品
6か月前
ライソン株式会社
焙煎機
4か月前
不二製油株式会社
加工食品
1か月前
個人
ヨーグルト等の発酵器
1か月前
不二製油株式会社
油性食品
1か月前
株式会社東洋新薬
経口組成物
7日前
不二製油株式会社
油脂組成物
2か月前
不二製油株式会社
油脂組成物
1か月前
池田食研株式会社
微粉状食品
4か月前
株式会社東洋新薬
飲料
22日前
不二製油株式会社
卵代替素材
5か月前
株式会社東洋新薬
経口組成物
4か月前
株式会社ソディック
計量装置
4か月前
株式会社ソディック
計量装置
4か月前
不二製油株式会社
光照射油脂
21日前
池田食研株式会社
風味改善剤
4か月前
株式会社東洋新薬
経口組成物
2か月前
不二製油株式会社
チーズ様食品
4か月前
奥野製薬工業株式会社
処理方法
24日前
東ソー株式会社
食品品質保持剤
3か月前
アサヒ飲料株式会社
飲料
4か月前
不二製油株式会社
異風味抑制剤
6か月前
日本メナード化粧品株式会社
飲料
1か月前
株式会社ソディック
食品搬送装置
3か月前
個人
発酵あんこの製造方法
15日前
不二製油株式会社
被覆用油性食品
23日前
株式会社エポック社
絞出具
24日前
SoPros株式会社
経口養毛剤
5か月前
東洋ライス株式会社
搗精米
1か月前
不二製油株式会社
カカオ含有飲食物
22日前
池田食研株式会社
油脂含有造粒顆粒
1か月前
続きを見る
他の特許を見る