TOP
|
特許
|
意匠
|
商標
特許ウォッチ
Twitter
他の特許を見る
10個以上の画像は省略されています。
公開番号
2025159478
公報種別
公開特許公報(A)
公開日
2025-10-21
出願番号
2024062065
出願日
2024-04-08
発明の名称
検査システム、検査方法、その検査方法を用いる製造方法並びに検査プログラム
出願人
三菱重工業株式会社
代理人
個人
,
個人
,
個人
主分類
B22F
10/80 20210101AFI20251014BHJP(鋳造;粉末冶金)
要約
【課題】異常検知の検知結果について信頼性の向上を図ることができる検査システム、検査方法、その検査方法を用いる製造方法並びに検査プログラムを提供する。
【解決手段】基盤上に材料を積層して形成する造形物の検査システム60であって、積層された複数の層のうち、先行して形成された少なくとも1層からなる先行層の画像である先行画像と、先行層よりも後に形成された少なくとも1層からなる後行層の画像である後行画像とを取得する取得部61と、先行画像の輝度に関する先行輝度パラメータと、後行画像の輝度に関する後行輝度パラメータとをそれぞれ算出し、先行輝度パラメータと後行輝度パラメータとを用いて輝度変化に関する輝度変化パラメータを算出する算出部62と、輝度変化パラメータと所定の閾値とを比較することにより、造形物を造形する環境が正常であるか否かを判定する判定部63とを備える。
【選択図】図4
特許請求の範囲
【請求項1】
基盤上に材料を積層して形成する造形物の検査システムであって、
積層された複数の層のうち、先行して形成された少なくとも1層からなる先行層の画像である先行画像と、前記先行層よりも後に形成された少なくとも1層からなる後行層の画像である後行画像とを取得する取得部と、
前記先行画像の輝度に関する先行輝度パラメータと、前記後行画像の輝度に関する後行輝度パラメータとをそれぞれ算出し、前記先行輝度パラメータと前記後行輝度パラメータとを用いて輝度変化に関する輝度変化パラメータを算出する算出部と、
前記輝度変化パラメータと所定の閾値とを比較することにより、前記造形物を造形する環境が正常であるか否かを判定する判定部と
を備える検査システム。
続きを表示(約 1,100 文字)
【請求項2】
前記先行層は、前記造形物を形成する全層における中間位置の層よりも前記基盤側に位置する層であり、
前記後行層は、前記中間位置の層よりも前記造形物の表面側に位置する層である請求項1に記載の検査システム。
【請求項3】
前記先行層は、前記先行輝度パラメータが所定の上限値以下である画像に対応する層である請求項2に記載の検査システム。
【請求項4】
前記判定部は、前記輝度変化パラメータに基づいて、前記環境におけるヒュームの発生量の傾向を判定する請求項1に記載の検査システム。
【請求項5】
前記先行輝度パラメータは、前記先行画像の平均輝度であり、
前記後行輝度パラメータは、前記後行画像の平均輝度であり、
前記輝度変化パラメータは、前記先行画像の平均輝度と前記後行画像の平均輝度との変化率である請求項1に記載の検査システム。
【請求項6】
前記所定の閾値は、前記造形物を造形する前記環境が正常である場合において造形面を撮影した画像である基準画像に基づいて設定される値である請求項1に記載の検査システム。
【請求項7】
前記画像は、層の表面において前記材料が敷設される造形範囲の画像である請求項1に記載の検査システム。
【請求項8】
前記算出部は、各前記層の画像の輝度に関する輝度パラメータを算出し、
前記判定部は、所定の上限値より大きい又は所定の下限値より小さい前記輝度パラメータが存在する場合に、前記輝度パラメータに対応する画像に異常があると判定する請求項1に記載の検査システム。
【請求項9】
前記上限値及び前記下限値は、前記造形物を造形する前記環境が正常である場合において造形面を撮影した画像である基準画像に基づいて設定される値である請求項8に記載の検査システム。
【請求項10】
基盤上に材料を積層して形成する造形物の検査方法であって、
積層された複数の層のうち、先行して形成された少なくとも1層からなる先行層の画像である先行画像と、前記先行層よりも後に形成された少なくとも1層からなる後行層の画像である後行画像とを取得する取得工程と、
前記先行画像の輝度に関するパラメータである先行輝度パラメータ及び前記後行画像の輝度に関するパラメータである後行輝度パラメータをそれぞれ算出するとともに、前記先行輝度パラメータと前記後行輝度パラメータとを用いた輝度変化パラメータを算出する算出工程と、
前記輝度変化パラメータと所定の閾値とを比較することにより、前記造形物を造形する環境が正常であるか否かを判定する判定工程と
を有する検査方法。
(【請求項11】以降は省略されています)
発明の詳細な説明
【技術分野】
【0001】
本開示は、検査システム、検査方法、その検査方法を用いる製造方法並びに検査プログラムに関するものである。
続きを表示(約 2,000 文字)
【背景技術】
【0002】
AM(Additive Manufacturing)製品は、材料を積層して製造される。AM製品の品質保証としては、X線検査などの非破壊検査が行われる場合がある。
【0003】
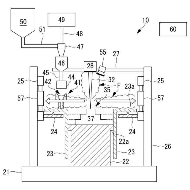
特にPBF(Powder Bed Fusion:粉末床溶融結合法)では、造形中において、粉末敷設状態を確認することにより、検査が行われる場合もある(例えば特許文献1)。なお、層の造形は、粉末状の金属材料をベースプレート等のベッドに敷設し、金属材料に対してレーザ照射を行い、溶融と凝固とを繰り返すことにより行われる。この時、レーザ照射により発生した熱によって、ベッドに敷設された金属材料の一部である金属蒸気(ヒューム)が発生する。
【先行技術文献】
【特許文献】
【0004】
特開2022-179347号公報
【発明の概要】
【発明が解決しようとする課題】
【0005】
AM製品の品質保証として用いられるX線検査等の非破壊検査は、高コストである。このため、低コスト品質保証方法への代替が求められている。また、AM製品の造形において、敷設される粉体の状態や、レーザ照射状態を記録した画像を用いて粉体敷設の異常を確認する品質保証の方法(特許文献1参照)も存在するが、造形物の品質を十分に担保するまでに至っていない。
【0006】
本開示は、このような事情に鑑みてなされたものであって、異常検知の検知結果について信頼性の向上を図ることができる検査システム、検査方法、その検査方法を用いる製造方法並びに検査プログラムを提供することを目的とする。
【課題を解決するための手段】
【0007】
本開示の幾つかの実施形態における一態様に係る検査システムは、基盤上に材料を積層して形成する造形物の検査システムであって、積層された複数の層のうち、先行して形成された少なくとも1層からなる先行層の画像である先行画像と、前記先行層よりも後に形成された少なくとも1層からなる後行層の画像である後行画像とを取得する取得部と、前記先行画像の輝度に関する先行輝度パラメータと、前記後行画像の輝度に関する後行輝度パラメータとをそれぞれ算出し、前記先行輝度パラメータと前記後行輝度パラメータとを用いて輝度変化に関する輝度変化パラメータを算出する算出部と、前記輝度変化パラメータと所定の閾値とを比較することにより、前記造形物を造形する環境が正常であるか否かを判定する判定部とを備える。
【0008】
本開示の幾つかの実施形態における一態様に係る検査方法は、基盤上に材料を積層して形成する造形物の検査方法であって、積層された複数の層のうち、先行して形成された少なくとも1層からなる先行層の画像である先行画像と、前記先行層よりも後に形成された少なくとも1層からなる後行層の画像である後行画像とを取得する取得工程と、前記先行画像の輝度に関するパラメータである先行輝度パラメータ及び前記後行画像の輝度に関するパラメータである後行輝度パラメータをそれぞれ算出するとともに、前記先行輝度パラメータと前記後行輝度パラメータとを用いた輝度変化パラメータを算出する算出工程と、前記輝度変化パラメータと所定の閾値とを比較することにより、前記造形物を造形する環境が正常であるか否かを判定する判定工程とを有する。
【0009】
本開示の幾つかの実施形態における一態様に係る製造方法は、前記造形物の造形範囲に粉体の前記材料を敷設して粉体層を形成する粉体層形成工程と、前記粉体層にレーザを照射し、前記材料を溶解及び固着して造形層を形成する造形層形成工程と、前記造形層を上記の検査方法を用いて検査する検査工程とを有する。
【0010】
本開示の幾つかの実施形態における一態様に係る検査プログラムは、基盤上に材料を積層して形成する造形物の検査プログラムであって、積層された複数の層のうち、先行して形成された少なくとも1層からなる先行層の画像である先行画像と、前記先行層よりも後に形成された少なくとも1層からなる後行層の画像である後行画像とを取得する取得処理と、前記先行画像の輝度に関するパラメータである先行輝度パラメータ及び前記後行画像の輝度に関するパラメータである後行輝度パラメータをそれぞれ算出するとともに、前記先行輝度パラメータと前記後行輝度パラメータとを用いた輝度変化パラメータを算出する算出処理と、前記輝度変化パラメータと所定の閾値とを比較することにより、前記造形物を造形する環境が正常であるか否かを判定する判定処理とをコンピュータに実行させる。
【発明の効果】
(【0011】以降は省略されています)
この特許をJ-PlatPat(特許庁公式サイト)で参照する
関連特許
三菱重工業株式会社
加熱装置
6日前
三菱重工業株式会社
動力装置
2日前
三菱重工業株式会社
皮膜形成装置
13日前
三菱重工業株式会社
ポンプシステム
13日前
三菱重工業株式会社
メタン酸化触媒装置
13日前
三菱重工業株式会社
ガスタービン制御方法
6日前
三菱重工業株式会社
炭化炉及びその制御方法
13日前
三菱重工業株式会社
燃焼設備および制御方法
1日前
三菱重工業株式会社
バーナ及びこれを備えたボイラ
13日前
三菱重工業株式会社
バーナ及びこれを備えたボイラ
13日前
三菱重工業株式会社
演算方法、プログラム及び演算装置
1日前
三菱重工業株式会社
燃料噴射装置および往復動内燃機関
7日前
三菱重工業株式会社
水素製造システム及び水素製造方法
13日前
三菱重工業株式会社
炉壁及びガス化炉並びに炉壁の製造方法
2日前
三菱重工業株式会社
電解セルカートリッジおよびその製造方法
8日前
三菱重工業株式会社
電解モジュールの冷却方法及び電解システム
13日前
三菱重工業株式会社
接着剤の膜厚測定方法、および接合部材の製造方法
8日前
三菱重工業株式会社
制御装置、CO2回収装置、制御方法及びプログラム
6日前
三菱重工業株式会社
経路設定方法、移動体、管理システム及びプログラム
8日前
三菱重工業株式会社
劣化判定装置、劣化判定システム、および、劣化判定方法
6日前
三菱重工業株式会社
タービン架台及びタービン装置並びにタービン架台の製造方法
13日前
三菱重工業株式会社
粉砕テーブル及び固体燃料粉砕装置並びに粉砕テーブルの補修方法
13日前
三菱重工業株式会社
制御装置、ガスタービンの燃料供給系統、制御方法及びプログラム
9日前
三菱重工業株式会社
流路形成板、分割環、静翼、ガスタービン、及び流路形成板の製造方法
今日
三菱重工業株式会社
船舶の積み付け計画作成装置、船舶の積み付け計画作成方法、およびプログラム
6日前
三菱重工業株式会社
検査システム、検査方法、その検査方法を用いる製造方法並びに検査プログラム
2日前
三菱重工業株式会社
熱電併給用蒸気生成システム及び熱電併給システム並びに熱電併給用蒸気生成方法
13日前
三菱重工業株式会社
シミュレータ、シミュレーション方法、及びコンピュータ読み取り可能な記録媒体
今日
三菱重工業株式会社
ガスタービン制御装置、ガスタービン制御方法、及び、ガスタービン制御プログラム
9日前
三菱重工業株式会社
放射性廃棄物収納用セパレータ、放射性廃棄物収納容器および放射性廃棄物収納方法
9日前
三菱重工業株式会社
炭素強度演算装置、これを用いた合成燃料製造プラント、炭素強度演算方法及び炭素強度演算プログラム
13日前
三菱重工業株式会社
CO2回収装置用蒸気生成システム及びこれを備えたCO2回収装置並びにCO2回収装置用蒸気生成方法
13日前
個人
鋼の連続鋳造用鋳型
1か月前
個人
ピストンの低圧鋳造金型
5か月前
友鉄工業株式会社
錫プレート成形方法
1か月前
トヨタ自動車株式会社
押湯入子
2か月前
続きを見る
他の特許を見る