TOP
|
特許
|
意匠
|
商標
特許ウォッチ
Twitter
他の特許を見る
10個以上の画像は省略されています。
公開番号
2025159025
公報種別
公開特許公報(A)
公開日
2025-10-17
出願番号
2025131236,2024111777
出願日
2025-08-06,2013-01-23
発明の名称
半導体装置
出願人
株式会社半導体エネルギー研究所
代理人
主分類
H10D
30/67 20250101AFI20251009BHJP()
要約
【課題】酸化物半導体を用いたトランジスタを有する信頼性の高い半導体装置を提供する
。
【解決手段】酸化物半導体層を含むボトムゲート構造のトランジスタを有する半導体装置
において、酸化物半導体層に接して、第1の絶縁層を形成し、酸素ドープ処理を行うこと
によって、化学量論的組成よりも過剰に酸素を含む第1の絶縁層とする。第1の絶縁層上
に第2の絶縁層を形成することで、第1の絶縁層が含有する過剰な酸素を、効率良く酸化
物半導体層に供給することができる。よって、安定した電気的特性を有する信頼性の高い
半導体装置を提供することができる。
【選択図】図1
特許請求の範囲
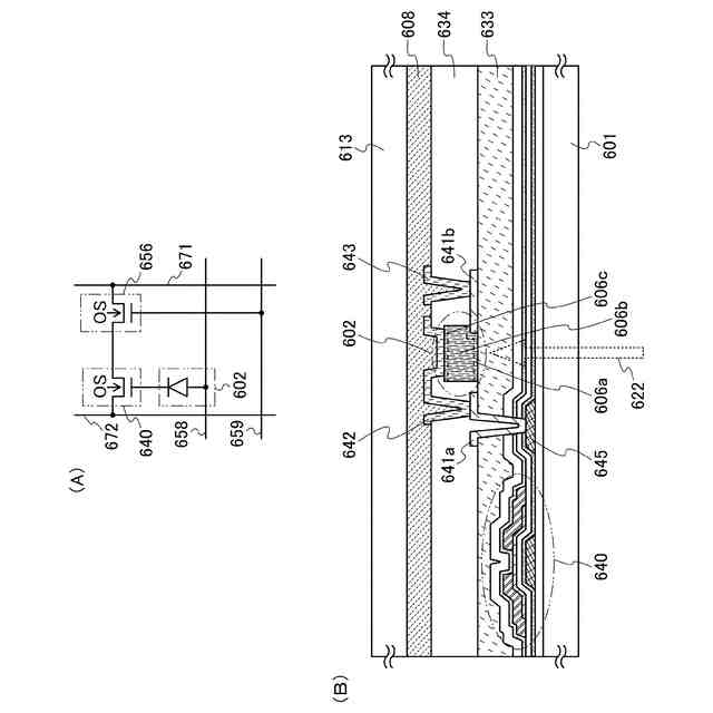
【請求項1】
ゲート電極と、
前記ゲート電極上に形成されたゲート絶縁層と、
前記ゲート電極と重畳し、前記ゲート絶縁層上に形成された酸化物半導体層と、
前記酸化物半導体層上に形成されたソース電極及びドレイン電極と、
前記酸化物半導体層の一部に接し、前記ソース電極及び前記ドレイン電極上に形成された第1の絶縁層と、
前記第1の絶縁層上に形成された第2の絶縁層と、を有し、
前記第1の絶縁層は、化学量論的組成よりも酸素を多く含み、
前記第1の絶縁層は10nmより厚く、100nmより薄いことを特徴とする半導体装置。
発明の詳細な説明
【技術分野】
【0001】
開示する発明は、半導体装置及び半導体装置の作製方法に関する。
続きを表示(約 1,500 文字)
【0002】
なお、本明細書等において半導体装置とは、半導体特性を利用することで機能しうる装置
全般を指し、電気光学装置、発光表示装置、半導体回路及び電子機器は全て半導体装置で
ある。
【背景技術】
【0003】
絶縁表面を有する基板上に形成された半導体薄膜を用いてトランジスタを構成する技術が
注目されている。該トランジスタは集積回路(IC)や画像表示装置(単に表示装置とも
表記する)のような半導体電子デバイスに広く応用されている。トランジスタに適用可能
な半導体薄膜としてシリコン系半導体材料が広く知られているが、その他の材料として酸
化物半導体が注目されている。
【0004】
例えば、酸化物半導体として、酸化亜鉛、又はIn-Ga-Zn系酸化物を用いてトラン
ジスタを作製する技術が開示されている(特許文献1及び特許文献2参照)。
【0005】
ところで、酸化物半導体においては、水素が含まれることにより伝導帯に近い準位(浅い
準位)にドナーが生成され低抵抗化(n型化)してしまうことが指摘されている。そのた
め、酸化物半導体の形成時に水素が混入しないような措置を講じることが求められる。ま
た、酸化物半導体のみならず、酸化物半導体に接するゲート絶縁膜の水素を低減すること
で、しきい値電圧の変動を低減する技術が開示されている(特許文献3参照)。
【先行技術文献】
【特許文献】
【0006】
特開2007-123861号公報
特開2007-96055号公報
特開2009-224479号公報
【発明の概要】
【発明が解決しようとする課題】
【0007】
また、酸化物半導体において、酸素欠損は酸化物半導体中にキャリアである電子を生成す
る。トランジスタのチャネル形成領域を含む酸化物半導体に酸素欠損が多く存在すると、
チャネル形成領域中に電子を生じさせてしまい、トランジスタのしきい値電圧をマイナス
方向に変動させる要因となる。
【0008】
上述した問題に鑑み、本発明の一態様では、酸化物半導体を用いた半導体装置であって、
安定した電気特性を有し、信頼性の高い半導体装置及びその作製方法を提供することを目
的の一とする。
【課題を解決するための手段】
【0009】
酸化物半導体層を含むボトムゲート構造のトランジスタを有する半導体装置において、酸
化物半導体層に接して絶縁層を形成し、該絶縁層及び該絶縁層に接する酸化物半導体層に
酸素ドープ処理を行う。酸素ドープ処理により、該絶縁層及び該絶縁層に接する酸化物半
導体層を、化学量論的組成よりも酸素を多く含む酸素過剰な状態とすることができる。酸
化物半導体層と接する絶縁層を、酸素を過剰に含む絶縁層とすることで、該絶縁層から酸
化物半導体層へ酸素を供給することが容易となるため、酸化物半導体層からの酸素の脱離
を防止し、酸化物半導体層中の酸素欠損を補填することが可能となる。
【0010】
また、酸化物半導体層上に酸素ドープ処理された第1の絶縁層を形成し、第1の絶縁層上
に、さらに第2の絶縁層を形成してもよい。酸素ドープ処理された第1の絶縁層上に第2
の絶縁層を形成することで、第1の絶縁層が含有する過剰な酸素を、効率良く酸化物半導
体層に供給することができる。
(【0011】以降は省略されています)
この特許をJ-PlatPat(特許庁公式サイト)で参照する
関連特許
個人
半導体装置
27日前
エイブリック株式会社
半導体装置
1か月前
東レ株式会社
太陽電池モジュール
27日前
富士電機株式会社
半導体装置
1か月前
旭化成株式会社
発光素子
7日前
エイブリック株式会社
縦型ホール素子
21日前
エイブリック株式会社
縦型ホール素子
21日前
ローム株式会社
半導体装置
28日前
富士通株式会社
半導体装置
26日前
ローム株式会社
抵抗チップ
12日前
三菱電機株式会社
半導体装置
26日前
AGC株式会社
太陽電池モジュール
1か月前
株式会社半導体エネルギー研究所
表示装置
21日前
富士電機株式会社
半導体装置
18日前
三菱電機株式会社
半導体装置
6日前
TDK株式会社
圧電素子
26日前
ローム株式会社
半導体集積回路
6日前
日亜化学工業株式会社
発光装置
25日前
日亜化学工業株式会社
発光装置
7日前
ミツミ電機株式会社
半導体装置
1か月前
日亜化学工業株式会社
発光素子
26日前
日亜化学工業株式会社
発光素子
1か月前
ローム株式会社
半導体装置
13日前
ローム株式会社
窒化物半導体装置
21日前
ローム株式会社
TVSダイオード
1か月前
ローム株式会社
窒化物半導体装置
12日前
ローム株式会社
TVSダイオード
1か月前
ローム株式会社
半導体装置
1か月前
株式会社半導体エネルギー研究所
発光デバイス
5日前
株式会社東芝
熱電変換装置
1か月前
TDK株式会社
光検知装置
1か月前
サンケン電気株式会社
半導体装置
1か月前
ローム株式会社
半導体装置
11日前
デクセリアルズ株式会社
受光装置
1か月前
富士電機株式会社
半導体装置の製造方法
20日前
株式会社カネカ
太陽電池モジュール
1か月前
続きを見る
他の特許を見る