TOP
|
特許
|
意匠
|
商標
特許ウォッチ
Twitter
他の特許を見る
公開番号
2025158541
公報種別
公開特許公報(A)
公開日
2025-10-17
出願番号
2024061183
出願日
2024-04-05
発明の名称
制御装置、画像形成システム及びプログラム
出願人
コニカミノルタ株式会社
代理人
弁理士法人光陽国際特許事務所
主分類
B41J
29/38 20060101AFI20251009BHJP(印刷;線画機;タイプライター;スタンプ)
要約
【課題】画像調整を必要なタイミングで実行できる。
【解決手段】
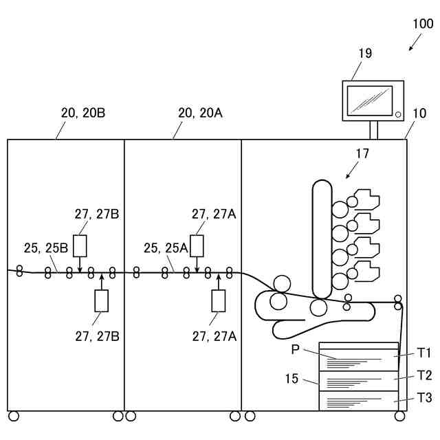
画像形成部17により画像形成された第1画像を読取部(読取部27、27A、27B)が読み取った読取結果に基づいて画像調整を行う第1調整と、第1調整に基づいて画像形成部17により画像形成された第2画像を読取部(読取部27、27A、27B)で読み取った読取結果に基づいて画像調整を行う第2調整とを行う制御部(CPU11)を備え、制御部(CPU11)は、第2調整に基づいてジョブに基づく画像形成が行われるよう制御し、所定の条件を満たすと判断した場合に、第1調整を行う制御装置(画像形成装置10)。
【選択図】図3
特許請求の範囲
【請求項1】
画像形成部により画像形成された第1画像を読取部が読み取った読取結果に基づいて画像調整を行う第1調整と、前記第1調整に基づいて前記画像形成部により画像形成された第2画像を読取部で読み取った読取結果に基づいて画像調整を行う第2調整とを行う制御部を備え、
前記制御部は、前記第2調整に基づいてジョブに基づく画像形成が行われるよう制御し、所定の条件を満たすと判断した場合に、前記第1調整を行う制御装置。
続きを表示(約 1,000 文字)
【請求項2】
前記制御部は、前記所定の条件を満たすと判断した場合、前記第1調整を行った後、当該第1調整に基づいて前記画像形成部により画像形成された第2画像を読取部で読み取った読取結果に基づいて、前記第2調整を行う請求項1に記載の制御装置。
【請求項3】
前記制御部は、所定の条件を満たすと判断した場合に加えて、ユーザーの指示に基づいて前記第1調整を行う請求項1に記載の制御装置。
【請求項4】
前記第1調整は、前記第1画像と、前記第1画像を前記読取部で読み取った読取結果とのずれを調整する調整値を算出し、
前記第2調整は、前記第2画像を前記読取部で読み取った読取結果に基づいて前記調整値を補正する請求項1に記載の制御装置。
【請求項5】
前記所定の条件は、前記第1調整を行った際の画像形成部または読取部の構成から変更があった場合である請求項1に記載に制御装置。
【請求項6】
前記所定の条件は、前記第2調整する際の日付情報が、前記第1調整を行った際の日付情報と異なる場合である請求項1に記載の制御装置。
【請求項7】
前記所定の条件は、画像形成に関する履歴情報が予め設定した条件を満たす場合である請求項1に記載の制御装置。
【請求項8】
前記制御部は、ジョブに基づく画像形成を前記第2調整に基づいて前記画像形成部に行わせ、前記所定の条件を満たすと判断した場合に、前記ジョブを実行後に、前記第1調整を行う請求項1に記載の制御装置。
【請求項9】
前記制御部は、ジョブに基づく画像形成を前記第2調整に基づいて前記画像形成部に行わせ、前記所定の条件を満たすと判断した場合に、通知部によりユーザーに通知を行う請求項1に記載の制御装置。
【請求項10】
ジョブに基づきシートに画像を形成する画像形成部と、
シートに形成された画像を読み取る読取部と、
前記画像形成部により画像形成された第1画像を前記読取部が読み取った読取結果に基づいて画像調整を行う第1調整と、前記第1調整に基づいて前記画像形成部により画像形成された第2画像を読取部で読み取った読取結果に基づいて画像調整を行う第2調整とを行う制御部と、を備え、
前記制御部は、前記第2調整に基づいてジョブに基づく画像形成が行われるよう制御し、所定の条件を満たすと判断した場合に、前記第1調整を行う画像形成システム。
(【請求項11】以降は省略されています)
発明の詳細な説明
【技術分野】
【0001】
本発明は、制御装置、画像形成システム及びプログラムに関する。
続きを表示(約 1,600 文字)
【背景技術】
【0002】
従来、画像形成装置は、画像データに基づいてシートに画像形成を行うが、シートに画像形成された画像と元となる画像データの画像との間に誤差が生じる。
そのため、画像形成装置により画像形成されたシートを画像検査装置にて読み取り、読み取られた画像データと元となる画像データとの差分を取得する。画像形成装置は、取得した差分に基づいて、画像データの画像調整をするための調整値を作成する。そして、画像形成装置は、以降、その調整値に基づいて画像データを補正し、補正された補正画像データにより画像形成を行う。
【0003】
また、画像調整においては、段階を踏んで、調整値を作成することが行われている。まず、基準となる差分を取得し、画像データの画像を調整するための調整値を作成する。その上で、画像形成装置は、適宜、差分を取得し、調整値を補正する。画像形成装置は、補正された調整値に基づいて画像データを補正し、補正された補正画像データに基づいて画像形成を行う。
例えば、特許文献1には、ユーザーが、調整値を作成するか判断し、ユーザーによる指示に基づいて調整値が作成されることが記載されている。
【先行技術文献】
【特許文献】
【0004】
特開2011-254350号公報
【発明の概要】
【発明が解決しようとする課題】
【0005】
特許文献1では、調整値の再作成が必要かどうかの判断をユーザーが行うため、再作成の認識不足や再作成のし忘れの結果、調整値の再作成を適切なタイミングで実施できないおそれがあった。
【0006】
本発明の課題は、画像調整を必要なタイミングで実行することである。
【課題を解決するための手段】
【0007】
前記の問題を解決するために、本発明に係る制御装置は、
画像形成部により画像形成された第1画像を読取部が読み取った読取結果に基づいて画像調整を行う第1調整と、前記第1調整に基づいて前記画像形成部により画像形成された第2画像を読取部で読み取った読取結果に基づいて画像調整を行う第2調整とを行う制御部を備え、
前記制御部は、前記第2調整に基づいてジョブに基づく画像形成が行われるよう制御し、所定の条件を満たすと判断した場合に、前記第1調整を行う。
【0008】
また、本発明に係る画像形成システムは、
ジョブに基づきシートに画像を形成する画像形成部と、
シートに形成された画像を読み取る読取部と、
前記画像形成部により画像形成された第1画像を前記読取部が読み取った読取結果に基づいて画像調整を行う第1調整と、前記第1調整に基づいて前記画像形成部により画像形成された第2画像を読取部で読み取った読取結果に基づいて画像調整を行う第2調整とを行う制御部と、を備え、
前記制御部は、前記第2調整に基づいてジョブに基づく画像形成が行われるよう制御し、所定の条件を満たすと判断した場合に、前記第1調整を行う。
【0009】
また、本発明に係るプログラムは、
制御装置のコンピューターを、
画像形成部により画像形成された第1画像を読取部が読み取った読取結果に基づいて画像調整を行う第1調整と、前記第1調整に基づいて前記画像形成部により画像形成された第2画像を読取部で読み取った読取結果に基づいて画像調整を行う第2調整とを行う制御部として機能させ、
前記制御部は、前記第2調整に基づいてジョブに基づく画像形成が行われるよう制御し、所定の条件を満たすと判断した場合に、前記第1調整を行う。
【発明の効果】
【0010】
本発明によれば、画像調整を必要なタイミングで実行できる。
【図面の簡単な説明】
(【0011】以降は省略されています)
この特許をJ-PlatPat(特許庁公式サイト)で参照する
関連特許
個人
箔熱転写装置
1か月前
シヤチハタ株式会社
印判
4か月前
東レ株式会社
凸版印刷版原版
10か月前
シヤチハタ株式会社
反転式印判
9か月前
キヤノン株式会社
記録装置
1か月前
独立行政法人 国立印刷局
印刷物
7か月前
三光株式会社
感熱記録材料
6か月前
株式会社リコー
液体吐出装置
8か月前
株式会社リコー
印刷システム
23日前
株式会社リコー
液体吐出装置
4か月前
株式会社リコー
画像形成装置
19日前
株式会社リコー
液体吐出装置
8か月前
株式会社リコー
画像形成装置
1か月前
独立行政法人 国立印刷局
記録媒体
9か月前
株式会社リコー
液体吐出装置
2か月前
株式会社リコー
画像形成装置
23日前
日本製紙株式会社
感熱記録体
7か月前
独立行政法人 国立印刷局
貼付装置
1か月前
株式会社リコー
液体吐出装置
7か月前
株式会社リコー
液体吐出装置
6か月前
独立行政法人 国立印刷局
貼付機構
2か月前
株式会社リコー
液体吐出装置
5か月前
株式会社リコー
液体吐出装置
4か月前
ブラザー工業株式会社
プリンタ
4か月前
キヤノン株式会社
画像形成装置
6か月前
キヤノン株式会社
画像形成装置
3か月前
キヤノン株式会社
画像形成装置
8か月前
キヤノン株式会社
画像形成装置
10か月前
ブラザー工業株式会社
プリンタ
6か月前
キヤノン株式会社
印刷システム
7か月前
キヤノン株式会社
画像処理装置
4か月前
独立行政法人 国立印刷局
潜像形成体
19日前
キヤノン株式会社
画像形成装置
5か月前
フジコピアン株式会社
中間転写シート
10か月前
ブラザー工業株式会社
プリンタ
6か月前
キヤノン株式会社
画像形成装置
7か月前
続きを見る
他の特許を見る