TOP
|
特許
|
意匠
|
商標
特許ウォッチ
Twitter
他の特許を見る
10個以上の画像は省略されています。
公開番号
2025158028
公報種別
公開特許公報(A)
公開日
2025-10-16
出願番号
2024060453
出願日
2024-04-03
発明の名称
半導体装置及び製造方法
出願人
株式会社東芝
,
東芝デバイス&ストレージ株式会社
代理人
個人
,
個人
,
個人
,
個人
主分類
H10D
30/66 20250101AFI20251008BHJP()
要約
【課題】ソースコンタクト抵抗を低減することができる。
【解決手段】半導体装置は、第1電極と、前記第1電極に対して第1方向に離隔して配置される第2電極と、前記第1方向と交差する第2方向において前記第2電極に対向して配置される制御電極と、前記第2電極と前記制御電極との間に設けられる第1絶縁部と、前記第1電極と前記第2電極との間に設けられる半導体層と、前記半導体層内の前記第2電極と前記第1絶縁部との間に設けられ、前記第2電極とショットキー接合で接続される第1領域と、前記第1領域に接合されて前記第1電極側に配置され、前記第2電極とショットキー接合で接続され、前記第1領域の少なくとも一部よりも前記第2方向における幅が狭い第2領域と、を備える。
【選択図】図1
特許請求の範囲
【請求項1】
第1電極と、
前記第1電極に対して第1方向に離隔して配置される第2電極と、
前記第1方向と交差する第2方向において前記第2電極に対向して配置される制御電極と、
前記第2電極と前記制御電極との間に設けられる第1絶縁部と、
前記第1電極と前記第2電極との間に設けられる半導体層と、
前記半導体層内の前記第2電極と前記第1絶縁部との間に設けられ、前記第2電極とショットキー接合で接続される第1領域と、
前記第1領域に接合されて前記第1電極側に配置され、前記第2電極とショットキー接合で接続され、前記第1領域の少なくとも一部よりも前記第2方向における幅が狭い第2領域と、を備える、
半導体装置。
続きを表示(約 1,200 文字)
【請求項2】
前記第1領域は、前記第2領域よりも高い不純物濃度を有する、
請求項1に記載の半導体装置。
【請求項3】
前記半導体層は、前記第1電極が配置される第1面と、
前記第2電極が配置され、前記第1面と反対側の第2面と、を有し、
前記第2電極は、前記第2面から前記第1面側に伸び、前記第1領域及び前記第2領域とショットキー接合で接続される凸部を有する、
請求項1に記載の半導体装置。
【請求項4】
前記制御電極と隣接して、前記制御電極から前記第2面側に配置される第2絶縁部をさらに備え、
前記第1領域は、前記第2面側から、少なくとも前記制御電極と前記第2絶縁部との界面に達する位置まで配置される、
請求項3に記載の半導体装置。
【請求項5】
前記制御電極の前記第2方向の幅は、前記第2絶縁部の前記第2電極と対向する箇所の少なくとも一部の前記第2方向の幅よりも大きい、
請求項4に記載の半導体装置。
【請求項6】
前記第1領域における前記第2絶縁部と対向する箇所の少なくとも一部の前記第2方向の幅は、前記第2領域における前記第2方向の幅よりも大きい、
請求項4に記載の半導体装置。
【請求項7】
前記第2電極は、第1金属層と、
前記第1金属層と前記半導体層との間に設けられ、前記第1金属層よりも高い仕事関数を有し、前記第1領域及び前記第2領域とショットキー接合で接続される第2金属層と、を含む、
請求項1に記載の半導体装置。
【請求項8】
前記制御電極と前記第1電極との間に配置されるフィールドプレートを備える、
請求項1に記載の半導体装置。
【請求項9】
前記第1電極はドレイン電極であり、前記第2電極はソース電極であり、前記制御電極は前記ソース電極と前記ドレイン電極との間を流れる電流を制御するゲート電極である、
請求項1に記載の半導体装置。
【請求項10】
半導体層の一主面から第1トレンチを形成し、
前記第1トレンチの底部側の側壁をエッチングして、面方向に膨らんだ胴部を形成し、
前記胴部の表面に第1絶縁部を形成し、
前記第1絶縁部に接するように制御電極を形成し、
前記制御電極の上に第2絶縁部を形成し、
前記第1絶縁部を挟んで前記制御電極及び前記第2絶縁部に対向するように、前記半導体層に不純物イオンを注入して第1領域を形成し、
前記半導体層と前記第1領域との間の第2領域、及び前記第1領域とショットキー接合で接続される第1金属層を形成する、
半導体装置の製造方法。
(【請求項11】以降は省略されています)
発明の詳細な説明
【技術分野】
【0001】
本実施形態は、半導体装置及び製造方法に関する。
続きを表示(約 3,100 文字)
【背景技術】
【0002】
ゲート電極に印加する電圧によりショットキー障壁の高さを制御してオン状態およびオフ状態を切り替える半導体装置においては、ソースコンタクト抵抗が低いことが好ましい。
【先行技術文献】
【特許文献】
【0003】
特開2022-22074号公報
特開2023-60154号公報
特開2023-136874号公報
特開2021-150483号公報
特開2020-43243号公報
特開2019-3968号公報
特表2008-536316号公報
特開2011-9387号公報
特開2011-181840号公報
【発明の概要】
【発明が解決しようとする課題】
【0004】
本発明の実施形態は、ソースコンタクト抵抗を低減することができる半導体装置を提供する。
【課題を解決するための手段】
【0005】
本実施形態に係る半導体装置は、第1電極と、
前記第1電極に対して第1方向に離隔して配置される第2電極と、
前記第1方向と交差する第2方向において前記第2電極に対向して配置される制御電極と、
前記第2電極と前記制御電極との間に設けられる第1絶縁部と、
前記第1電極と前記第2電極との間に設けられる半導体層と、
前記半導体層内の前記第2電極と前記第1絶縁部との間に設けられ、前記第2電極とショットキー接合で接続される第1領域と、
前記第1領域に接合されて前記第1電極側に配置され、前記第2電極とショットキー接合で接続され、前記第1領域の少なくとも一部よりも前記第2方向における幅が狭い第2領域と、を備える。
【図面の簡単な説明】
【0006】
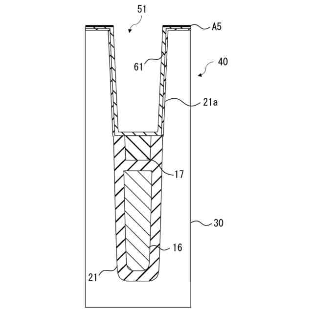
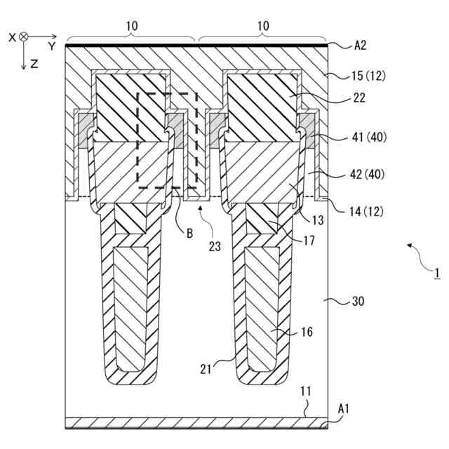
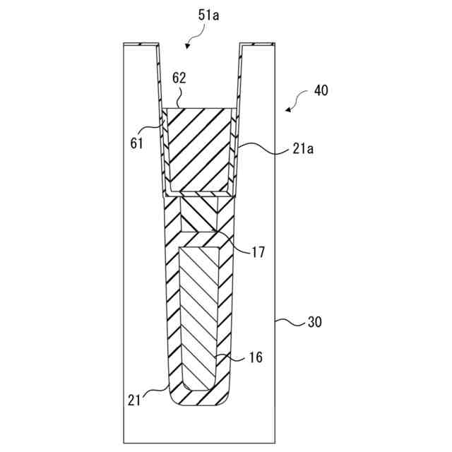
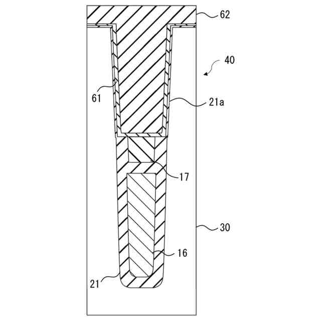
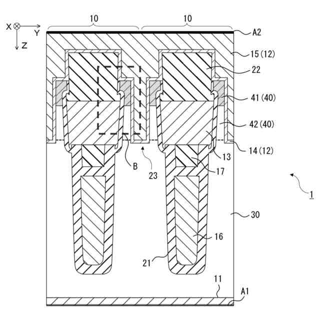
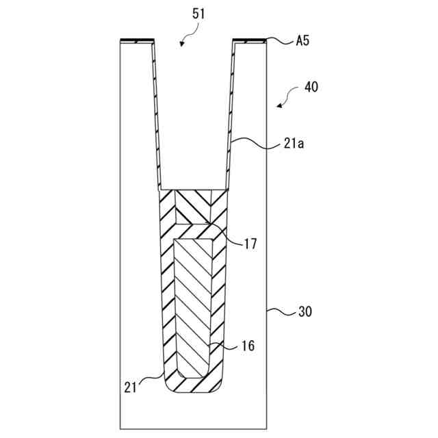
本開示の実施形態に係る半導体装置を例示する模式的断面図である。
図1のピラー部及び周辺部を拡大した図である。
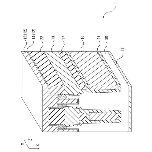
本開示の実施形態に係る半導体装置の立体構造の模式図である。
本開示の実施形態に係る半導体素子のフィールドプレートの形成工程を示す図である。
本開示の実施形態に係る半導体素子の半導体層の第1の酸化工程を示す図である。
本開示の実施形態に係る半導体素子の絶縁膜の第1の成膜工程を示す図である。
本開示の実施形態に係る半導体素子の絶縁膜の第2の成膜工程を示す図である。
本開示の実施形態に係る半導体素子の絶縁膜の第1のエッチバック工程を示す図である。
本開示の実施形態に係る半導体素子の絶縁膜の第1の除去工程を示す図である。
本開示の実施形態に係る半導体素子の絶縁膜の第2の除去工程を示す図である。
本開示の実施形態に係る半導体素子の半導体層の第2の酸化工程を示す図である。
本開示の実施形態に係る半導体素子の絶縁膜の第3の除去工程を示す図である。
本開示の実施形態に係る半導体素子の絶縁膜のハーフエッチバック工程を示す図である。
本開示の実施形態に係る半導体素子の胴部領域の形成工程を示す図である。
本開示の実施形態に係る半導体素子の半導体層の第3の酸化工程を示す図である。
本開示の実施形態に係る半導体素子の制御電極の形成工程を示す図である。
本開示の実施形態に係る半導体素子の制御電極のエッチバック工程を示す図である。
本開示の実施形態に係る半導体素子の第2絶縁部の形成工程を示す図である。
本開示の実施形態に係る半導体素子の絶縁部のエッチバック工程を示す図である。
本開示の実施形態に係る半導体素子のメサ部の第1の形成工程を示す図である。
本開示の実施形態に係る半導体素子のメサ部の第2の形成工程を示す図である。
本開示の実施形態に係る半導体素子の半導体層の第4の酸化工程を示す図である。
本開示の実施形態に係る半導体素子の不純物のドープ及び熱拡散工程を示す図である。
本開示の実施形態に係る半導体素子の絶縁膜の第3の成膜工程を示す図である。
本開示の実施形態に係る半導体素子の絶縁膜の第2のエッチバック工程を示す図である。
本開示の実施形態に係る半導体素子のトレンチの形成工程を示す図である。
本開示の実施形態に係る半導体素子の絶縁部のエッチング工程を示す図である。
本開示の実施形態に係る半導体素子の第1金属層のメタル成膜工程を示す図である。
本開示の実施形態に係る半導体素子の第2金属層のメタル成膜工程を示す図である。
一比較例に係る半導体装置の構成を示す第1の図である。
一比較例に係る半導体装置の構成を示す第2の図である。
【発明を実施するための形態】
【0007】
以下、図面を参照して本発明に係る実施形態を説明する。実施形態は、本発明を限定するものではない。図面は模式的または概念的なものであり、各部分の比率などは、必ずしも現実のものと同一とは限らない。明細書と図面において、既出の図面に関して前述したものと同様の要素には同一の符号を付して詳細な説明は適宜省略する。
【0008】
また、説明の便宜上、図1等に示すように、XYZ直交座標系を採用する。Z軸方向は、半導体装置の積層方向(厚さ方向)である。Y軸方向は、半導体装置の平面方向のうちの一方向であり、より具体的には複数の半導体素子が配列される方向である。また、Z軸方向のうち、ソース電極側を「上」ともいい、ドレイン電極側を「下」ともいう。ただし、この表現は便宜的なものであり、重力の方向とは無関係である。本明細書では、Z軸方向、Y軸方向、及びX軸方向を、それぞれ第1方向Z、第2方向Y、及び第3方向Xとも呼ぶ。
【0009】
また、以下の説明において、各導電形における不純物濃度の相対的な高低を表すために、n
+
、n、n
-
、および、p
+
、p、p
-
の表記を用いる場合がある。すなわち、n
+
はnよりもn形不純物濃度が相対的に高く、n
-
はnよりもn形不純物濃度が相対的に低いことを示す。また、p
+
はpよりもp形不純物濃度が相対的に高く、p
-
はpよりもp形不純物濃度が相対的に低いことを示す。これらの表記は、それぞれの領域にp形不純物とn形不純物の両方が含まれている場合には、それらの不純物が補償しあった後の正味の不純物濃度の相対的な高低を表す。本明細書では、n形、n
+
形およびn
-
形第1導電形とも呼ぶ。また、本明細書では、p形、p
+
形およびp
-
形は第2導電形とも呼ぶ。なお、以下の説明において、n形とp形は反転されてもよい。
【0010】
また、半導体領域の不純物濃度は、たとえば、二次イオン質量分析法(Secondary Ion Mass Spectrometry:SIMS)により測定することが可能である。また、不純物濃度の相対的な高低は、たとえば、走査型静電容量顕微鏡法(Scanning Capacitance Microscopy:SCM)で求められるキャリア濃度の高低から判断することも可能である。
(【0011】以降は省略されています)
この特許をJ-PlatPat(特許庁公式サイト)で参照する
関連特許
株式会社東芝
モータ
1か月前
株式会社東芝
端子台
22日前
株式会社東芝
電子装置
1か月前
株式会社東芝
電子回路
1か月前
株式会社東芝
除去装置
15日前
株式会社東芝
電子装置
1か月前
株式会社東芝
吸音装置
1か月前
株式会社東芝
半導体装置
1日前
株式会社東芝
半導体装置
1か月前
株式会社東芝
半導体装置
1か月前
株式会社東芝
半導体装置
1か月前
株式会社東芝
半導体装置
1か月前
株式会社東芝
半導体装置
1か月前
株式会社東芝
半導体装置
1か月前
株式会社東芝
半導体装置
1か月前
株式会社東芝
半導体装置
1か月前
株式会社東芝
高周波回路
1か月前
株式会社東芝
半導体装置
1か月前
株式会社東芝
半導体装置
1か月前
株式会社東芝
半導体装置
1か月前
株式会社東芝
半導体装置
1か月前
株式会社東芝
半導体装置
1か月前
株式会社東芝
粒子加速器
1か月前
株式会社東芝
真空バルブ
1か月前
株式会社東芝
半導体装置
1か月前
株式会社東芝
真空バルブ
1か月前
株式会社東芝
半導体装置
1か月前
株式会社東芝
熱電変換装置
1か月前
株式会社東芝
音響制御装置
1か月前
株式会社東芝
コントローラ
1か月前
株式会社東芝
超電導コイル
1か月前
株式会社東芝
電子デバイス
1か月前
株式会社東芝
重量測定装置
1か月前
株式会社東芝
台車搬送装置
1か月前
株式会社東芝
電子デバイス
1か月前
株式会社東芝
ディスク装置
14日前
続きを見る
他の特許を見る