TOP
|
特許
|
意匠
|
商標
特許ウォッチ
Twitter
他の特許を見る
公開番号
2025142973
公報種別
公開特許公報(A)
公開日
2025-10-01
出願番号
2024042630
出願日
2024-03-18
発明の名称
電子デバイス
出願人
株式会社東芝
,
東芝デバイス&ストレージ株式会社
代理人
弁理士法人iX
主分類
H01L
25/07 20060101AFI20250924BHJP(基本的電気素子)
要約
【課題】2つのチップ間の接合不良を低減できる電子デバイスの提供。
【解決手段】電子デバイスは、第1面を有する第1基板と、配線層を有し、第1面に設けられた配線部とを有する第1チップと、第1方向において配線部に対向する第2面を有する第2基板を有する第2チップと、配線部と第2面との間に設けられ、配線層と電気的に接続された接続部と、配線部と第2面との間に設けられ、第1チップと第2チップとを接合する接合部とを備える。接続部は、配線部上及び第2面上にそれぞれ設けられた金属部同士がギャップを隔てて第1方向において対向する容量結合構造を有する。
【選択図】図1
特許請求の範囲
【請求項1】
第1面を有する第1基板と、配線層を有し、前記第1面に設けられた配線部と、を有する第1チップと、
第1方向において前記配線部に対向する第2面を有する第2基板を有する第2チップと、
前記配線部と前記第2面との間に設けられ、前記配線層と電気的に接続された接続部と、
前記配線部と前記第2面との間に設けられ、前記第1チップと前記第2チップとを接合する接合部と、
を備え、
前記接続部は、前記配線部上及び前記第2面上にそれぞれ設けられた金属部同士がギャップを隔てて前記第1方向において対向する容量結合構造を有する、電子デバイス。
続きを表示(約 950 文字)
【請求項2】
前記接続部は、互いに異なる電位が与えられる第1接続部と第2接続部とを有し、
前記電子デバイスは、
前記第1基板、前記配線部、及び前記第2基板を前記第1方向に貫通する貫通孔と、
前記第2基板を貫通する前記貫通孔の内側面に設けられ、前記第1接続部と電気的に接続された第1電極と、
前記第2基板を貫通する前記貫通孔の内側面に設けられ、前記第2接続部と電気的に接続された第2電極と、
をさらに備える、請求項1に記載の電子デバイス。
【請求項3】
前記第2基板の前記第2面上に設けられ、前記第1電極及び前記第1接続部と電気的に接続された第1導電膜と、
前記第2基板の前記第2面上に設けられ、前記第2電極及び前記第2接続部と電気的に接続された第2導電膜と、
をさらに備える、請求項2に記載の電子デバイス。
【請求項4】
前記第2基板は、シリコン基板であり、
前記貫通孔の前記内側面と前記第1電極との間、前記貫通孔の前記内側面と前記第2電極との間、前記第2面と前記第1導電膜との間、及び前記第2面と前記第2導電膜との間に設けられた絶縁膜をさらに備える、請求項3に記載の電子デバイス。
【請求項5】
複数の前記貫通孔、複数の前記第1接続部、及び複数の前記第2接続部を備える、請求項2に記載の電子デバイス。
【請求項6】
1つの前記貫通孔に対して1対1で対応して1つの前記第1接続部が配置され、
前記第2接続部の数は、前記第1接続部の数よりも多い、請求項5に記載の電子デバイス。
【請求項7】
前記接合部は、樹脂部材である、請求項1から6のいずれか1つに記載の電子デバイス。
【請求項8】
前記接合部は、無機部材である、請求項1から6のいずれか1つに記載の電子デバイス。
【請求項9】
前記接合部は、金属部材である、請求項1から6のいずれか1つに記載の電子デバイス。
【請求項10】
前記ギャップの前記第1方向の大きさは、0.005μm以下である、請求項1から6のいずれか1つに記載の電子デバイス。
発明の詳細な説明
【技術分野】
【0001】
本発明の実施形態は、電子デバイスに関する。
続きを表示(約 1,400 文字)
【背景技術】
【0002】
金属どうしの接合により2つのチップを接合させたデバイスが知られている。
【先行技術文献】
【特許文献】
【0003】
特開2004-282038号公報
【発明の概要】
【発明が解決しようとする課題】
【0004】
本発明の実施形態は、2つのチップ間の接合不良を低減できる電子デバイスの提供を目的とする。
【課題を解決するための手段】
【0005】
本発明の実施形態によれば、電子デバイスは、第1面を有する第1基板と、配線層を有し、前記第1面に設けられた配線部と、を有する第1チップと、第1方向において前記配線部に対向する第2面を有する第2基板を有する第2チップと、前記配線部と前記第2面との間に設けられ、前記配線層と電気的に接続された接続部と、前記配線部と前記第2面との間に設けられ、前記第1チップと前記第2チップとを接合する接合部と、を備え、前記接続部は、前記配線部上及び前記第2面上にそれぞれ設けられた金属部同士がギャップを隔てて前記第1方向において対向する容量結合構造を有する。
【図面の簡単な説明】
【0006】
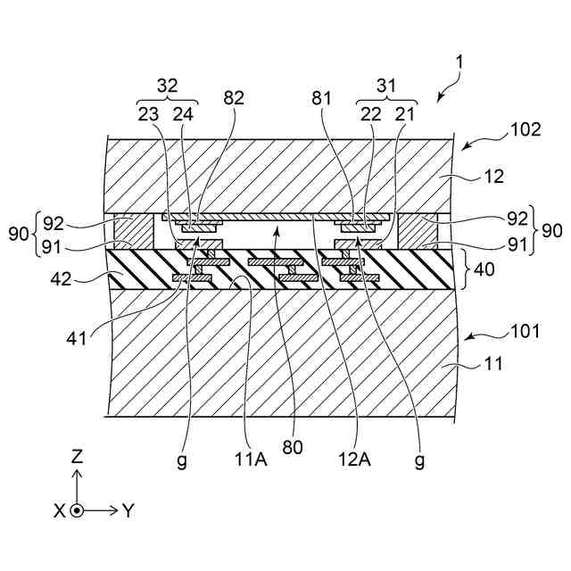
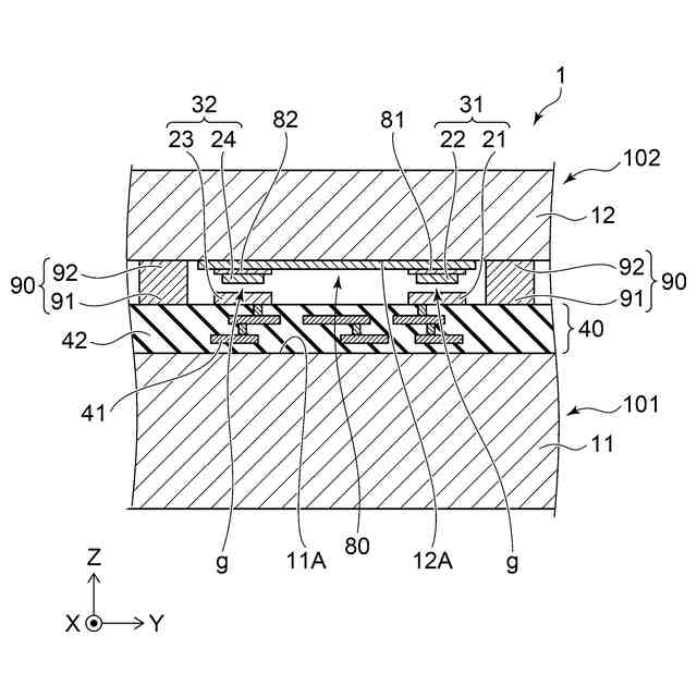
第1実施形態の電子デバイスの模式断面図である。
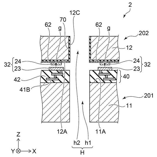
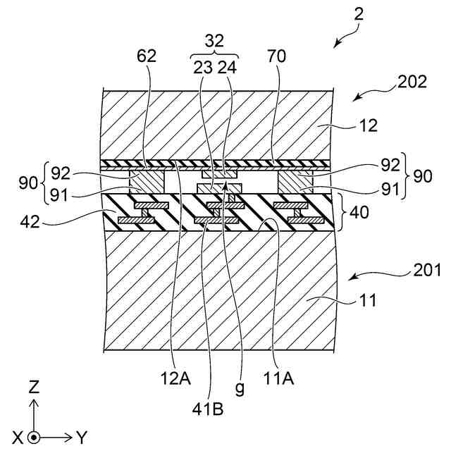
第2実施形態の電子デバイスの模式平面図である。
図2におけるA-A断面図である。
図2におけるB-B断面図である。
図2におけるC-C断面図である。
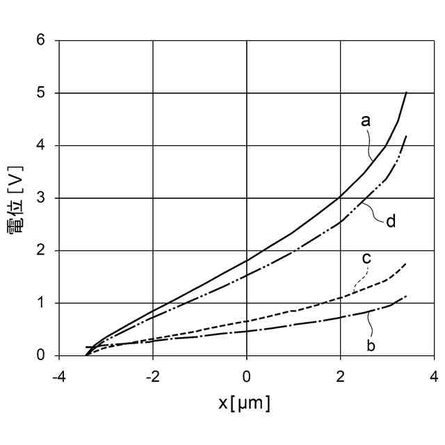
シミュレーション1の結果を示すグラフである。
シミュレーション2の結果を示すグラフである。
【発明を実施するための形態】
【0007】
以下に、各実施形態について図面を参照しつつ説明する。
図面は模式的または概念的なものであり、各部分の厚さと幅との関係、部分間の大きさの比率などは、必ずしも現実のものと同一とは限らない。同じ部分を表す場合であっても、図面により互いの寸法や比率が異なって表される場合もある。
また、同一または同様の要素には、同じ符号を付している。
【0008】
[第1実施形態]
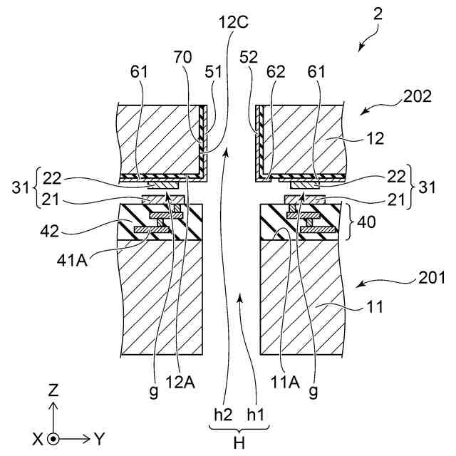
図1に示すように、第1実施形態の電子デバイス1は、第1チップ101と、第2チップ102と、第1接続部31と、第2接続部32と、接合部90とを備える。複数の接合部90が第1チップ101と第2チップ102との間に設けられている。第1チップ101と第2チップ102とは、接合部90を介して互いに接合され、第1方向Zにおいて積層されている。なお、第1方向Zに直交する2方向を、第2方向X及び第3方向Yとする。第2方向Xと第3方向Yとは互いに直交する。
【0009】
第1チップ101は、第1基板11と、配線部40とを有する。第1基板11は、第1面11Aを有する。第1基板11は、例えば、シリコン基板である。
【0010】
配線部40は、第1面11Aに設けられている。配線部40は、絶縁層42と、絶縁層42内に設けられた配線層41とを有する。配線部40は、例えば、多層配線構造であり、異なる層の配線層41同士が導電ビアによって電気的に接続されている。
(【0011】以降は省略されています)
この特許をJ-PlatPat(特許庁公式サイト)で参照する
関連特許
株式会社東芝
端子台
11日前
株式会社東芝
電子装置
24日前
株式会社東芝
電子回路
20日前
株式会社東芝
除去装置
4日前
株式会社東芝
半導体装置
20日前
株式会社東芝
半導体装置
27日前
株式会社東芝
真空バルブ
19日前
株式会社東芝
半導体装置
20日前
株式会社東芝
半導体装置
20日前
株式会社東芝
高周波回路
20日前
株式会社東芝
半導体装置
20日前
株式会社東芝
半導体装置
20日前
株式会社東芝
半導体装置
26日前
株式会社東芝
半導体装置
24日前
株式会社東芝
半導体装置
24日前
株式会社東芝
半導体装置
24日前
株式会社東芝
半導体装置
25日前
株式会社東芝
真空バルブ
25日前
株式会社東芝
半導体装置
26日前
株式会社東芝
半導体装置
26日前
株式会社東芝
半導体装置
26日前
株式会社東芝
半導体装置
26日前
株式会社東芝
補修システム
17日前
株式会社東芝
超電導コイル
27日前
株式会社東芝
コントローラ
20日前
株式会社東芝
ディスク装置
3日前
株式会社東芝
半導体スイッチ
18日前
株式会社東芝
半導体集積回路
19日前
株式会社東芝
電気車制御装置
6日前
株式会社東芝
磁気ディスク装置
20日前
株式会社東芝
真空ダクト及び加速器
27日前
株式会社東芝
半導体装置の製造方法
24日前
株式会社東芝
半導体装置及びウエーハ
12日前
株式会社東芝
電力変換装置の冷却装置
14日前
株式会社東芝
量子鍵配送ネットワーク
24日前
株式会社東芝
半導体装置及び製造方法
25日前
続きを見る
他の特許を見る