TOP
|
特許
|
意匠
|
商標
特許ウォッチ
Twitter
他の特許を見る
公開番号
2025157892
公報種別
公開特許公報(A)
公開日
2025-10-16
出願番号
2024060219
出願日
2024-04-03
発明の名称
焼結材、超電導テープ、及び超電導テープ用強化層
出願人
株式会社UACJ
代理人
名古屋国際弁理士法人
主分類
H01F
6/06 20060101AFI20251008BHJP(基本的電気素子)
要約
【課題】ヤング率が大きく、電気伝導度が高い焼結材及び超電導テープ用強化層、並びに、強化層のヤング率が大きく、電気伝導度が高い超電導テープを提供すること。
【解決手段】焼結材は、炭化タングステンの粒子と、真鍮の粒子とを含む。例えば、焼結材は、シート状の形態を有する。例えば、炭化タングステンと真鍮との合計質量Mに対する炭化タングステンの質量mの比率m/Mは、0.088以上0.245以下である。例えば、前記焼結材のヤング率は110GPa以上225GPa以下である。例えば、前記焼結材の電気伝導度は2.1μΩcm以上3.0μΩcm以下である。例えば、前記焼結材の熱膨張係数は11×10
-6
/K以上21×10
-6
/K以下である。
【選択図】図1
特許請求の範囲
【請求項1】
炭化タングステンの粒子と、真鍮の粒子とを含む焼結材。
続きを表示(約 550 文字)
【請求項2】
請求項1に記載の焼結材であって、
シート状の形態を有する、
焼結材。
【請求項3】
請求項1又は2に記載の焼結材であって、
炭化タングステンと真鍮との合計質量Mに対する炭化タングステンの質量mの比率m/Mが0.088以上0.245以下である、
焼結材。
【請求項4】
請求項1又は2に記載の焼結材であって、
前記焼結材のヤング率が110GPa以上225GPa以下であり、
前記焼結材の電気伝導度が2.1μΩcm以上3.0μΩcm以下であり、
前記焼結材の熱膨張係数が11×10
-6
/K以上21×10
-6
/K以下である、
焼結材。
【請求項5】
超電導層と、
前記超電導層の両側に配置された金属層と、
前記金属層よりも外側に配置された強化層と、
を備える超電導テープであって、
前記強化層は、炭化タングステンの粒子と、真鍮の粒子とを含む焼結材を含む層である、
超電導テープ。
【請求項6】
炭化タングステンの粒子と、真鍮の粒子とを含む焼結材を含む超電導テープ用強化層。
発明の詳細な説明
【技術分野】
【0001】
本開示は、焼結材、超電導テープ、及び超電導テープ用強化層に関する。
続きを表示(約 1,500 文字)
【背景技術】
【0002】
超電導テープは、超電導層と、超電導層の両側に配置された金属層と、金属層よりも外側に配置された強化層と、を備える。超電導テープの構造は、特許文献1、2に開示されている。
【先行技術文献】
【特許文献】
【0003】
特許第5040668号公報
特許第5326573号公報
【発明の概要】
【発明が解決しようとする課題】
【0004】
強化層は、ヤング率が大きいことに加えて、電気伝導度が高いことが好ましい。その理由は以下のとおりである。長尺の超電導テープを製造するためには、複数の超電導テープを接合する必要がある。隣接する2つの超電導テープは、強化層を介して接合する。そのため、強化層の電気伝導度が高いことが好ましい。
【0005】
また、トラブル等によって超電導層が破断すると、大電流が強化層に流入する。この場合、強化層が発熱することを抑制するために、強化層の電気伝導度が高いことが好ましい。従来、強化層の材質は、SUS304、ハステロイ(Hastelloy)C276等であった。従来の強化層は、電気伝導度が低かった。
【0006】
本開示の1つの局面では、ヤング率が大きく、電気伝導度が高い焼結材及び超電導テープ用強化層、並びに、強化層のヤング率が大きく、電気伝導度が高い超電導テープを提供することが好ましい。
【課題を解決するための手段】
【0007】
本開示の1つの局面は、炭化タングステンの粒子と、真鍮の粒子とを含む焼結材である。本開示の1つの局面である焼結材は、ヤング率が大きく、電気伝導度が高い。
本開示の別の局面は、超電導層と、前記超電導層の両側に配置された金属層と、前記金属層よりも外側に配置された強化層と、を備える超電導テープである。前記強化層は、炭化タングステンの粒子と、真鍮の粒子とを含む焼結材を含む層である。本開示の別の局面である超電導テープが備える強化層は、ヤング率が大きく、電気伝導度が高い。
【0008】
本開示の別の局面は、炭化タングステンの粒子と、真鍮の粒子とを含む焼結材を含む超電導テープ用強化層である。本開示の別の局面である超電導テープ用強化層は、ヤング率が大きく、電気伝導度が高い。
【図面の簡単な説明】
【0009】
超電導テープの構成を表す側断面図である。
走査電子顕微鏡を用いて撮影した焼結材の写真である。
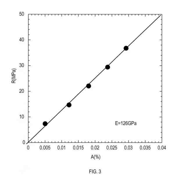
焼結材について測定した応力Rと歪Aとの関係を表すグラフである。
焼結材について測定した電流Iと電圧Vとの関係を表すグラフである。
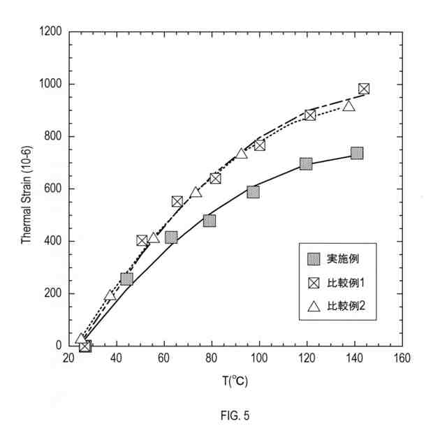
様々な温度で測定した焼結材の熱歪を表すグラフである。
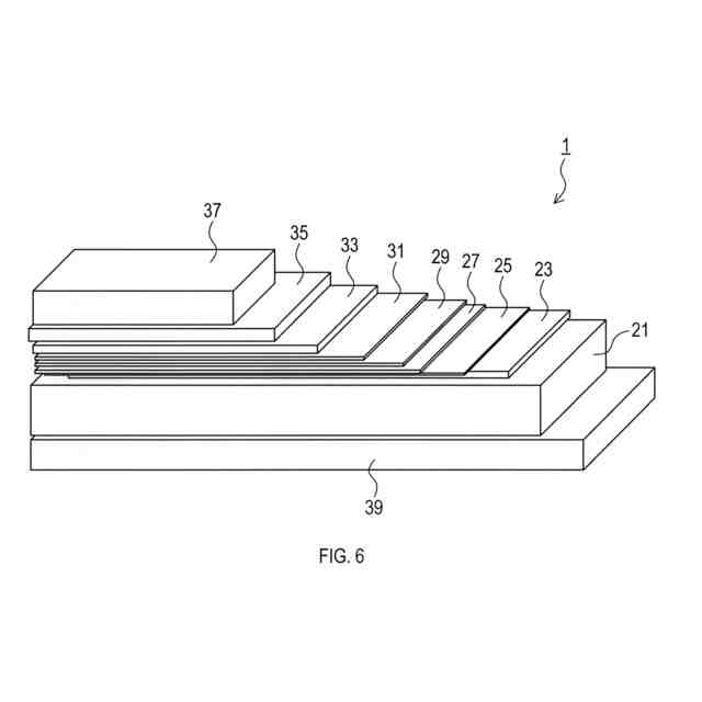
別形態の超電導テープの構成を表す斜視図である。
【発明を実施するための形態】
【0010】
本開示の例示的な実施形態について図面を参照しながら説明する。
1.焼結材の構成
焼結材は、炭化タングステンの粒子と、真鍮の粒子とを含む。炭化タングステンの粒子の平均粒径は、0.45μm以上0.75μm以下であることが好ましい。真鍮の粒子の平均粒径は、1μm以上15μm以下であることが好ましい。炭化タングステンの粒子の平均粒径と、真鍮の粒子の平均粒径とが上記の範囲内である場合、焼結材において、炭化タングステンの粒子と、真鍮の粒子とが均一に分散し易い。
(【0011】以降は省略されています)
この特許をJ-PlatPat(特許庁公式サイト)で参照する
関連特許
株式会社UACJ
折り畳みブース
1か月前
株式会社UACJ
アルミニウム合金板材
1か月前
株式会社UACJ
成形限界ひずみの決定方法
1か月前
株式会社UACJ
焼結材、超電導テープ、及び超電導テープ用強化層
1か月前
株式会社UACJ
磁気ディスク用アルミニウム合金板及び磁気ディスク
1か月前
株式会社UACJ
開封検知用収納容器、リーダ端末、及び開封検知システム
1か月前
株式会社UACJ
アルミニウム合金板、その製造方法及びアルミニウム部材
3か月前
株式会社UACJ
収容物の視認性低下を抑制できる開封検知シート、及び包装材
1か月前
株式会社UACJ
開封検知用のICの性能劣化を抑制できる包装材、及びその製造方法
1か月前
古河電気工業株式会社
磁気ディスク用基板及び磁気ディスク用基板の熱拡散率測定方法、磁気ディスク用基板の検査方法、磁気ディスク用基板の製造方法、ならびに磁気ディスク
1か月前
東ソー株式会社
絶縁電線
1か月前
APB株式会社
蓄電セル
1か月前
個人
フレキシブル電気化学素子
1か月前
日新イオン機器株式会社
イオン源
1か月前
株式会社東芝
端子台
1か月前
マクセル株式会社
電源装置
1か月前
株式会社ユーシン
操作装置
1か月前
ローム株式会社
半導体装置
1か月前
株式会社GSユアサ
蓄電設備
1か月前
株式会社GSユアサ
蓄電装置
29日前
株式会社GSユアサ
蓄電装置
1か月前
株式会社GSユアサ
蓄電設備
1か月前
株式会社GSユアサ
蓄電装置
1か月前
太陽誘電株式会社
コイル部品
1か月前
株式会社ホロン
冷陰極電子源
1か月前
株式会社GSユアサ
蓄電装置
15日前
富士電機株式会社
電磁接触器
15日前
三菱電機株式会社
回路遮断器
23日前
オムロン株式会社
電磁継電器
1か月前
トヨタ自動車株式会社
バッテリ
1か月前
トヨタ自動車株式会社
バッテリ
1か月前
北道電設株式会社
配電具カバー
1か月前
日東電工株式会社
積層体
1か月前
日新イオン機器株式会社
基板処理装置
1か月前
大電株式会社
電線又はケーブル
7日前
トヨタ自動車株式会社
蓄電装置
1か月前
続きを見る
他の特許を見る