TOP
|
特許
|
意匠
|
商標
特許ウォッチ
Twitter
他の特許を見る
10個以上の画像は省略されています。
公開番号
2025153960
公報種別
公開特許公報(A)
公開日
2025-10-10
出願番号
2024056701
出願日
2024-03-29
発明の名称
開封検知用収納容器、リーダ端末、及び開封検知システム
出願人
株式会社UACJ
代理人
弁理士法人暁合同特許事務所
主分類
B65D
75/58 20060101AFI20251002BHJP(運搬;包装;貯蔵;薄板状または線条材料の取扱い)
要約
【課題】開封検知の確実性を向上する。
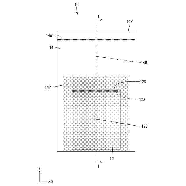
【解決手段】開封検知用収納容器10は、収容部22と、収容部22の開封を検知するための無線通信用のICタグ25と、を備える包装材20が収納される第1収納部12と、ICタグ25の読み取り部41を備えるリーダ端末40が収納される第2収納部14と、を備える。第2収納部14は、読み取り部41を所定位置14Pに収納するように構成されている。第1収納部12は、所定位置14Pと平面に視て重なるように設けられている。
【選択図】図1
特許請求の範囲
【請求項1】
収容部と、前記収容部の開封を検知するための無線通信用のICタグと、を具備する包装材が収納される第1収納部と、
前記ICタグの読み取り部を備えるリーダ端末が収納される第2収納部と、を備え、
前記第2収納部は、前記リーダ端末の前記読み取り部を所定位置に収納するように構成されており、
前記第1収納部は、前記第2収納部の前記所定位置と平面に視て重なるように設けられている開封検知用収納容器。
続きを表示(約 750 文字)
【請求項2】
前記第1収納部及び前記第2収納部はそれぞれ、収納物を出し入れするための出入口と、前記出入口の閉状態を維持するための係合部と、有する請求項1に記載の開封検知用収納容器。
【請求項3】
前記第2収納部は、前記前記リーダ端末に倣う形状及び大きさを有する請求項1又は請求項2に記載の開封検知用収納容器。
【請求項4】
前記第1収納部は、複数が平面に視て並んで設けられている請求項1又は請求項2に記載の開封検知用収納容器。
【請求項5】
前記第2収納部に対して前記第1収納部と反対側に設けられる第3収納部をさらに備え、
前記第2収納部と前記第3収納部との間の電磁シールドとなる遮蔽部が設けられている請求項1又は請求項2に記載の開封検知用収納容器。
【請求項6】
前記包装材及び前記リーダ端末が収納された状態で持ち運び可能である請求項1又は請求項2に記載の開封検知用収納容器。
【請求項7】
請求項1又は請求項2に記載の開封検知用収納容器の前記第2収納部に収納されるリーダ端末であって、前記第2収納部に収納される際の適切な向きを示す識別部を有するリーダ端末。
【請求項8】
請求項1又は請求項2に記載の開封検知用収納容器と、
前記開封検知用収納容器の前記第1収納部に収納される前記包装材と、
前記開封検知用収納容器の前記第2収納部に収納される前記リーダ端末と、を備え、
前記包装材は、複数の収容部を有し、
前記ICタグは、前記収容部毎に複数設けられ、
前記リーダ端末は、前記各ICタグを読み取り、前記各収容部の開封を個別に検知可能である開封検知システム。
発明の詳細な説明
【技術分野】
【0001】
本技術は、開封検知の確実性を向上できる開封検知用収納容器、リーダ端末、及び開封検知システムに関する。
続きを表示(約 1,000 文字)
【背景技術】
【0002】
従来、錠剤等を収容する収容部を備える包装材において、収容部の開封を検知するために無線ICタグ(例えばRFIDタグ)を用いることが知られており、その一例が特許文献1に開示されている。特許文献1に記載の開封管理システムは、収容部を覆うカバー部が開封され、当該収容部に対応する導体パターンが断線すると、断線状態がRFIDタグを介してリーダライタによって読み取られる仕組みとなっている。
【先行技術文献】
【特許文献】
【0003】
国際公開第2017/183362号
【発明の概要】
【発明が解決しようとする課題】
【0004】
特許文献1に記載のリーダライタは、収容部を備えるパッケージ本体、及びRFIDタグを備える検出ステージの近傍に配置するとされている。しかしながら、リーダライタをRFIDタグの近傍に配置した場合であっても、両者間の距離や角度によってはうまく読み取れず、ひいては開封が検知されないことがある。
【0005】
本技術は上記のような実情に基づいて完成されたものであって、開封検知の確実性を向上することを目的とする。
【課題を解決するための手段】
【0006】
本技術に関わる開封検知用収納容器は、収容部と、前記収容部の開封を検知するための無線通信用のICタグと、を具備する包装材が収納される第1収納部と、前記ICタグの読み取り部を備えるリーダ端末が収納される第2収納部と、を備え、前記第2収納部は、前記リーダ端末の前記読み取り部を所定位置に収納するように構成されており、前記第1収納部は、前記第2収納部の前記所定位置と平面に視て重なるように設けられている。
【0007】
また、前記第1収納部及び前記第2収納部はそれぞれ、収納物を出し入れするための出入口と、前記出入口の閉状態を維持するための係合部と、を有していてもよい。
【0008】
また、前記第2収納部は、前記前記リーダ端末に倣う形状及び大きさを有していてもよい。
【0009】
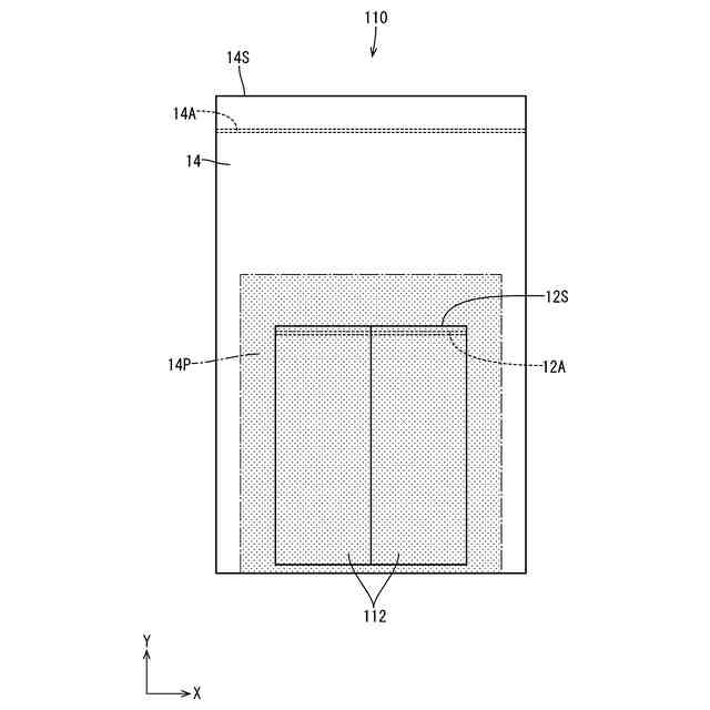
また、前記第1収納部は、複数が平面に視て並んで設けられていてもよい。
【0010】
また、前記第2収納部に対して前記第1収納部と反対側に設けられる第3収納部をさらに備え、前記第2収納部と前記第3収納部との間の電磁シールドとなる遮蔽部が設けられていてもよい。
(【0011】以降は省略されています)
この特許をJ-PlatPat(特許庁公式サイト)で参照する
関連特許
株式会社UACJ
折り畳みブース
1か月前
株式会社UACJ
アルミニウム合金板材
1か月前
株式会社UACJ
成形限界ひずみの決定方法
1か月前
株式会社UACJ
焼結材、超電導テープ、及び超電導テープ用強化層
1か月前
株式会社UACJ
磁気ディスク用アルミニウム合金板及び磁気ディスク
1か月前
株式会社UACJ
開封検知用収納容器、リーダ端末、及び開封検知システム
1か月前
株式会社UACJ
アルミニウム合金板、その製造方法及びアルミニウム部材
3か月前
株式会社UACJ
収容物の視認性低下を抑制できる開封検知シート、及び包装材
1か月前
株式会社UACJ
開封検知用のICの性能劣化を抑制できる包装材、及びその製造方法
1か月前
古河電気工業株式会社
磁気ディスク用基板及び磁気ディスク用基板の熱拡散率測定方法、磁気ディスク用基板の検査方法、磁気ディスク用基板の製造方法、ならびに磁気ディスク
1か月前
個人
収容箱
4か月前
個人
束ね具
24日前
個人
コンベア
6か月前
個人
段ボール箱
8か月前
個人
ゴミ収集器
8か月前
個人
容器
10か月前
個人
段ボール箱
8か月前
個人
バンド
3か月前
個人
宅配システム
8か月前
個人
テープ引出機
24日前
個人
楽ちんハンド
6か月前
個人
土嚢運搬器具
9か月前
個人
角筒状構造体
6か月前
個人
廃棄物収容容器
3か月前
個人
コード類収納具
9か月前
個人
棒状体収容容器
28日前
個人
閉塞装置
11か月前
個人
お薬の締結装置
7か月前
個人
包装容器
2か月前
株式会社和気
包装用箱
1か月前
個人
蓋閉止構造
5か月前
個人
蓋閉止構造
5か月前
個人
積み重ね用補助具
4か月前
個人
貯蔵サイロ
8か月前
株式会社和気
包装用箱
10か月前
個人
ゴミ処理機
10か月前
続きを見る
他の特許を見る