TOP
|
特許
|
意匠
|
商標
特許ウォッチ
Twitter
他の特許を見る
10個以上の画像は省略されています。
公開番号
2025152607
公報種別
公開特許公報(A)
公開日
2025-10-10
出願番号
2024054578
出願日
2024-03-28
発明の名称
折り畳みブース
出願人
株式会社UACJ
代理人
弁理士法人あしたば国際特許事務所
主分類
E04H
1/12 20060101AFI20251002BHJP(建築物)
要約
【解決課題】折り畳みのしやすさと折り畳み時の動作の安定性とを向上させた折り畳みブースを提供する。
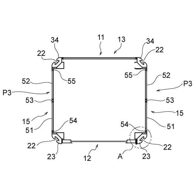
【解決手段】折り畳みブースは、第1キャスタに支持された正面壁部と、第2キャスタに支持されるとともに前記正面壁部と対向する背面壁部と、前記正面壁部および前記背面壁部のいずれか一方の上部に設けられた消火設備と、前記正面壁部と前記背面壁部とを連結するとともに、伸張した第1位置と、内側に折り畳まれた第2位置と、の間で回動可能な頂壁と、前記正面壁部と前記背面壁部とを連結するとともに、伸張した第3位置と、内側に折り畳まれた第4位置と、の間で回動可能な側面壁と、を備える。
【選択図】図1
特許請求の範囲
【請求項1】
第1キャスタに支持された正面壁部と、
第2キャスタに支持されるとともに前記正面壁部と対向する背面壁部と、
前記正面壁部および前記背面壁部のいずれか一方の上部に設けられた消火設備収納部と、
前記正面壁部と前記背面壁部とを連結するとともに、伸張した第1位置と、内側に折り畳まれた第2位置と、の間で回動可能な頂壁と、
前記正面壁部と前記背面壁部とを連結するとともに、伸張した第3位置と、内側に折り畳まれた第4位置と、の間で回動可能な側面壁と、
を備える折り畳みブース。
続きを表示(約 660 文字)
【請求項2】
前記消火設備収納部は、消火設備を収納可能である請求項1に記載の折り畳みブース。
【請求項3】
前記消火設備収納部は、前記背面壁部又は前記正面壁部の前後方向における厚さの範囲内に設けられる請求項2に記載の折り畳みブース。
【請求項4】
前記頂壁が前記第1位置にあり、且つ前記側面壁が前記第3位置にあるときに、前記頂壁、前記正面壁部、前記背面壁部、および前記側面壁のそれぞれの端部で規定される開口部と、
前記正面壁部および前記背面壁部のいずれか一方に対してヒンジ部を介して回動可能に取り付けられ、前記開口部を覆った第5位置と、前記開口部から退避した第6位置と、の間で回動可能な第2側面壁と、
を備える請求項1~3のいずれか1項に記載の折り畳みブース。
【請求項5】
前記正面壁部は、
幅方向の両端部に設けられ高さ方向に延びる支柱状に設けられた一対のコーナー部と、
一対のコーナー部の外面から内側に窪むように設けられ、作業者が手掛け可能な手掛け部と、
を備える請求項1~3のいずれか1項に記載の折り畳みブース。
【請求項6】
前記背面壁部は、
幅方向の両端部に設けられ縦方向に延びる支柱状に設けられた一対のコーナー部と、
一対のコーナー部の外面から内側に窪むように設けられ、作業者が手掛け可能な手掛け部と、
を備える請求項1~3のいずれか1項に記載の折り畳みブース。
発明の詳細な説明
【技術分野】
【0001】
本発明は、一定の高さを保ちながら簡単に折り畳むことができ、可動性に優れたブースに関する。
続きを表示(約 1,600 文字)
【背景技術】
【0002】
近年、オンライン会議などが増えるに従い、個別に会議をするための個室ブースが多く提案されている。例えば、人が入って作業等をするためのブースが知られている(例えば、特許文献1参照)。このブースは、隔壁の一部に通音領域Rと、通温領域Rの開放割合を調整可能な遮蔽カバーと、を有する。
一方、折りたためるブースも存在する(特許文献2参照)。このブースでは、大規模な工事を要することなくブースの設置および撤去が可能となる。
【先行技術文献】
【特許文献】
【0003】
特開2020-200628号公報
特開2023-155033号公報
【発明の開示】
【発明が解決しようとする課題】
【0004】
個室ブースは、大別すると天井のないブースと、天井があるブースと、に分けられる。天井がある個室ブースには、消防法により消火設備の設置が義務付けられている。特許文献2のブースにも天井部分に消火装置が設置されている。しかしながら、消火装置は重量が大きく、天井部分を消火装置ごと折りたたむ構造になっていると、折りたたむ際にある程度の力が必要になる。また、折り畳み動作に伴って消火装置が移動する構造になっているため、消火装置を壊さないように慎重に開閉を行う必要がある。
【0005】
本発明の目的は、一定の高さを保ちながら開閉でき、折り畳みのしやすさと折り畳み時の動作の安定性とを向上させた折り畳みブースを提供する。
【課題を解決するための手段】
【0006】
上記課題は、以下の本発明により解決される。すなわち、本発明(1)の折り畳みブースは、
第1キャスタに支持された正面壁部と、
第2キャスタに支持されるとともに前記正面壁部と対向する背面壁部と、
前記正面壁部および前記背面壁部のいずれか一方の上部に設けられた消火設備収納部と、
前記正面壁部と前記背面壁部とを連結するとともに、伸張した第1位置と、内側に折り畳まれた第2位置と、の間で回動可能な頂壁と、
前記正面壁部と前記背面壁部とを連結するとともに、伸張した第3位置と、内側に折り畳まれた第4位置と、の間で回動可能な側面壁と、
を備える。
【0007】
また、本発明(2)の折り畳みブースは、(1)記載の折り畳みブースであって、
前記消火設備収納部は、消火設備を収納可能である。
【0008】
また、本発明(3)の折り畳みブースは、(2)記載の折り畳みブースであって、
前記消火設備収納部は、前記背面壁部又は前記正面壁部の前後方向における厚さの範囲内に設けられる。
【0009】
また、本発明(4)の折り畳みブースは、(1)~(3)のいずれか1項に記載の折り畳みブースであって、
前記頂壁が前記第1位置にあり、且つ前記側面壁が前記第3位置にあるときに、前記頂壁、前記正面壁部、前記背面壁部、および前記側面壁のそれぞれの端部で規定される開口部と、
前記正面壁部および前記背面壁部のいずれか一方に対してヒンジ部を介して回動可能に取り付けられ、前記開口部を覆った第5位置と、前記開口部から退避した第6位置と、の間で回動可能な第2側面壁と、
を備える。
【0010】
また、本発明(5)の折り畳みブースは、(1)~(4)のいずれか1項に記載の折り畳みブースであって、
前記正面壁部は、
幅方向の両端部に設けられ高さ方向に延びる支柱状に設けられた一対のコーナー部と、
一対のコーナー部の外面から内側に窪むように設けられ、作業者が手掛け可能な手掛け部と、
を備える。
(【0011】以降は省略されています)
この特許をJ-PlatPat(特許庁公式サイト)で参照する
関連特許
株式会社UACJ
折り畳みブース
1か月前
株式会社UACJ
アルミニウム合金板材
1か月前
株式会社UACJ
成形限界ひずみの決定方法
1か月前
株式会社UACJ
焼結材、超電導テープ、及び超電導テープ用強化層
1か月前
株式会社UACJ
磁気ディスク用アルミニウム合金板及び磁気ディスク
1か月前
株式会社UACJ
開封検知用収納容器、リーダ端末、及び開封検知システム
1か月前
株式会社UACJ
アルミニウム合金板、その製造方法及びアルミニウム部材
3か月前
株式会社UACJ
収容物の視認性低下を抑制できる開封検知シート、及び包装材
1か月前
株式会社UACJ
開封検知用のICの性能劣化を抑制できる包装材、及びその製造方法
1か月前
古河電気工業株式会社
磁気ディスク用基板及び磁気ディスク用基板の熱拡散率測定方法、磁気ディスク用基板の検査方法、磁気ディスク用基板の製造方法、ならびに磁気ディスク
1か月前
個人
接合構造
2か月前
個人
屋台
2か月前
個人
タッチミー
1か月前
個人
野良猫ハウス
3か月前
個人
安心補助てすり
1か月前
個人
フェンス
3か月前
個人
転落防止用手摺
2か月前
積水樹脂株式会社
柵体
2か月前
個人
ベンリナアングル
1か月前
個人
筋交自動設定装置
2か月前
ニチハ株式会社
建築板
3か月前
個人
居住車両用駐車場
3か月前
個人
熱抵抗多層断熱建材
3か月前
個人
柵
3か月前
個人
補強部材
3か月前
株式会社シンケン
住宅
1か月前
成友建設株式会社
建物
3か月前
個人
防災建築物
1か月前
個人
身体用シェルター
2か月前
鹿島建設株式会社
壁体
3か月前
個人
身体用シェルター
2か月前
個人
可搬型供養墓
2か月前
三洋工業株式会社
床構造
1か月前
株式会社熊谷組
床構成材
1か月前
イワブチ株式会社
組立柱
2か月前
三協立山株式会社
構造体
28日前
続きを見る
他の特許を見る