TOP
|
特許
|
意匠
|
商標
特許ウォッチ
Twitter
他の特許を見る
公開番号
2025153429
公報種別
公開特許公報(A)
公開日
2025-10-10
出願番号
2024055908
出願日
2024-03-29
発明の名称
開封検知用のICの性能劣化を抑制できる包装材、及びその製造方法
出願人
株式会社UACJ
代理人
弁理士法人暁合同特許事務所
主分類
B65D
65/40 20060101AFI20251002BHJP(運搬;包装;貯蔵;薄板状または線条材料の取扱い)
要約
【課題】包装材に備えられる開封検知用のICの性能劣化を抑制する。
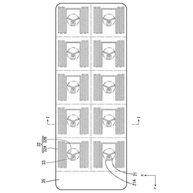
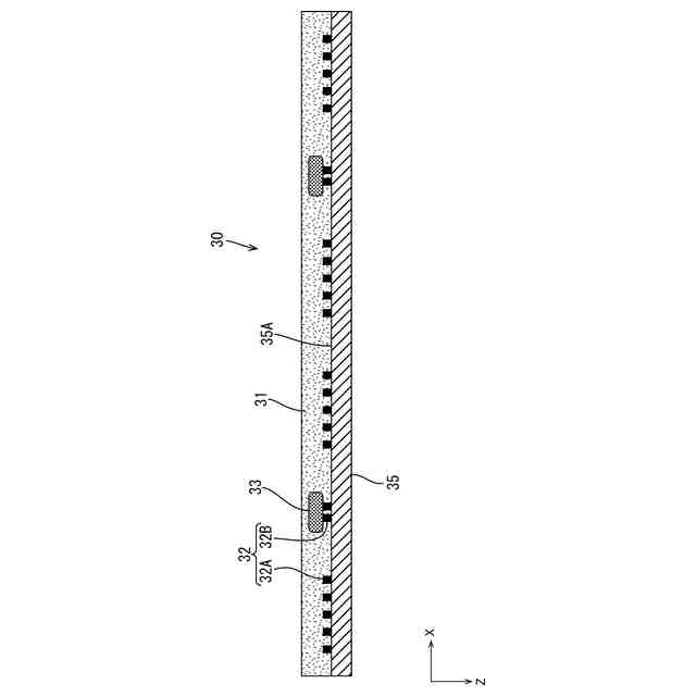
【解決手段】包装材10は、収容部21を有する収容容器20と、収容部21の開口21Aを封止する蓋材30と、を備える。蓋材30は、基材層35と、基材層35上に設けられ、収容部21の開封時に破断される配線32A、32Bを有する金属層32と、金属層32上に実装されて配線32A、32Bと接続され、外部の機器と通信するためのIC33と、収容容器20との熱接着層31と、を備える。熱接着層31は、収容容器20と熱接着される接着領域31Aと、収容容器と熱接着されない非接着領域31Bと、を有する。IC33は、平面に視て熱接着層31の非接着領域31Bと重なる位置に設けられている。
【選択図】図3
特許請求の範囲
【請求項1】
収容部を有する収容容器と、
前記収容容器の前記収容部の開口を封止する蓋材と、を備え、
前記収容部内の収容物は、前記開口を覆う前記蓋材が押し破られることによって取り出し可能であり、
前記蓋材は、
基材層と、
前記基材層上に設けられ、前記収容部の開封時に破断される配線を有する金属層と、
前記金属層上に実装されて前記配線と接続され、外部の機器と通信するためのICと、
前記収容容器との熱接着層と、を備え、
前記熱接着層は、前記収容容器と熱接着される接着領域と、前記収容容器と熱接着されない非接着領域と、を有し、
前記ICは、平面に視て前記熱接着層の前記非接着領域と重なる位置に設けられている包装材。
続きを表示(約 670 文字)
【請求項2】
前記ICは、平面に視て前記収容部の前記開口と重なる位置に設けられている請求項1に記載の包装材。
【請求項3】
前記ICは、前記金属層上に実装された状態で前記熱接着層内に埋設されている請求項1又は請求項2に記載の包装材。
【請求項4】
シート状の基材層の上に、開封時に破断される配線を有する金属層を設け、
前記金属層上に外部の機器と通信するためのICを実装して、前記ICと前記配線とを接続し、
前記金属層、及び前記金属層上に実装された前記ICの上に熱接着層を塗布して、蓋材を製造し、
収容部を有する収容容器に対して前記蓋材の前記熱接着層を熱接着して、前記収容容器の前記収容部の開口を封止し、
前記熱接着の工程において、前記ICは、平面に視て前記熱接着層のうち前記収容容器に熱接着されない非接着領域と重なる位置に配される包装材の製造方法。
【請求項5】
前記熱接着の工程において、前記ICは、平面に視て前記収容部の前記開口と重なる位置に配される請求項4に記載の包装材の製造方法。
【請求項6】
前記熱接着層を塗布する工程において、前記ICは、前記熱接着層内に埋設される請求項4又は請求項5に記載の包装材の製造方法。
【請求項7】
前記熱接着の工程において、前記収容部の前記開口は加熱温度200℃から300℃、押圧力0.2MPaから0.4MPaの熱圧着によって封止される請求項4又は請求項5に記載の包装材の製造方法。
発明の詳細な説明
【技術分野】
【0001】
本技術は、開封検知用のICの性能劣化を抑制できる包装材、及びその製造方法に関する。
続きを表示(約 1,500 文字)
【背景技術】
【0002】
従来、錠剤等を収容する収容部を備える包装材(例えばプレススルーパッケージ(PTP))において、収容部の開封を検知する技術が知られており、その一例が特許文献1に開示されている。特許文献1に記載の包装材は、収容部を密閉する蓋材と、蓋材に貼り付けられ、金属層及び通信用のICを有する開封検知シートと、を備える。収容物が収容部から取り出されると、開封検知シートのICと金属層内のアンテナとが断線し、ICは外部通信機器と通信不可となる。これにより、外部通信機器の送信信号に対してICからの返信信号が途絶えることで、収容部の開封が検知される仕組みとなっている。
【先行技術文献】
【特許文献】
【0003】
特開2022-187574号公報
【発明の概要】
【発明が解決しようとする課題】
【0004】
特許文献1において、開封検知シートは、PTPの蓋材に対して後付けで貼り付けられることが開示されている。このようにすれば、貼り付け前には開封検知シートを別体として保管、流通できる。一方で、開封検知シートそのものを蓋材として用いることができれば、後付けで貼り付ける手間が生じず、簡便に開封検知機能を付与できる。
【0005】
特許文献1に記載のICは、PTPの製造工程において熱圧着すると破損してしまう懸念がある。PTP製造工程における蓋材と収容容器との熱圧着は通常、200℃から300℃程度の温度範囲において0.2MPaから0.4MPa程度の圧力を印加することによって行われる。このような高温高圧下にICが曝されると、破損し通信性能が劣化してしまう懸念がある。
【0006】
本技術は上記のような実情に基づいて完成されたものであって、包装材に備えられる開封検知用のICの性能劣化を抑制することを目的とする。
【課題を解決するための手段】
【0007】
本願明細書に記載の技術に関わる包装材は、収容部を有する収容容器と、前記収容容器の前記収容部の開口を封止する蓋材と、を備え、前記収容部内の収容物は、前記開口を覆う前記蓋材が押し破られることによって取り出し可能であり、前記蓋材は、基材層と、前記基材層上に設けられ、前記収容部の開封時に破断される配線を有する金属層と、前記金属層上に実装されて前記配線と接続され、外部の機器と通信するためのICと、前記収容容器との熱接着層と、を備え、前記熱接着層は、前記収容容器と熱接着される接着領域と、前記収容容器と熱接着されない非接着領域と、を有し、前記ICは、平面に視て前記熱接着層の前記非接着領域と重なる位置に設けられている。
【0008】
また、前記ICは、平面に視て前記収容部の前記開口と重なる位置に設けられていてもよい。
【0009】
また、前記ICは、前記金属層上に実装された状態で前記熱接着層内に埋設されていてもよい。
【0010】
本願明細書に記載の技術に関わる包装材の製造方法は、シート状の基材層の上に、開封時に破断される配線を構成する金属層を設け、前記金属層上に外部の機器と通信するためのICを実装して、前記ICと前記配線とを接続し、前記金属層、及び前記金属層上に実装された前記ICの上に熱接着層を塗布して、蓋材を製造し、収容部を有する収容容器に対して前記蓋材の前記熱接着層を熱接着して、前記収容容器の前記収容部の開口を封止し、前記熱接着の工程において、前記ICは、平面に視て前記熱接着層のうち前記収容容器に熱接着されない非接着領域と重なる位置に配される。
(【0011】以降は省略されています)
この特許をJ-PlatPat(特許庁公式サイト)で参照する
関連特許
株式会社UACJ
折り畳みブース
1か月前
株式会社UACJ
アルミニウム合金板材
1か月前
株式会社UACJ
成形限界ひずみの決定方法
1か月前
株式会社UACJ
焼結材、超電導テープ、及び超電導テープ用強化層
1か月前
株式会社UACJ
磁気ディスク用アルミニウム合金板及び磁気ディスク
1か月前
株式会社UACJ
開封検知用収納容器、リーダ端末、及び開封検知システム
1か月前
株式会社UACJ
収容物の視認性低下を抑制できる開封検知シート、及び包装材
1か月前
株式会社UACJ
開封検知用のICの性能劣化を抑制できる包装材、及びその製造方法
1か月前
古河電気工業株式会社
磁気ディスク用基板及び磁気ディスク用基板の熱拡散率測定方法、磁気ディスク用基板の検査方法、磁気ディスク用基板の製造方法、ならびに磁気ディスク
1か月前
個人
収容箱
4か月前
個人
束ね具
24日前
個人
コンベア
6か月前
個人
段ボール箱
8か月前
個人
ゴミ収集器
8か月前
個人
容器
10か月前
個人
段ボール箱
8か月前
個人
バンド
3か月前
個人
宅配システム
8か月前
個人
テープ引出機
24日前
個人
楽ちんハンド
6か月前
個人
土嚢運搬器具
9か月前
個人
角筒状構造体
6か月前
個人
廃棄物収容容器
3か月前
個人
コード類収納具
9か月前
個人
棒状体収容容器
28日前
個人
閉塞装置
11か月前
個人
お薬の締結装置
7か月前
個人
包装容器
2か月前
株式会社和気
包装用箱
1か月前
個人
蓋閉止構造
5か月前
個人
蓋閉止構造
5か月前
個人
積み重ね用補助具
4か月前
個人
貯蔵サイロ
8か月前
株式会社和気
包装用箱
10か月前
個人
ゴミ処理機
10か月前
個人
把手付米袋
5か月前
続きを見る
他の特許を見る