TOP
|
特許
|
意匠
|
商標
特許ウォッチ
Twitter
他の特許を見る
10個以上の画像は省略されています。
公開番号
2025156900
公報種別
公開特許公報(A)
公開日
2025-10-15
出願番号
2024059645
出願日
2024-04-02
発明の名称
レーダアンテナ
出願人
日本無線株式会社
代理人
個人
,
個人
,
個人
,
個人
主分類
H01Q
13/06 20060101AFI20251007BHJP(基本的電気素子)
要約
【課題】本開示は、波源から開口面へと開口する第1フレア及び第2フレアを備え、第1フレア及び第2フレアの管幅方向と平行な偏波方向の電波を伝搬し、コセカント2乗ビームを形成するレーダアンテナにおいて、誘電体を内部に挿入又は開口面に装荷せず、重量及びコストを抑えることを目的とする。
【解決手段】レーダアンテナは、第1フレアF1の平面とほぼ平行で第2フレアF2の平面と非平行な平面を有し、第1フレアF1に近い側及び第2フレアF2に近い側に電波を分割する電波分割部Pを備えることとした。すると、レーダアンテナの指向性は、第1フレアF1に近い側ではなく第2フレアF2に近い側に重みを有することとなる。
【選択図】図3
特許請求の範囲
【請求項1】
波源から開口面へと開口する第1フレア及び第2フレアを備え、前記第1フレア及び前記第2フレアの管幅方向と平行な偏波方向の電波を伝搬するセクトラルホーンと、
前記第1フレアの平面とほぼ平行で前記第2フレアの平面と非平行な平面を有し、前記第1フレアに近い側及び前記第2フレアに近い側に電波を分割する電波分割部と、
を備えることを特徴とするレーダアンテナ。
続きを表示(約 870 文字)
【請求項2】
前記レーダアンテナの指向性は、前記第1フレアに近い側ではなく前記第2フレアに近い側に重みを有し、前記第1フレアに近い側及び前記第2フレアに近い側で非対称である
ことを特徴とする、請求項1に記載のレーダアンテナ。
【請求項3】
前記第1フレアと前記電波分割部との間を伝搬し、前記第1フレアの平面とほぼ平行に伝搬する電波を、前記第2フレアに近い側に反射する第1電波反射部、
をさらに備えることを特徴とする、請求項1に記載のレーダアンテナ。
【請求項4】
前記第1電波反射部で反射する電波と、前記第1フレアと前記電波分割部との間を伝搬し、前記第2フレアの平面とほぼ平行に伝搬する電波と、が強め合うように干渉する
ことを特徴とする、請求項3に記載のレーダアンテナ。
【請求項5】
前記第2フレアと前記電波分割部との間を伝搬し、前記第2フレアの平面とほぼ平行に伝搬する電波を、前記第1フレアに近い側に反射する第2電波反射部、
をさらに備えることを特徴とする、請求項3に記載のレーダアンテナ。
【請求項6】
前記第2電波反射部で反射する電波と、前記第2フレアと前記電波分割部との間を伝搬し、前記第1フレアの平面とほぼ平行に伝搬する電波と、が弱め合うように干渉する
ことを特徴とする、請求項5に記載のレーダアンテナ。
【請求項7】
前記第1電波反射部は、前記波源から近くに位置し前記開口面から遠くに位置し、前記第2電波反射部は、前記波源から遠くに位置し前記開口面から近くに位置する
ことを特徴とする、請求項5に記載のレーダアンテナ。
【請求項8】
前記レーダアンテナの指向性は、前記第1フレアに近い側ではなく前記第2フレアに近い側に重みを有し、電波の偏波方向と垂直な面内のコセカント2乗ビームの指向性である
ことを特徴とする、請求項1から7のいずれかに記載のレーダアンテナ。
発明の詳細な説明
【技術分野】
【0001】
本開示は、コセカント2乗ビームを形成するレーダアンテナに関する。
続きを表示(約 1,800 文字)
【背景技術】
【0002】
沿岸又は空港等を監視するレーダ装置のビーム指向性として、コセカント2乗ビームの指向性が知られている。コセカント2乗ビームの指向性を図1に示す。
【0003】
図1の左欄では、上下対称ビームの垂直面内の指向性は、正面方向に最も強く、俯角及び仰角が大きければ弱くなる。よって、沿岸又は空港地表面を監視するレーダ装置は、設置高を高くすれば、近距離物標を探知することができず、仰角方向(空中)に向けて、不要放射を生じさせる。一方で、空港で空域にある航空機を監視するレーダ装置は、設置高を低くすれば、近距離物標を探知することができず、俯角方向(地面)に向けて、不要放射を生じさせる。
【0004】
図1の右欄では、コセカント2乗ビームの垂直面内の指向性は、正面方向に最も強く、俯角又は仰角が大きくても強く残る。よって、沿岸又は空港地表面を監視するレーダ装置は、設置高を高くしても、近距離物標を探知することができ、仰角方向(空中)に向けて、不要放射を生じさせない。一方で、空港で空域にある航空機を監視するレーダ装置は、設置高を低くしても、近距離物標を探知することができ、俯角方向(地面)に向けて、不要放射を生じさせない。
【先行技術文献】
【非特許文献】
【0005】
誘電体そう入H面扇形コセカントビームホーンアンテナの設計とその放射特性、信学論B、vol.J65-B、no.10、pp.1221-1228
Radiation Pattern Synthesis of a Lens Horn Antenna、IEICE Trans.Electron.、vol.E87-C、no.9、pp.1425-1431
【発明の概要】
【発明が解決しようとする課題】
【0006】
ところで、水平偏波のコセカント2乗ビームを形成するアンテナとして、開口面曲率を調整されたパラボラアンテナと、非特許文献1、2に開示されたホーンアンテナと、が知られている。ここでは、従来技術のレーダアンテナの構成を図2に示す。
【0007】
図2の左欄のレーダアンテナは、H面のセクトラルホーンH1を備える。セクトラルホーンH1は、波源S(導波管スロット等)から開口面Aへと開口する第1フレアF1及び第2フレアF2を備え、第1フレアF1及び第2フレアF2の管幅方向と平行な偏波方向(水平偏波)の電波を伝搬する。セクトラルホーンH1の内部は、誘電体を挿入され、セクトラルホーンH1の開口面Aは、特殊な形状の曲面を有する。セクトラルホーンH1の開口面Aにおいて、電波が屈折することにより、水平偏波のコセカント2乗ビームが形成される。
【0008】
図2の右欄のレーダアンテナは、H面のセクトラルホーンH2を備える。セクトラルホーンH2は、波源S(導波管スロット等)から開口面Aへと開口する第1フレアF1及び第2フレアF2を備え、第1フレアF1及び第2フレアF2の管幅方向と平行な偏波方向(水平偏波)の電波を伝搬する。セクトラルホーンH2の開口面Aは、特殊な形状の曲面を有し、この曲面に沿って誘電体Dを装荷される。セクトラルホーンH2の開口面Aにおいて、電波が屈折することにより、水平偏波のコセカント2乗ビームが形成される。
【0009】
ここで、図2の左欄又は右欄のレーダアンテナが、第1フレアF1及び第2フレアF2の管幅方向に短尺であれば、誘電体を内部に挿入するか、誘電体Dを開口面Aに装荷しても、重量及びコストを抑えることができる。しかし、図2の左欄又は右欄のレーダアンテナが、第1フレアF1及び第2フレアF2の管幅方向に長尺であれば、誘電体を内部に挿入するか、誘電体Dを開口面Aに装荷すれば、重量及びコストを抑えることができない。
【0010】
そこで、前記課題を解決するために、本開示は、波源から開口面へと開口する第1フレア及び第2フレアを備え、第1フレア及び第2フレアの管幅方向と平行な偏波方向の電波を伝搬し、コセカント2乗ビームを形成するレーダアンテナにおいて、誘電体を内部に挿入又は開口面に装荷せず、重量及びコストを抑えることを目的とする。
【課題を解決するための手段】
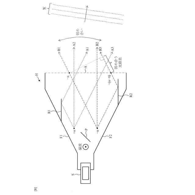
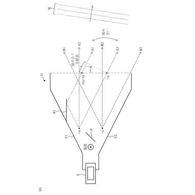
(【0011】以降は省略されています)
この特許をJ-PlatPat(特許庁公式サイト)で参照する
関連特許
日本無線株式会社
船舶システム
14日前
日本無線株式会社
レーダアンテナ
13日前
日本無線株式会社
レーダアンテナ
1か月前
日本無線株式会社
無線通信システム
1か月前
日本無線株式会社
推定装置、及び推定方法
1か月前
日本無線株式会社
波浪解析装置及び波浪解析プログラム
13日前
日本無線株式会社
移動体姿勢計測装置及び移動体姿勢計測プログラム
11日前
日本無線株式会社
物標判定装置、物標判定システム及び物標判定方法
12日前
長野日本無線株式会社
非接触送電装置および非接触電力伝送システム
1か月前
長野日本無線株式会社
非接触受電装置および非接触電力伝送システム
1か月前
長野日本無線株式会社
非接触受電装置および非接触電力伝送システム
1か月前
日本無線株式会社
演算処理装置、降雨量推定システム、及び降雨量推定方法
13日前
日本無線株式会社
水位予測的中率算出方法及び水位予測的中率算出プログラム
1か月前
日本無線株式会社
送信ビームパターン形成装置及びレーダ装置
1か月前
日本無線株式会社
送信ビーム形成装置、送信ビーム形成プログラム、受信ビーム形成装置、受信ビーム形成プログラム及びレーダ装置
13日前
東ソー株式会社
絶縁電線
27日前
APB株式会社
蓄電セル
25日前
個人
フレキシブル電気化学素子
1か月前
ローム株式会社
半導体装置
1か月前
ローム株式会社
半導体装置
26日前
株式会社東芝
端子台
19日前
マクセル株式会社
電源装置
19日前
株式会社ユーシン
操作装置
1か月前
日新イオン機器株式会社
イオン源
1か月前
太陽誘電株式会社
コイル部品
1か月前
株式会社GSユアサ
蓄電装置
20日前
株式会社ホロン
冷陰極電子源
1か月前
オムロン株式会社
電磁継電器
1か月前
株式会社GSユアサ
蓄電装置
20日前
株式会社GSユアサ
蓄電装置
12日前
三菱電機株式会社
回路遮断器
6日前
株式会社GSユアサ
蓄電設備
1か月前
株式会社GSユアサ
蓄電設備
1か月前
トヨタ自動車株式会社
蓄電装置
20日前
北道電設株式会社
配電具カバー
25日前
トヨタ自動車株式会社
冷却構造
27日前
続きを見る
他の特許を見る