TOP
|
特許
|
意匠
|
商標
特許ウォッチ
Twitter
他の特許を見る
公開番号
2025145579
公報種別
公開特許公報(A)
公開日
2025-10-03
出願番号
2024045840
出願日
2024-03-22
発明の名称
推定装置、及び推定方法
出願人
日本無線株式会社
代理人
個人
,
個人
,
個人
,
個人
主分類
A01G
7/00 20060101AFI20250926BHJP(農業;林業;畜産;狩猟;捕獲;漁業)
要約
【課題】同じ生育状態を示している圃場を撮影した複数の画像データのそれぞれから算出した植生指数がばらつきを有する場合であっても推定モデルによる推定精度の低下を抑制する。
【解決手段】推定モデルを記憶する推定モデル情報記憶部と、前記圃場を撮影することで得られる、前記推定モデルの生成に用いた第1画像データとは撮影条件が異なる第2画像データから第2植生指数を算出する第2植生指数算出部と、前記第2画像データが撮影された時期に応じた時期に実地調査をした結果である第2生育指標値を取得する第2実地調査データ取得部と、前記推定モデルにおける植生指数と生育指標値との対応関係に適合するように、前記第2植生指数と前記第2生育指標値との対応関係を変換する変換関数を生成する変換関数生成部と、変換関数生成部によって生成された前記変換関数を用いて、前記第2植生指数と前記第2生育指標値との対応関係を変換する変換部とを備える。
【選択図】図1
特許請求の範囲
【請求項1】
圃場を撮影することで得られる第1画像データから算出された第1植生指数と、前記第1画像データが撮影された時期に応じた時期において前記圃場において生育させた植物の生育状態を示す評価項目に応じて実地調査をした結果である第1生育指標値との対応関係に基づいて生成された、前記圃場の各位置における植生指数から前記圃場の各位置における植物の生育状態としての生育指標値を推定する推定モデルを記憶する推定モデル情報記憶部と、
前記圃場を撮影することで得られる、前記第1画像データとは撮影条件が異なる第2画像データから第2植生指数を算出する第2植生指数算出部と、
前記第2画像データが撮影された時期に応じた時期において前記圃場において生育させた植物の生育状態を示す評価項目に応じて実地調査をした結果である第2生育指標値を取得する第2実地調査データ取得部と、
前記推定モデルにおける植生指数と生育指標値との対応関係に適合するように、前記第2植生指数と前記第2生育指標値との対応関係を変換する変換関数を生成する変換関数生成部と、
変換関数生成部によって生成された前記変換関数を用いて、前記第2植生指数と前記第2生育指標値との対応関係を変換する変換部と、
前記変換部による変換後の前記第2植生指数と前記第2生育指標値との対応関係と前記推定モデルとを用いて前記圃場の各位置における植物の生育状態を推定する推定部と、
を備える推定装置。
続きを表示(約 1,100 文字)
【請求項2】
前記変換関数生成部は、前記第2植生指数を変換する前記変換関数を生成し、
前記変換部は、前記変換関数生成部によって生成された前記変換関数を用いて前記第2画像データから算出した植生指数を変換し、
前記推定部は、前記変換部によって変換された前記第2植生指数を前記推定モデルに入力することによって前記圃場の各位置における植物の生育状態を推定する、
請求項1に記載の推定装置。
【請求項3】
前記変換関数生成部は、前記第2植生指数の算出に用いる前記第2画像データの画素値を変換する前記変換関数を生成し、
前記変換部は、前記変換関数生成部によって生成された前記変換関数を用いて前記第2植生指数の算出に用いる前記第2画像データの画素値を変換し、
前記推定部は、前記変換部によって変換された画素値に基づいて算出した植生指数を前記推定モデルに入力することによって前記圃場の各位置における植物の生育状態を推定する、
請求項1に記載の推定装置。
【請求項4】
前記変換関数生成部は、前記変換関数を一次関数とする、
請求項1から請求項3の何れか一項に記載の推定装置。
【請求項5】
圃場を撮影することで得られる第1画像データから算出された第1植生指数と、前記第1画像データが撮影された時期に応じた時期において前記圃場において生育させた植物の生育状態を示す評価項目に応じて実地調査をした結果である第1生育指標値との対応関係に基づいて生成された、前記圃場の各位置における植生指数から前記圃場の各位置における植物の生育状態としての生育指標値を推定する推定モデルを記憶する推定モデル情報記憶部を備えるコンピュータである推定装置が行う推定方法であって、
第2植生指数算出部が、前記圃場を撮影することで得られる、前記第1画像データとは撮影条件が異なる第2画像データから第2植生指数を算出し、
第2実地調査データ取得部が、前記第2画像データが撮影された時期に応じた時期において前記圃場において生育させた植物の生育状態を示す評価項目に応じて実地調査をした結果である第2生育指標値を取得し、
変換関数生成部が、前記推定モデルにおける植生指数と生育指標値との対応関係に適合するように、前記第2植生指数と前記第2生育指標値との対応関係を変換する変換関数を生成し、
変換部が、変換関数生成部によって生成された前記変換関数を用いて、前記第2植生指数と前記第2生育指標値との対応関係を変換し、
推定部が、前記変換部による変換後の前記第2植生指数と前記第2生育指標値との対応関係と前記推定モデルとを用いて前記圃場の各位置における植物の生育状態を推定する、
推定方法。
発明の詳細な説明
【技術分野】
【0001】
本発明は、推定装置、及び推定方法に関する。
続きを表示(約 2,900 文字)
【背景技術】
【0002】
圃場において生育させる植物の生育状態を把握する方法として植生指数がある。植生指数は、植物による光の反射の特徴を示す指数である。植生指数は、例えば、圃場を撮影することで得られる画像データに含まれる、幾つかの特定の波長を有する反射光の強度を用いて算出することができる。植生指数が植物による光の反射の特徴を示していることから植物の生育状態を把握する指標として利用されている。特許文献1には、作物の植え付け日の差に起因する生長段階のズレを補正する技術が開示されている。
【先行技術文献】
【特許文献】
【0003】
特開2020-140347号公報
【発明の概要】
【発明が解決しようとする課題】
【0004】
しかしながら、上述した技術では、作物の植え付け日の差に起因する生長段階のズレを補正することが記載されているが、植生指数のばらつきを補正することについては記載していない。
ここで、短期間のうちに植物の生育状態が大きく変化することはほとんどないから、同時期(例えば同じ日或いはそれより少し前または少し後の日)に圃場を上空から撮影した画像データから算出した植生指数は、ほぼ同じ値を示すと考えられる。しかし、実際には、同時期に圃場を撮影した画像データのそれぞれが異なる植生指数を示すことがある。
特に、圃場の上空を通過する衛星軌道を有する複数の衛星のそれぞれに搭載されたカメラやセンサを用いて、同時期に撮影された衛星画像から算出した植生指数が同じ値を示さないことがある。これは、衛星によって、撮影時における太陽光の角度、大気の状態、衛星軌道、撮影角度、撮影機材、機材の経年変化などが異なることが要因の1つであると考えられる。このように同じ生育状態を示している圃場を撮影した複数の画像データのそれぞれから算出した植生指数がばらつきを有していると推定モデルによる推定精度が低下してしまうという問題があった。
【0005】
本発明は、このような事情に鑑みてなされたもので、その目的は、同じ生育状態を示している圃場を撮影した複数の画像データのそれぞれから算出した植生指数がばらつきを有する場合であっても推定モデルによる推定精度の低下を抑制することができる推定装置、及び推定方法を提供することにある。
【課題を解決するための手段】
【0006】
上述した課題を解決するために、本発明の一態様は、圃場を撮影することで得られる第1画像データから算出された第1植生指数と、前記第1画像データが撮影された時期に応じた時期において前記圃場において生育させた植物の生育状態を示す評価項目に応じて実地調査をした結果である第1生育指標値との対応関係に基づいて生成された、前記圃場の各位置における植生指数から前記圃場の各位置における植物の生育状態としての生育指標値を推定する推定モデルを記憶する推定モデル情報記憶部と、前記圃場を撮影することで得られる、前記第1画像データとは撮影条件が異なる第2画像データから第2植生指数を算出する第2植生指数算出部と、前記第2画像データが撮影された時期に応じた時期において前記圃場において生育させた植物の生育状態を示す評価項目に応じて実地調査をした結果である第2生育指標値を取得する第2実地調査データ取得部と、前記推定モデルにおける植生指数と生育指標値との対応関係に適合するように、前記第2植生指数と前記第2生育指標値との対応関係を変換する変換関数を生成する変換関数生成部と、変換関数生成部によって生成された前記変換関数を用いて、前記第2植生指数と前記第2生育指標値との対応関係を変換する変換部と、前記変換部による変換後の前記第2植生指数と前記第2生育指標値との対応関係と前記推定モデルとを用いて前記圃場の各位置における植物の生育状態を推定する推定部と、を備える推定装置である。
【0007】
また、本発明の一態様は、圃場を撮影することで得られる第1画像データから算出された第1植生指数と、前記第1画像データが撮影された時期に応じた時期において前記圃場において生育させた植物の生育状態を示す評価項目に応じて実地調査をした結果である第1生育指標値との対応関係に基づいて生成された、前記圃場の各位置における植生指数から前記圃場の各位置における植物の生育状態としての生育指標値を推定する推定モデルを記憶する推定モデル情報記憶部を備えるコンピュータである推定装置が行う推定方法であって、第2植生指数算出部が、前記圃場を撮影することで得られる、前記第1画像データとは撮影条件が異なる第2画像データから第2植生指数を算出し、第2実地調査データ取得部が、前記第2画像データが撮影された時期に応じた時期において前記圃場において生育させた植物の生育状態を示す評価項目に応じて実地調査をした結果である第2生育指標値を取得し、変換関数生成部が、前記推定モデルにおける植生指数と生育指標値との対応関係に適合するように、前記第2植生指数と前記第2生育指標値との対応関係を変換する変換関数を生成し、変換部が、変換関数生成部によって生成された前記変換関数を用いて、前記第2植生指数と前記第2生育指標値との対応関係を変換し、推定部が、前記変換部による変換後の前記第2植生指数と前記第2生育指標値との対応関係と前記推定モデルとを用いて前記圃場の各位置における植物の生育状態を推定する、推定方法である。
【発明の効果】
【0008】
以上説明したように、同じ生育状態を示している圃場を撮影した複数の画像データのそれぞれから算出した植生指数がばらつきを有する場合であっても推定モデルによる推定精度の低下を抑制することができる。
【図面の簡単な説明】
【0009】
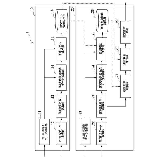
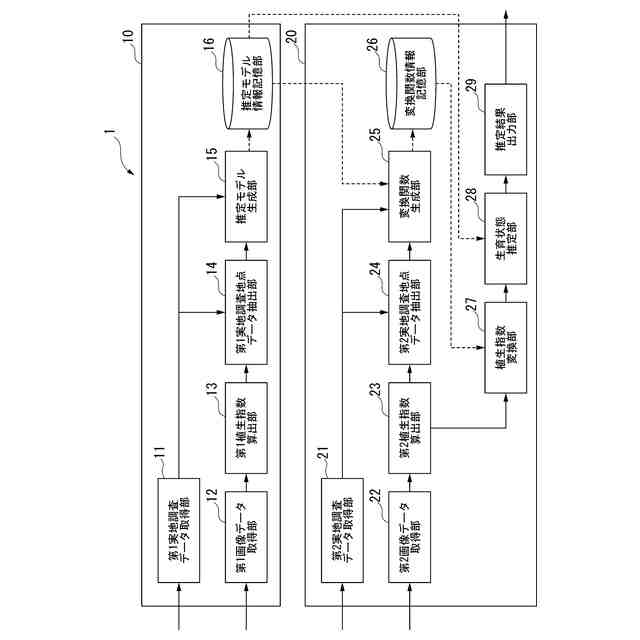
実施形態による推定装置1の構成を示す概略ブロック図である。
植生指数と茎数との関係の例を示す図である。
植生指数と茎数との関係の例を示す図である。
変換関数生成部25が行う処理を説明するための図である。
変換関数生成部25が行う処理を説明するための図である。
変換関数生成部25が行う処理を説明するための図である。
変換関数生成部25が行う処理を説明するための図である。
推定装置1が行う処理の流れを説明するフローチャートである。
【発明を実施するための形態】
【0010】
以下、本発明の一実施形態による推定装置について図面を参照して説明する。
図1は、実施形態による推定装置1の構成を示す概略ブロック図である。
推定装置1は、生成部10と推定部20とを備える。生成部10は、第1実地調査データ取得部11、第1画像データ取得部12、第1植生指数算出部13、第1実地調査地点データ抽出部14、推定モデル生成部15、推定モデル情報記憶部16を有する。
(【0011】以降は省略されています)
この特許をJ-PlatPat(特許庁公式サイト)で参照する
関連特許
日本無線株式会社
船舶システム
6日前
日本無線株式会社
レーダアンテナ
5日前
日本無線株式会社
波浪解析装置及び波浪解析プログラム
5日前
日本無線株式会社
移動体姿勢計測装置及び移動体姿勢計測プログラム
3日前
日本無線株式会社
物標判定装置、物標判定システム及び物標判定方法
4日前
長野日本無線株式会社
非接触送電装置および非接触電力伝送システム
25日前
日本無線株式会社
演算処理装置、降雨量推定システム、及び降雨量推定方法
5日前
日本無線株式会社
送信ビーム形成装置、送信ビーム形成プログラム、受信ビーム形成装置、受信ビーム形成プログラム及びレーダ装置
5日前
個人
釣り用錘
今日
個人
草刈り鋏
24日前
個人
蠅捕獲器
20日前
個人
蜜蜂保護装置
11日前
個人
種子の製造方法
17日前
個人
草刈機用回転刃
20日前
個人
昆虫捕集器
17日前
井関農機株式会社
作業車両
1か月前
個人
可動リップ付きルアー
3日前
井関農機株式会社
作業車両
1か月前
株式会社ナベル
表示システム
6日前
個人
ブルーカーボンシステム
3日前
井関農機株式会社
圃場作業機
3日前
個人
餌付き針の餌取り防止具
6日前
個人
四足動物用装着具
25日前
大栄工業株式会社
捕獲器
1か月前
みのる産業株式会社
除草機
6日前
みのる産業株式会社
除草機
6日前
井関農機株式会社
作業車両
20日前
松山株式会社
収穫機
3日前
松山株式会社
収穫機
3日前
株式会社オーツボ
海苔箱船
24日前
井関農機株式会社
作業車両
25日前
松山株式会社
草刈作業機
11日前
株式会社シマノ
釣糸ガイド
3日前
株式会社シマノ
釣糸ガイド
3日前
みのる産業株式会社
茎葉処理装置
26日前
株式会社三生
足括り罠
13日前
続きを見る
他の特許を見る