TOP
|
特許
|
意匠
|
商標
特許ウォッチ
Twitter
他の特許を見る
公開番号
2025165507
公報種別
公開特許公報(A)
公開日
2025-11-05
出願番号
2024069582
出願日
2024-04-23
発明の名称
演算処理装置、降雨量推定システム、及び降雨量推定方法
出願人
日本無線株式会社
代理人
個人
,
個人
,
個人
,
個人
主分類
G01W
1/10 20060101AFI20251028BHJP(測定;試験)
要約
【課題】本開示は、雨粒が地表に落下するまでの間に雨粒が環境から受ける影響を適切に考慮することが可能な降雨量推定システムを提供することを目的とする。
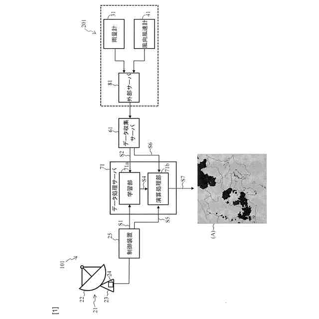
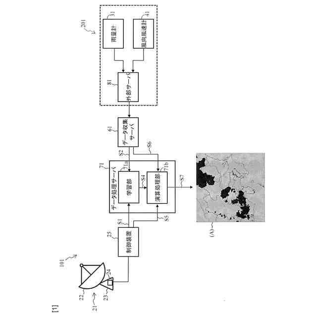
【解決手段】データ処理サーバ71は、レーダ装置21から放射された電波が雨粒によって反射された反射波の強度に応じてレーダ装置21から得られる受信強度データと、地表上の所定点における雨量を観測する地上雨量計31から得られる地上雨量データと、前記雨粒が地表に到達するまでの間に前記雨粒が環境から受ける影響を測定する風向風速計41から得られる風向・風速データと、に基づいて、任意の位置における降雨量を推定する。
【選択図】図1
特許請求の範囲
【請求項1】
レーダ装置から放射された電波が雨粒によって反射された反射波の強度に応じて前記レーダ装置から得られる受信強度データと、地表上の所定点における雨量を観測する第1測定器から得られる地上雨量データと、前記雨粒が地表に到達するまでの間に前記雨粒が環境から受ける影響を測定する第2測定器から得られる環境データと、に基づいて、任意の位置における降雨量を推定する、
演算処理装置。
続きを表示(約 1,100 文字)
【請求項2】
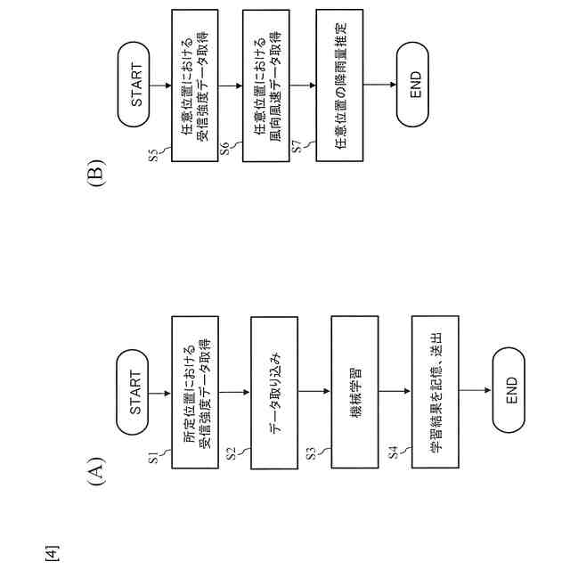
前記受信強度データ、前記地上雨量データ及び前記環境データに基づいて、前記受信強度データ及び前記環境データと前記降雨量との関係を学習する学習部を有し、
前記学習の結果に応じて、前記受信強度データ及び前記環境データから任意の位置における前記降雨量を推定する、
請求項1に記載の演算処理装置。
【請求項3】
前記第2測定器は、前記雨粒が地表に到達するまでの間における風に関する物理量を計測し、前記風に関する物理量を前記環境データとして出力する、
請求項1に記載の演算処理装置。
【請求項4】
前記受信強度データ、前記地上雨量データ及び前記環境データに加え、前記レーダ装置のアンテナの仰角に基づいて、任意の位置における降雨量を推定する、
請求項1に記載の演算処理装置。
【請求項5】
前記受信強度データ、前記地上雨量データ、前記環境データ及び前記仰角に基づいて、前記受信強度データ、前記環境データ及び前記仰角と前記降雨量との関係を学習する学習部を有し、
前記学習の結果に応じて、前記受信強度データ、前記環境データ、及び前記仰角から任意の位置における前記降雨量を推定する、
請求項4に記載の演算処理装置。
【請求項6】
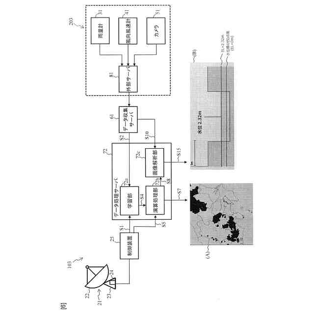
画像を取得するカメラから出力される画像データを解析した解析データを出力し、前記解析データと前記降雨量との関係を学習し、任意の位置における降雨に関する状況を推定する、画像解析部を、さらに有する、
請求項1に記載の演算処理装置。
【請求項7】
前記レーダ装置と、
請求項1から6のいずれか一項に記載の演算処理装置と、を備える、
降雨量推定システム。
【請求項8】
レーダ装置から放射された電波が雨粒によって反射された反射波を反射波の強度に応じた受信強度データとして取得するステップと、
前記受信強度データと、地表上の所定点における雨量を観測する第1測定器から得られる地上雨量データと、前記雨粒が地表に到達するまでの間に前記雨粒が環境から受ける影響を測定する第2測定器から得られる環境データと、に基づいて、任意の位置における降雨量を推定するステップと、
を含む降雨量推定方法。
【請求項9】
前記受信強度データ、前記地上雨量データ及び前記環境データに基づいて、前記受信強度データ及び前記環境データと前記降雨量との関係を学習するステップと、
前記学習の結果に応じて、前記受信強度データ及び前記環境データから任意の位置における前記降雨量を推定するステップと、を含む、
請求項8に記載の降雨量推定方法。
発明の詳細な説明
【技術分野】
【0001】
本開示は、機械学習を用いた降雨量推定に関する。
続きを表示(約 1,300 文字)
【背景技術】
【0002】
従来から、気象を予測する気象レーダシステムや、災害に備え降雨量を測定するためのレーダ雨量計システムが知られている。気象レーダシステムやレーダ雨量計システムによれば、レーダを利用しているため、降雨量を面的に把握しつつ推測することが可能となる。
【先行技術文献】
【特許文献】
【0003】
特開平7-146375号公報
特開平9-138279号公報
【発明の概要】
【発明が解決しようとする課題】
【0004】
気象レーダは上空の雨雲から落下する雨粒によって反射される反射波を検出し降雨量を推定するため、地表における実際の降雨量との間に誤差が生じていた。そこで、引用文献1や引用文献2では、地表に設置される地上雨量計で観測された観測値を基に補完することにより、降雨量を推定している。
【0005】
一方、引用文献1や引用文献2では、雨粒が地表に到達するまでの間に雨粒が環境から受ける影響は考慮されていない。しかしながら、風等の影響によって実際の降雨位置とレーダ観測による予想降雨位置との間に誤差が発生する場合もあり、降雨量を精度よく推定するためには、雨粒が地表に到達するまでの間に雨粒が環境から受ける影響を考慮することが望ましい。
【0006】
そこで、本開示は、雨粒が地表に落下するまでの間に雨粒が環境から受ける影響を適切に考慮することができる降雨量推定システムを提供することを目的とする。
【課題を解決するための手段】
【0007】
上記課題を解決するために、本開示の演算処理装置は、雨粒が地表に落下するまでの間に雨粒が環境から受ける影響を考慮して、降雨量を推定するという手法を採用する。
【0008】
具体的には、本開示の演算処理装置は、
レーダ装置から放射された電波が雨粒によって反射された反射波の強度に応じて前記レーダ装置から得られる受信強度データと、地表上の所定点における雨量を観測する第1測定器から得られる地上雨量データと、前記雨粒が地表に到達するまでの間に前記雨粒が環境から受ける影響を測定する第2測定器から得られる環境データと、に基づいて、任意の位置における降雨量を推定する、
ことを特徴とする。
【0009】
また、本開示は、前記レーダ装置と、
前記演算処理装置と、を備える、
降雨量推定システムを提供する。
【0010】
また、本開示は、レーダ装置から放射された電波が雨粒によって反射された反射波を反射波の強度に応じた受信強度データとして取得するステップと、
前記受信強度データと、地表上の所定点における雨量を観測する第1測定器から得られる地上雨量データと、前記雨粒が地表に到達するまでの間に前記雨粒が環境から受ける影響を測定する第2測定器から得られる環境データと、に基づいて、任意の位置における降雨量を推定するステップと、
を含む降雨量推定方法を提供する。
(【0011】以降は省略されています)
この特許をJ-PlatPat(特許庁公式サイト)で参照する
関連特許
日本無線株式会社
船舶システム
25日前
日本無線株式会社
レーダアンテナ
1か月前
日本無線株式会社
レーダアンテナ
24日前
日本無線株式会社
無線通信システム
2か月前
日本無線株式会社
推定装置、及び推定方法
1か月前
日本無線株式会社
波浪解析装置及び波浪解析プログラム
24日前
日本無線株式会社
推定モデル生成装置、推定モデル生成方法
2か月前
日本無線株式会社
クラッタ抑制装置及びクラッタ抑制プログラム
1日前
日本無線株式会社
物標判定装置、物標判定システム及び物標判定方法
23日前
長野日本無線株式会社
非接触送電装置および非接触電力伝送システム
1か月前
日本無線株式会社
移動体姿勢計測装置及び移動体姿勢計測プログラム
22日前
長野日本無線株式会社
非接触受電装置および非接触電力伝送システム
1か月前
長野日本無線株式会社
非接触受電装置および非接触電力伝送システム
1か月前
長野日本無線株式会社
管内情報収集装置および管内情報収集システム
3日前
日本無線株式会社
演算処理装置、降雨量推定システム、及び降雨量推定方法
24日前
日本無線株式会社
水位予測的中率算出方法及び水位予測的中率算出プログラム
1か月前
日本無線株式会社
レーダ波浪解析装置、レーダ波浪解析プログラム及びレーダ波浪解析ドローン
1日前
日本無線株式会社
レーダ波浪解析装置、レーダ波浪解析プログラム及びレーダ波浪解析ドローン
1日前
日本無線株式会社
送信ビームパターン形成装置及びレーダ装置
1か月前
日本無線株式会社
送信ビーム形成装置、送信ビーム形成プログラム、受信ビーム形成装置、受信ビーム形成プログラム及びレーダ装置
24日前
個人
採尿及び採便具
1か月前
日本精機株式会社
検出装置
24日前
個人
計量機能付き容器
19日前
個人
高精度同時多点測定装置
1か月前
個人
アクセサリー型テスター
1か月前
株式会社ミツトヨ
測定器
1か月前
甲神電機株式会社
電流検出装置
24日前
日本精機株式会社
発光表示装置
2日前
株式会社カクマル
境界杭
9日前
株式会社トプコン
測量装置
1日前
アズビル株式会社
電磁流量計
1か月前
大成建設株式会社
風洞実験装置
19日前
ダイキン工業株式会社
監視装置
1か月前
トヨタ自動車株式会社
監視装置
1か月前
個人
非接触による電磁パルスの測定方法
22日前
日本信号株式会社
距離画像センサ
22日前
続きを見る
他の特許を見る