TOP
|
特許
|
意匠
|
商標
特許ウォッチ
Twitter
他の特許を見る
公開番号
2025145454
公報種別
公開特許公報(A)
公開日
2025-10-03
出願番号
2024045636
出願日
2024-03-21
発明の名称
水位予測的中率算出方法及び水位予測的中率算出プログラム
出願人
日本無線株式会社
代理人
個人
,
個人
,
個人
,
個人
主分類
G01W
1/10 20060101AFI20250926BHJP(測定;試験)
要約
【課題】機械学習を用いて、河川等の水位を予測するにあたり、テストデータとして、「予報」雨量データを抽出するときでも、水位予測データの信頼性を可視化し、各発令基準の到達判断を支援することを目的とする。
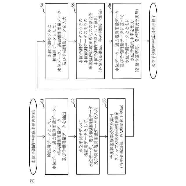
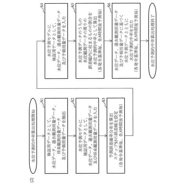
【解決手段】検証段階では、検証用データとして、水位データ、「過去観測」雨量データ及び「将来観測」雨量データを抽出し、水位の予測誤差の確率分布を算出し、水位の観測データに対する水位の予測データの誤差幅を設定する(S3)。そして、検証用データとして、「将来観測」雨量データを「予報」雨量データに置き換え、水位の予測データのうちの水位の観測データの周りの誤差幅内に収まるものの割合を、水位の予測的中率として算出する(S5)。予測段階では、テストデータとして、実運用上は水位データ、「過去観測」雨量データ及び「予報」雨量データを抽出し、水位の予測データとともに、水位の予測的中率を出力する(S6)。
【選択図】図2
特許請求の範囲
【請求項1】
水位予測地点でのある時刻の水位を予測するための水位予測モデルを検証するための検証用データとして、前記水位予測地点及び前記水位予測地点より上流地点のうちの少なくともいずれかでの、当該時刻及び当該時刻より過去のうちの少なくともいずれかの水位データ及び過去観測雨量データと、当該時刻より将来の予報雨量データと、を抽出する検証用データ抽出ステップと、
前記水位予測モデルに前記検証用データとして、前記水位予測地点での複数時刻の水位を検証するための前記水位データ、前記過去観測雨量データ及び前記予報雨量データを入力し、前記水位予測地点での当該複数時刻の水位の予測データを出力する水位予測データ出力ステップと、
前記水位予測地点での当該複数時刻の水位の予測データのうちの、前記水位予測地点での当該複数時刻の水位の観測データの周りの誤差幅内に収まるものの割合を、前記水位予測地点での水位の予測的中率として算出する水位予測的中率算出ステップと、
を順に備えることを特徴とする水位予測的中率算出方法。
続きを表示(約 790 文字)
【請求項2】
前記検証用データ抽出ステップは、前記検証用データとして、前記水位予測地点及び前記水位予測地点より上流地点のうちの少なくともいずれかでの、当該時刻より将来の将来観測雨量データも抽出し、
前記水位予測モデルに前記検証用データとして、前記水位予測地点での当該複数時刻の水位を検証するための前記水位データ、前記過去観測雨量データ及び前記将来観測雨量データを入力し、前記水位予測地点での水位の予測誤差の確率分布を算出し、前記水位予測的中率算出ステップでの水位の観測データに対する水位の予測データの誤差幅を設定する水位予測誤差幅設定ステップ、
を前記検証用データ抽出ステップと前記水位予測データ出力ステップとの間に備える
ことを特徴とする、請求項1に記載の水位予測的中率算出方法。
【請求項3】
前記水位予測的中率算出ステップは、前記水位予測地点での水位警戒のための各発令基準毎に、及び/又は、前記水位予測データ出力ステップでの予測出力時刻から各予測対象時刻までの各期間長さ毎に、前記水位予測地点での水位の予測的中率を算出する
ことを特徴とする、請求項1又は2に記載の水位予測的中率算出方法。
【請求項4】
前記水位予測的中率算出ステップは、前記水位データ、前記過去観測雨量データ及び前記予報雨量データに基づく前記水位予測地点での予測対象時刻の水位の予測時に、前記水位予測地点での当該予測対象時刻の水位の予測データとともに、前記水位予測地点での水位の予測的中率を出力する
ことを特徴とする、請求項1又は2に記載の水位予測的中率算出方法。
【請求項5】
請求項1又は2に記載の水位予測的中率算出方法が順に備える各処理ステップを、コンピュータに順に実行させるための水位予測的中率算出プログラム。
発明の詳細な説明
【技術分野】
【0001】
本開示は、機械学習を用いて、河川等の水位を予測する技術に関する。
続きを表示(約 2,000 文字)
【背景技術】
【0002】
機械学習を用いて、河川等の水位を予測する技術が、特許文献1等に開示されている。訓練段階では、水位学習のための訓練用データを用いて、ニューラルネットワーク等の水位予測モデルを構築する。検証段階では、水位予測モデルの検証のための検証用データを水位予測モデルに入力し、水位予測モデルの汎化性能を評価する。予測段階では、水位予測のためのテストデータを水位予測モデルに入力し、河川等の水位を予測する。
【先行技術文献】
【特許文献】
【0003】
特開2019-095240号公報
【発明の概要】
【発明が解決しようとする課題】
【0004】
実運用上、水位予測地点でのある時刻の水位の予測に必要なテストデータとして、水位予測地点及び水位予測地点より上流地点のうちの少なくともいずれかでの、当該時刻及び当該時刻より過去のうちの少なくともいずれかの水位データ及び「過去観測」雨量データと、当該時刻より将来の「予報」雨量データと、を抽出する。しかし、「予報」雨量データは、「将来観測」雨量データと比べて、精度が低いため、水位「予測」データは、水位「観測」データと比べて、大きく外れることがある。
【0005】
そこで、前記課題を解決するために、本開示は、機械学習を用いて、河川等の水位を予測するにあたり、テストデータとして、「予報」雨量データを抽出するときでも、水位予測データの信頼性を可視化し、各発令基準の到達判断を支援することを目的とする。
【課題を解決するための手段】
【0006】
前記課題を解決するために、検証段階では、検証用データとして、水位データ、「過去観測」雨量データ及び「将来観測」雨量データを抽出し、水位の予測誤差の確率分布を算出し、水位の観測データに対する水位の予測データの誤差幅を設定する。そして、検証用データとして、「将来観測」雨量データを「予報」雨量データに置き換え、水位の予測データのうちの水位の観測データの周りの誤差幅内に収まるものの割合を、水位の予測的中率として算出する。
【0007】
予測段階では、テストデータとして、実運用上は水位データ、「過去観測」雨量データ及び「予報」雨量データを抽出し、水位の予測データとともに、水位の予測的中率を出力する。ここで、各発令基準毎に、及び/又は、各N時間後予測毎に、水位の予測的中率を出力する。
【0008】
具体的には、本開示は、水位予測地点でのある時刻の水位を予測するための水位予測モデルを検証するための検証用データとして、前記水位予測地点及び前記水位予測地点より上流地点のうちの少なくともいずれかでの、当該時刻及び当該時刻より過去のうちの少なくともいずれかの水位データ及び過去観測雨量データと、当該時刻より将来の予報雨量データと、を抽出する検証用データ抽出ステップと、前記水位予測モデルに前記検証用データとして、前記水位予測地点での複数時刻の水位を検証するための前記水位データ、前記過去観測雨量データ及び前記予報雨量データを入力し、前記水位予測地点での当該複数時刻の水位の予測データを出力する水位予測データ出力ステップと、前記水位予測地点での当該複数時刻の水位の予測データのうちの、前記水位予測地点での当該複数時刻の水位の観測データの周りの誤差幅内に収まるものの割合を、前記水位予測地点での水位の予測的中率として算出する水位予測的中率算出ステップと、を順に備えることを特徴とする水位予測的中率算出方法である。
【0009】
この構成によれば、機械学習を用いて、河川等の水位を予測するにあたり、テストデータとして、「予報」雨量データを抽出するときでも、検証段階において、水位の予測的中率を算出することにより、水位予測データの信頼性を可視化することができる。
【0010】
また、本開示は、前記検証用データ抽出ステップは、前記検証用データとして、前記水位予測地点及び前記水位予測地点より上流地点のうちの少なくともいずれかでの、当該時刻より将来の将来観測雨量データも抽出し、前記水位予測モデルに前記検証用データとして、前記水位予測地点での当該複数時刻の水位を検証するための前記水位データ、前記過去観測雨量データ及び前記将来観測雨量データを入力し、前記水位予測地点での水位の予測誤差の確率分布を算出し、前記水位予測的中率算出ステップでの水位の観測データに対する水位の予測データの誤差幅を設定する水位予測誤差幅設定ステップ、を前記検証用データ抽出ステップと前記水位予測データ出力ステップとの間に備えることを特徴とする水位予測的中率算出方法である。
(【0011】以降は省略されています)
この特許をJ-PlatPat(特許庁公式サイト)で参照する
関連特許
日本無線株式会社
船舶システム
26日前
日本無線株式会社
レーダアンテナ
25日前
日本無線株式会社
レーダアンテナ
1か月前
日本無線株式会社
波浪解析装置及び波浪解析プログラム
25日前
日本無線株式会社
クラッタ抑制装置及びクラッタ抑制プログラム
2日前
長野日本無線株式会社
管内情報収集装置および管内情報収集システム
4日前
日本無線株式会社
移動体姿勢計測装置及び移動体姿勢計測プログラム
23日前
日本無線株式会社
物標判定装置、物標判定システム及び物標判定方法
24日前
長野日本無線株式会社
非接触送電装置および非接触電力伝送システム
1か月前
長野日本無線株式会社
非接触受電装置および非接触電力伝送システム
1か月前
長野日本無線株式会社
非接触受電装置および非接触電力伝送システム
1か月前
日本無線株式会社
演算処理装置、降雨量推定システム、及び降雨量推定方法
25日前
日本無線株式会社
レーダ波浪解析装置、レーダ波浪解析プログラム及びレーダ波浪解析ドローン
2日前
日本無線株式会社
レーダ波浪解析装置、レーダ波浪解析プログラム及びレーダ波浪解析ドローン
2日前
日本無線株式会社
送信ビームパターン形成装置及びレーダ装置
1か月前
日本無線株式会社
送信ビーム形成装置、送信ビーム形成プログラム、受信ビーム形成装置、受信ビーム形成プログラム及びレーダ装置
25日前
日本精機株式会社
検出装置
25日前
個人
採尿及び採便具
1か月前
個人
計量機能付き容器
20日前
個人
高精度同時多点測定装置
1か月前
個人
アクセサリー型テスター
1か月前
株式会社カクマル
境界杭
10日前
日本精機株式会社
発光表示装置
3日前
甲神電機株式会社
電流検出装置
25日前
株式会社ミツトヨ
測定器
1か月前
株式会社トプコン
測量装置
2日前
アズビル株式会社
電磁流量計
1か月前
大成建設株式会社
風洞実験装置
20日前
ダイキン工業株式会社
監視装置
1か月前
トヨタ自動車株式会社
監視装置
1か月前
日本信号株式会社
距離画像センサ
23日前
大和製衡株式会社
組合せ計量装置
1か月前
双庸電子株式会社
誤配線検査装置
26日前
日本特殊陶業株式会社
ガスセンサ
18日前
日本特殊陶業株式会社
ガスセンサ
2日前
長崎県
形状計測方法
1か月前
続きを見る
他の特許を見る