TOP
|
特許
|
意匠
|
商標
特許ウォッチ
Twitter
他の特許を見る
10個以上の画像は省略されています。
公開番号
2025165496
公報種別
公開特許公報(A)
公開日
2025-11-05
出願番号
2024069562
出願日
2024-04-23
発明の名称
送信ビーム形成装置、送信ビーム形成プログラム、受信ビーム形成装置、受信ビーム形成プログラム及びレーダ装置
出願人
日本無線株式会社
,
国立大学法人大阪大学
,
国立大学法人電気通信大学
代理人
個人
,
個人
,
個人
,
個人
主分類
G01S
7/02 20060101AFI20251028BHJP(測定;試験)
要約
【課題】本開示は、複数方向のターゲットを検出するレーダ装置において、フェーズドアレイアンテナ又はデジタルビームフォーミングを適用するにあたり、受信アンテナ素子間の位相誤差及び相互結合等が存在するため、一方向受信ビームが有するヌルを深くすることができなくても、送受合計ビーム(送信ビーム+一方向受信ビーム)のビーム分解能及びサイドローブ特性を向上させることを目的とする。
【解決手段】まず、くし型送信ビームを位相変調するにあたり、複数パルスの位相変調量のシーケンスを、複数方向のメインビーム毎に無相関に設定する。次に、受信信号を位相復調するにあたり、複数パルスの位相復調量のシーケンスを、一の方向のみについて設定される位相変調量を打ち消す位相復調量のシーケンスに、複数方向の全てにわたり設定する。次に、位相復調信号について、複数パルスの全てにわたり積分信号を計算する。
【選択図】図5
特許請求の範囲
【請求項1】
複数方向にメインビームを有するくし型送信ビームを形成する送信ビーム形成部と、
前記くし型送信ビームを位相変調するにあたり、複数パルスの位相変調量のシーケンスを、前記複数方向のメインビーム毎に無相関に設定する送信位相変調部と、
を備えることを特徴とする送信ビーム形成装置。
続きを表示(約 960 文字)
【請求項2】
請求項1に記載の送信ビーム形成装置が備える各処理部が実行する各処理ステップを、順にコンピュータに実行させるための送信ビーム形成プログラム。
【請求項3】
請求項1に記載の送信ビーム形成装置が形成する前記くし型送信ビームがメインビームを有する前記複数方向のうちの、一の方向のみにメインビームを有する一方で他の方向にはヌルを有する一方向受信ビームを形成する受信ビーム形成部と、
前記受信ビーム形成部による受信信号を位相復調するにあたり、前記複数パルスの位相復調量のシーケンスを、前記一の方向のみについて設定される位相変調量を打ち消す位相復調量のシーケンスに、前記複数方向の全てにわたり設定する受信位相復調部と、
前記受信位相復調部による位相復調信号について、前記複数パルスの全てにわたり積分信号を計算し、一パルス分の平均信号を計算する受信信号積分部と、
を備えることを特徴とする受信ビーム形成装置。
【請求項4】
請求項1に記載の送信ビーム形成装置が形成する前記くし型送信ビームがメインビームを有する前記複数方向のうちの、一端の方向から他端の方向への全ての方向にわたりファン形状を有するファン受信ビームを形成する受信ビーム形成部と、
前記受信ビーム形成部による受信信号を位相復調するにあたり、前記複数パルスの位相復調量のシーケンスを、一の方向のみについて設定される位相変調量を打ち消す位相復調量のシーケンスに、前記複数方向の全てにわたり設定する受信位相復調部と、
前記受信位相復調部による位相復調信号について、前記複数パルスの全てにわたり積分信号を計算し、一パルス分の平均信号を計算する受信信号積分部と、
を備えることを特徴とする受信ビーム形成装置。
【請求項5】
請求項3又は4に記載の受信ビーム形成装置が備える各処理部が実行する各処理ステップを、順にコンピュータに実行させるための受信ビーム形成プログラム。
【請求項6】
請求項1に記載の送信ビーム形成装置と、請求項3又は4に記載の受信ビーム形成装置と、送信アンテナ装置と、受信アンテナ装置と、を備えることを特徴とするレーダ装置。
発明の詳細な説明
【技術分野】
【0001】
本開示は、複数方向のターゲットを検出するレーダ装置において、複数方向の高速観測性能、ビーム分解能及びサイドローブ特性を向上させる技術に関する。
続きを表示(約 2,100 文字)
【背景技術】
【0002】
複数方向のターゲット(降雨等)を検出するレーダ装置(気象レーダ装置等)において、フェーズドアレイアンテナ又はデジタルビームフォーミングが適用されている。
【0003】
非特許文献1より以前の技術では、複数方向の全てにわたるファン送信ビームを形成し、一の方向のみにメインビームを有する一方で他の方向にはヌルを有する一方向受信ビームを形成する。すると、パラボラアンテナを適用するときと比べて、複数方向の高速観測性能を維持することができるものの、送受合計ビーム(ファン送信ビーム+一方向受信ビーム)のビーム分解能及びサイドローブ特性を向上させることができず、正確なターゲットの受信電力、ドップラ速度及び分布情報を取得することができない。
【0004】
非特許文献1に開示された技術では、複数方向にメインビームを有するくし型送信ビームを形成し、一の方向のみにメインビームを有する一方で他の方向にはヌルを有する一方向受信ビームを形成する。すると、パラボラアンテナを適用するときと比べて、複数方向の高速観測性能を維持することができるとともに、送受合計ビーム(くし型送信ビーム+一方向受信ビーム)のビーム分解能及びサイドローブ特性を向上させることができ、正確なターゲットの受信電力、ドップラ速度及び分布情報を取得することができる。
【先行技術文献】
【非特許文献】
【0005】
Yoshikawa,E.,Ushio,T.,& Kikuchi,H.,“A Study of Comb Beam Transmission on Phased Array Weather Radars” ,IEEE Transactions on Geoscience and Remote Sensing,59(8),2021,pp.6346-6356.
【発明の概要】
【発明が解決しようとする課題】
【0006】
従来技術の一方向受信ビームの受信信号の積分・平均処理を図1に示す。まず、複数方向D1、D2、D3、D4にメインビームを有するくし型送信ビームを形成する。ここで、1パルス目、2パルス目、・・・、Nパルス目の全てにおいて、複数方向D1、D2、D3、D4の送信位相は、それぞれΦ
T1
、Φ
T2
、Φ
T3
、Φ
T4
である。
【0007】
次に、一の方向D2のみにメインビームを有する一方で、他の方向D1、D3、D4にはヌルを有する一方向受信ビームを形成する。ここで、1パルス目、2パルス目、・・・、Nパルス目の全てにおいて、一の方向D2の受信強度は、他の方向D1、D3、D4の受信強度と比べて高く、複数方向D1、D2、D3、D4の受信位相(送信位相+伝搬位相)は、それぞれΦ
T1
+Φ
P1
、Φ
T2
+Φ
P2
、Φ
T3
+Φ
P3
、Φ
T4
+Φ
P4
である。
【0008】
次に、複数方向D1、D2、D3、D4の受信信号について、Nパルスの全てにわたり積分信号を計算し、一パルス分の平均信号を計算する。すると、一の方向D2の受信強度が最も高く、一の方向D2の受信位相(送信位相+伝搬位相)は、Φ
T2
+Φ
P2
である。
【0009】
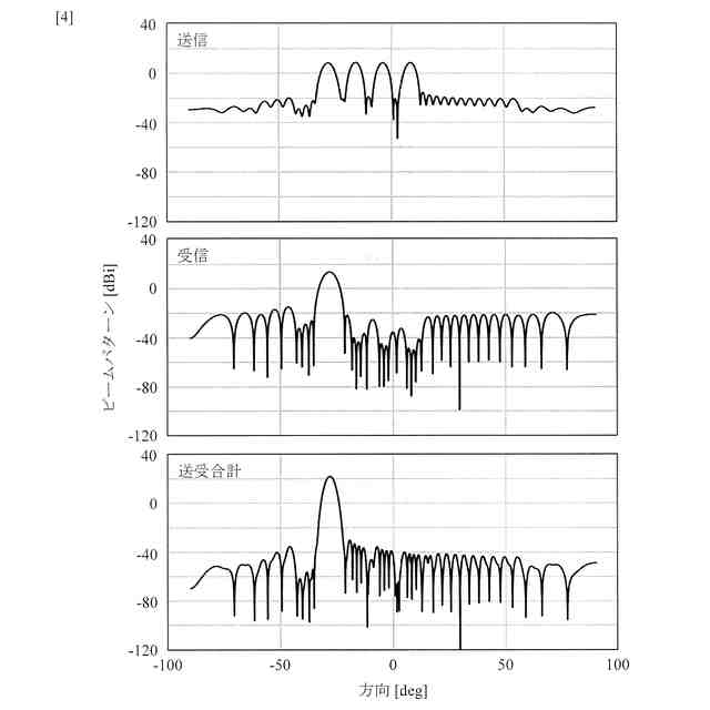
従来技術の送信/受信/送受合計ビームの理想状況を図2に示す。図2の上段では、複数方向D1、D2、D3、D4にメインビームを有するくし型送信ビームを形成する。図2の中段では、一の方向D2のみにメインビームを有する一方で、他の方向D1、D3、D4には深いヌルを有する一方向受信ビームを形成する。ここで、理想状況では、受信アンテナ素子間の位相誤差及び相互結合等が存在しないため、一方向受信ビームが有するヌルを深くすることができる。図2の下段では、送受合計ビーム(くし型送信ビーム+一方向受信ビーム)のビーム分解能及びサイドローブ特性を向上させることができる。
【0010】
従来技術の送信/受信/送受合計ビームの解決課題を図3に示す。図3の上段では、複数方向D1、D2、D3、D4にメインビームを有するくし型送信ビームを形成する。図3の中段では、一の方向D2のみにメインビームを有する一方で、他の方向D1、D3、D4には浅いヌルを有する一方向受信ビームを形成する。ここで、実機状況では、受信アンテナ素子間の位相誤差及び相互結合等が存在するため、一方向受信ビームが有するヌルを深くすることができない。図3の下段では、送受合計ビーム(くし型送信ビーム+一方向受信ビーム)のビーム分解能及びサイドローブ特性を向上させることができない。
(【0011】以降は省略されています)
この特許をJ-PlatPat(特許庁公式サイト)で参照する
関連特許
日本無線株式会社
船舶システム
26日前
日本無線株式会社
レーダアンテナ
25日前
日本無線株式会社
レーダアンテナ
1か月前
日本無線株式会社
波浪解析装置及び波浪解析プログラム
25日前
日本無線株式会社
クラッタ抑制装置及びクラッタ抑制プログラム
2日前
長野日本無線株式会社
管内情報収集装置および管内情報収集システム
4日前
日本無線株式会社
移動体姿勢計測装置及び移動体姿勢計測プログラム
23日前
日本無線株式会社
物標判定装置、物標判定システム及び物標判定方法
24日前
長野日本無線株式会社
非接触送電装置および非接触電力伝送システム
1か月前
長野日本無線株式会社
非接触受電装置および非接触電力伝送システム
1か月前
長野日本無線株式会社
非接触受電装置および非接触電力伝送システム
1か月前
日本無線株式会社
演算処理装置、降雨量推定システム、及び降雨量推定方法
25日前
日本無線株式会社
レーダ波浪解析装置、レーダ波浪解析プログラム及びレーダ波浪解析ドローン
2日前
日本無線株式会社
レーダ波浪解析装置、レーダ波浪解析プログラム及びレーダ波浪解析ドローン
2日前
日本無線株式会社
送信ビームパターン形成装置及びレーダ装置
1か月前
日本無線株式会社
送信ビーム形成装置、送信ビーム形成プログラム、受信ビーム形成装置、受信ビーム形成プログラム及びレーダ装置
25日前
日本精機株式会社
検出装置
25日前
個人
採尿及び採便具
1か月前
個人
アクセサリー型テスター
1か月前
個人
高精度同時多点測定装置
1か月前
個人
計量機能付き容器
20日前
甲神電機株式会社
電流検出装置
25日前
日本精機株式会社
発光表示装置
3日前
株式会社カクマル
境界杭
10日前
株式会社ミツトヨ
測定器
1か月前
株式会社トプコン
測量装置
2日前
アズビル株式会社
電磁流量計
1か月前
大成建設株式会社
風洞実験装置
20日前
ローム株式会社
半導体装置
1か月前
双庸電子株式会社
誤配線検査装置
26日前
長崎県
形状計測方法
1か月前
個人
システム、装置及び実験方法
1か月前
日本信号株式会社
距離画像センサ
23日前
日本特殊陶業株式会社
ガスセンサ
2日前
愛知時計電機株式会社
ガスメータ
1か月前
個人
計量具及び計量機能付き容器
20日前
続きを見る
他の特許を見る