TOP
|
特許
|
意匠
|
商標
特許ウォッチ
Twitter
他の特許を見る
公開番号
2025156878
公報種別
公開特許公報(A)
公開日
2025-10-15
出願番号
2024059615
出願日
2024-04-02
発明の名称
飛行体検査方法
出願人
トヨタ自動車株式会社
代理人
個人
,
個人
,
個人
,
個人
主分類
B64F
5/60 20170101AFI20251007BHJP(航空機;飛行;宇宙工学)
要約
【課題】バッテリー駆動の飛行体を検査する技術を改善する。
【解決手段】バッテリー駆動の飛行体を検査する検査方法であって、飛行体を移動させて、検査スペース内に載置することと、検査スペースの床部に設けられた重量センサにより、飛行体の重量及び重心の位置を測定することと、機体情報識別センサにより、飛行体の機体情報を取得することと、測定された飛行体の重量及び重心の位置、並びに機体情報識別センサにより取得した機体情報を飛行体の機体情報として記憶することと、を含む。
【選択図】図1
特許請求の範囲
【請求項1】
バッテリー駆動の飛行体を検査する検査方法であって、
前記飛行体を移動させて、検査スペース内に載置することと、
前記検査スペースの床部に設けられた重量センサにより、前記飛行体の重量及び重心の位置を測定することと、
機体情報識別センサにより、前記飛行体の機体情報を取得することと、
測定された前記飛行体の重量及び重心の位置、並びに前記機体情報識別センサにより取得した機体情報を前記飛行体の機体情報として記憶することと、
を含む検査方法。
続きを表示(約 430 文字)
【請求項2】
請求項1に記載の検査方法であって、
前記機体情報識別センサは、前記飛行体の機体を構成する部材に予め取り付けられたタグから、前記飛行体の機体情報を読み取ることを含む、検査方法。
【請求項3】
請求項2に記載の検査方法であって、
前記タグは、2次元コード、RFIDタグの少なくともいずれかである、検査方法。
【請求項4】
請求項3に記載の検査方法であって、
前記飛行体の機体情報は、前記飛行体の機体を構成する部材のうち少なくとも一部に関する属性情報を含む、検査方法。
【請求項5】
請求項4に記載の検査方法であって、
前記属性情報は、規格番号、シリアル番号、品質保証情報、トレーサビリティ情報の少なくともいずれかを含む、検査方法。
【請求項6】
請求項1に記載の飛行体を用いたMaaS(Mobility as a Service)提供方法。
発明の詳細な説明
【技術分野】
【0001】
本開示は、バッテリー駆動の飛行体を検査する方法に関する。
続きを表示(約 1,000 文字)
【背景技術】
【0002】
従来、電動垂直離着陸機の電駆動システムと、当該電駆動システムの機能を試験する動作確認用装置を直接的又は間接的に接続することにより、電駆動システムの機能試験を実行することが開示されている(例えば特許文献1)。
【先行技術文献】
【特許文献】
【0003】
特開2021―031008号
【発明の概要】
【発明が解決しようとする課題】
【0004】
特許文献1の技術では、電駆動システム以外の飛行体検査を効率的に行うことについては検討されていなかった。つまり、バッテリー駆動の飛行体を検査する技術には改善の余地があった。
【0005】
かかる事情に鑑みてなされた本開示の目的は、バッテリー駆動の飛行体を検査する技術を改善することにある。
【課題を解決するための手段】
【0006】
本開示の一実施形態に係る検査方法は、
バッテリー駆動の飛行体を検査する検査方法であって、
前記飛行体を移動させて、検査スペース内に載置することと、
前記検査スペースの床部に設けられた重量センサにより、前記飛行体の重量及び重心の位置を測定することと、
機体情報識別センサにより、前記飛行体の機体情報を取得することと、
測定された前記飛行体の重量及び重心の位置、並びに前記機体情報識別センサにより取得した機体情報を前記飛行体の機体情報として記憶することと、
を含む。
【発明の効果】
【0007】
本開示の一実施形態によれば、バッテリー駆動の飛行体を検査する技術が改善される。
【図面の簡単な説明】
【0008】
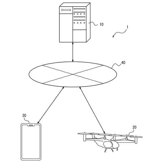
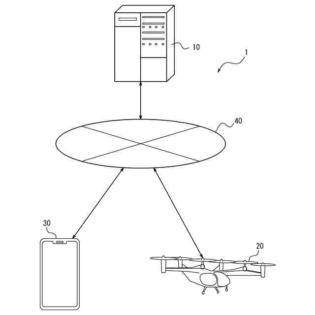
本開示の一実施形態に係るシステムの概略構成を示すブロック図である。
サーバ装置の概略構成を示すブロック図である。
飛行体の概略構成を示すブロック図である。
サーバ装置の動作例を示すフローチャートである。
【発明を実施するための形態】
【0009】
以下、本開示の実施形態について説明する。
【0010】
(実施形態の概要)
図1を参照して、本実施形態に係るシステム1の概要について説明する。システム1は、ネットワーク40を介して互いに情報通信可能に接続される、それぞれ少なくとも1つ以上のサーバ装置10、飛行体20と、端末装置30と、を備える。
(【0011】以降は省略されています)
この特許をJ-PlatPat(特許庁公式サイト)で参照する
関連特許
トヨタ自動車株式会社
車両
20日前
トヨタ自動車株式会社
方法
4日前
トヨタ自動車株式会社
電池
11日前
トヨタ自動車株式会社
車体
1か月前
トヨタ自動車株式会社
車両
1か月前
トヨタ自動車株式会社
配管
20日前
トヨタ自動車株式会社
電池
25日前
トヨタ自動車株式会社
方法
1か月前
トヨタ自動車株式会社
車両
5日前
トヨタ自動車株式会社
電池
19日前
トヨタ自動車株式会社
車両
19日前
トヨタ自動車株式会社
電池
11日前
トヨタ自動車株式会社
車両
1か月前
トヨタ自動車株式会社
車両
1か月前
トヨタ自動車株式会社
電池
1か月前
トヨタ自動車株式会社
蓄電池
1か月前
トヨタ自動車株式会社
ロータ
20日前
トヨタ自動車株式会社
タンク
4日前
トヨタ自動車株式会社
電動車
20日前
トヨタ自動車株式会社
電動車
19日前
トヨタ自動車株式会社
モータ
1か月前
トヨタ自動車株式会社
製造設備
25日前
トヨタ自動車株式会社
制御装置
11日前
トヨタ自動車株式会社
蓄電装置
1か月前
トヨタ自動車株式会社
蓄電装置
11日前
トヨタ自動車株式会社
蓄電装置
11日前
トヨタ自動車株式会社
監視装置
25日前
トヨタ自動車株式会社
蓄電セル
27日前
トヨタ自動車株式会社
制御装置
4日前
トヨタ自動車株式会社
エンジン
20日前
トヨタ自動車株式会社
処理装置
11日前
トヨタ自動車株式会社
蓄電装置
19日前
トヨタ自動車株式会社
蓄電装置
11日前
トヨタ自動車株式会社
制御装置
20日前
トヨタ自動車株式会社
路側装置
1か月前
トヨタ自動車株式会社
制御装置
20日前
続きを見る
他の特許を見る