TOP
|
特許
|
意匠
|
商標
特許ウォッチ
Twitter
他の特許を見る
10個以上の画像は省略されています。
公開番号
2025156763
公報種別
公開特許公報(A)
公開日
2025-10-15
出願番号
2024059402
出願日
2024-04-02
発明の名称
扉開閉構造、及び扉開閉構造のメンテナンス方法
出願人
河村電器産業株式会社
代理人
個人
,
個人
,
個人
主分類
E05D
7/02 20060101AFI20251007BHJP(錠;鍵;窓または戸の付属品;金庫)
要約
【課題】扉のメンテナンスを容易に行うことができる扉開閉構造、及び扉開閉構造のメンテナンス方法を提供する。
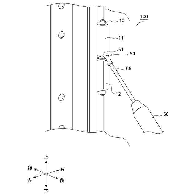
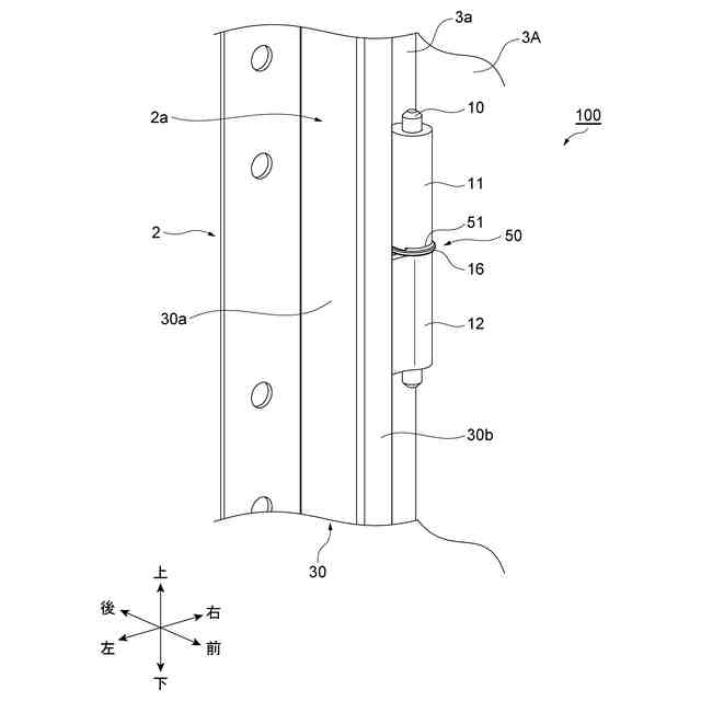
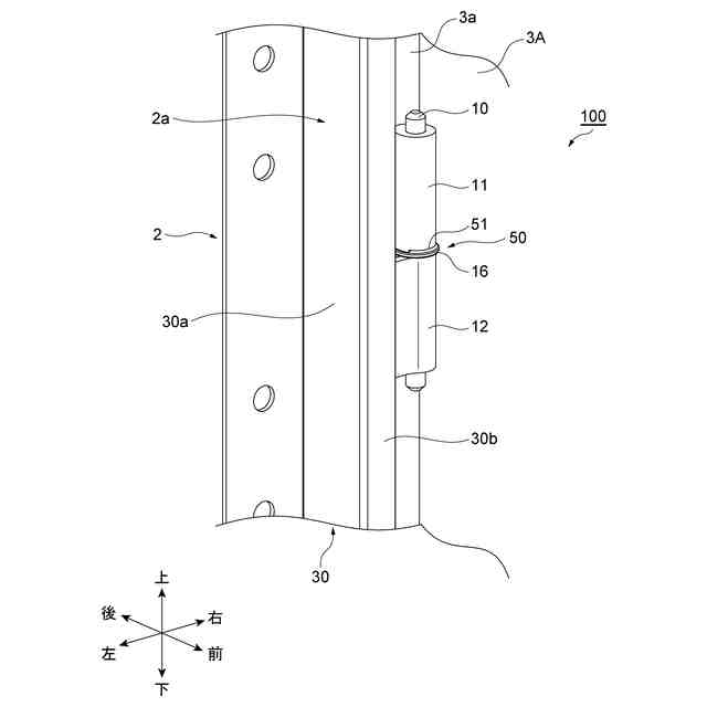
【解決手段】第1の蝶番部11と第2の蝶番部12との境界部50には、工具を挿入するための切欠部51が形成される。従って、メンテナンスの時には、作業者は、切欠部51に工具を挿入することができる。作業者は、当該状態で工具を操作することで、てこの原理を利用して上側の第1の蝶番部11を介して扉を容易に持ち上げることができる。これにより、第1の蝶番部11と第2の蝶番部12との間の境界部にスペーサ13などを取り付けることで、扉3A,3Bの高さ調整を行うことができる。このような作業は、扉3A,3Bをそのまま持ち上げる場合に比して必要な力が小さくてすむため、作業者一人でも容易に行うことができる。
【選択図】図2
特許請求の範囲
【請求項1】
電気機器収納箱の扉の扉開閉構造であって、
上下方向に延びる軸部と、
前記軸部の上端側が挿入されると共に、前記電気機器収納箱の扉に接続される第1の蝶番部と、
前記軸部の下端側が挿入されると共に、前記電気機器収納箱の本体部に接続される第2の蝶番部と、を備え、
前記第1の蝶番部と前記第2の蝶番部との境界部には、工具を挿入するための切欠部が形成される、扉開閉構造。
続きを表示(約 690 文字)
【請求項2】
前記境界部において、前記第1の蝶番部及び前記第2の蝶番部の少なくとも一方に前記切欠部が形成される、請求項1に記載の扉開閉構造。
【請求項3】
前記軸部は、前記境界部において、前記第1の蝶番部と前記第2の蝶番部との間に介在する鍔部を有する、請求項1に記載の扉開閉構造。
【請求項4】
前記鍔部には、前記切欠部が形成される、請求項3に記載の扉開閉構造。
【請求項5】
前記軸部と別体の部材であって、前記境界部において、前記第1の蝶番部と前記第2の蝶番部との間に介在するスペーサを更に備える、請求項1に記載の扉開閉構造。
【請求項6】
前記スペーサには、外周側へ延びる取手部が設けられる、請求項5に記載の扉開閉構造。
【請求項7】
電気機器収納箱の扉の扉開閉構造のメンテナンス方法であって、
前記扉開閉構造は、
上下方向に延びる軸部と、
前記軸部の上端側が挿入されると共に、前記電気機器収納箱の前記扉に接続される第1の蝶番部と、
前記軸部の下端側が挿入されると共に、前記電気機器収納箱の本体部に接続される第2の蝶番部と、を備え、
前記第1の蝶番部と前記第2の蝶番部との間の境界部には切欠部が形成され、
前記切欠部に工具を挿入し、当該工具によって前記第1の蝶番部を押し上げ、
前記第1の蝶番部を押し上げた状態で、前記境界部において、前記第1の蝶番部と前記第2の蝶番部との間にスペーサを介在させる、扉開閉構造のメンテナンス方法。
発明の詳細な説明
【技術分野】
【0001】
本発明は、扉開閉構造、及び扉開閉構造のメンテナンス方法に関する。
続きを表示(約 1,800 文字)
【背景技術】
【0002】
従来、キュービクルなどの電気機器収納箱が知られている(例えば特許文献1)。この電気機器収容箱は、前面側には観音開きによって開閉可能な扉が設けられている。
【先行技術文献】
【特許文献】
【0003】
特開2007-303237号公報
【発明の概要】
【発明が解決しようとする課題】
【0004】
ここで、電気機器収納箱、特にキュービクルの扉はサイズが大きく重いため、設置場所(基礎)の少しの平面度のずれによっては、本体部が歪むことによって扉が下がることがある。この場合、左右の扉の高さがずれることにより、扉の開閉が困難になるという問題がある。基礎を水平にしても改善できない場合、扉の高さ位置を変えるため、扉の蝶番と本体部の蝶番との間にワッシャーなどのスペーサを挟むことで、扉の高さを調整して対応することができる。しかしこのような対応は、扉が重いため、最低でも二人で行う必要がある。また、作業内容としては、一度蝶番のピンを外したり、歪みの度合いによっては扉の高さを確認しながら何度も同じ作業をする必要がある。このように、メンテナンスの作業に手間がかかるという問題がある。
【0005】
本発明は、扉のメンテナンスを容易に行うことができる扉開閉構造、及び扉開閉構造のメンテナンス方法を提供することを目的とする。
【課題を解決するための手段】
【0006】
本発明に係る扉開閉構造は、電気機器収納箱の扉の扉開閉構造であって、上下方向に延びる軸部と、軸部の上端側が挿入されると共に、電気機器収納箱の扉に接続される第1の蝶番部と、軸部の下端側が挿入されると共に、電気機器収納箱の本体部に接続される第2の蝶番部と、を備え、第1の蝶番部と第2の蝶番部との境界部には、工具を挿入するための切欠部が形成される。
【0007】
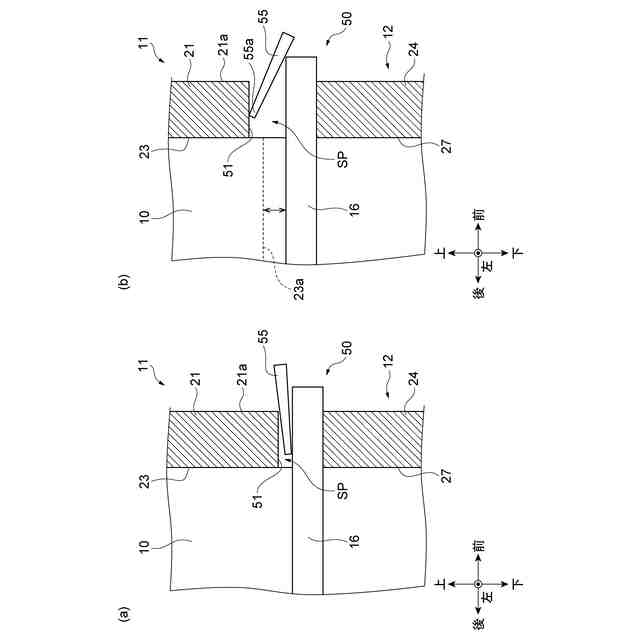
本発明に係る扉開閉構造は、軸部の上端側が挿入されると共に、電気機器収納箱の扉に接続される第1の蝶番部と、軸部の下端側が挿入されると共に、電気機器収納箱の本体部に接続される第2の蝶番部と、を備える。従って、扉は、第1の蝶番部及び第2の蝶番部を介して、軸部を中心軸として本体部に対して回動することで、開閉することができる。ここで、第1の蝶番部と第2の蝶番部との境界部には、工具を挿入するための切欠部が形成される。従って、メンテナンスの時には、作業者は、切欠部に工具を挿入することができる。作業者は、当該状態で工具を操作することで、てこの原理を利用して上側の第1の蝶番部を介して扉を容易に持ち上げることができる。これにより、第1の蝶番部と第2の蝶番部との間の境界部にスペーサなどを取り付けることで、扉の高さ調整を行うことができる。このような作業は、扉をそのまま持ち上げる場合に比して必要な力が小さくてすむため、作業者一人でも容易に行うことができる。以上より、扉のメンテナンスを容易に行うことができる。
【0008】
境界部において、第1の蝶番部及び第2の蝶番部の少なくとも一方に切欠部が形成されてよい。この場合、工具によるてこの原理の支点を、軸部の鍔部の外縁部に設定することが可能となる。この場合、工具の先端の第1の蝶番部との接触点から支点の距離を大きくすることができる。従って、小さい力で扉を持ち上げることが可能となる。
【0009】
軸部は、境界部において、第1の蝶番部と第2の蝶番部との間に介在する鍔部を有してよい。この場合、別途スペーサを用いなくとも、軸部の鍔部によって第1の蝶番部と第2の蝶番部とを離間した状態で維持することができる。また、第1の蝶番部と第2の蝶番部との間にスペーサを挿入するときには、軸部と共に鍔部をガイドなどとして用いることができる。
【0010】
鍔部には、切欠部が形成されてよい。この場合、扉側の部材である第1の蝶番部等に切欠部を形成するための加工を行わなくてよい。すなわち、軸部として切欠部が付いた鍔部を有する特殊な部材を準備すれば、既存の電気機器収納箱に対して、本発明に係る扉開閉構造を適用することができる。
(【0011】以降は省略されています)
この特許をJ-PlatPat(特許庁公式サイト)で参照する
関連特許
河村電器産業株式会社
宅配ボックス装置
4日前
河村電器産業株式会社
電気機器収納用筐体
1か月前
河村電器産業株式会社
収納箱の扉の係止構造
1か月前
河村電器産業株式会社
負荷名称ラベル作成システム
19日前
河村電器産業株式会社
風向板付扉及びキャビネット
1か月前
河村電器産業株式会社
負荷名称ラベル作成システム
1か月前
河村電器産業株式会社
監視装置、監視方法およびプログラム
26日前
河村電器産業株式会社
情報処理システムおよび情報処理方法
2か月前
河村電器産業株式会社
情報処理装置、情報処理方法およびプログラム
26日前
河村電器産業株式会社
扉開閉構造、及び扉開閉構造のメンテナンス方法
1か月前
河村電器産業株式会社
充電制御装置、充電制御方法及び充電制御プログラム
1か月前
個人
物品保管箱
3か月前
個人
防犯用ドア装置
3か月前
個人
ピンシリンダー錠。
4か月前
個人
二重ロック機能付小物入れ
3か月前
個人
ポスト機能付き手提げ金庫
2か月前
個人
顔認証による入室システム
4か月前
株式会社ベスト
軸釣装置
14日前
株式会社ソリック
ドア装置
22日前
株式会社ニシムラ
ラッチ錠
5か月前
ミサワホーム株式会社
錠受具
4か月前
三協立山株式会社
開口部装置
2か月前
リョービ株式会社
ドアクローザ
3か月前
個人
無人貸金庫システム
1か月前
株式会社アルファ
電気錠
3か月前
リョービ株式会社
ドアクローザ
3か月前
株式会社セリュール
電子錠、電気錠装置
6日前
株式会社榮伸
カバン蓋の係止装置
3か月前
株式会社ベスト
扉及び個室
1か月前
積水ハウス株式会社
引き戸
2か月前
株式会社セリュール
電子錠、電気錠装置
6日前
積水ハウス株式会社
引き戸
1か月前
有限会社シティング
引き戸
2か月前
トヨタ自動車株式会社
車両
25日前
株式会社ベスト
開き扉の開閉装置
2か月前
美和ロック株式会社
IDキー
3か月前
続きを見る
他の特許を見る