TOP
|
特許
|
意匠
|
商標
特許ウォッチ
Twitter
他の特許を見る
公開番号
2025160610
公報種別
公開特許公報(A)
公開日
2025-10-23
出願番号
2024063245
出願日
2024-04-10
発明の名称
監視装置、監視方法およびプログラム
出願人
河村電器産業株式会社
代理人
個人
,
個人
,
個人
,
個人
主分類
H02J
13/00 20060101AFI20251016BHJP(電力の発電,変換,配電)
要約
【課題】設備の損傷リスクを低減できる監視装置、監視方法およびプログラムを提供すること。
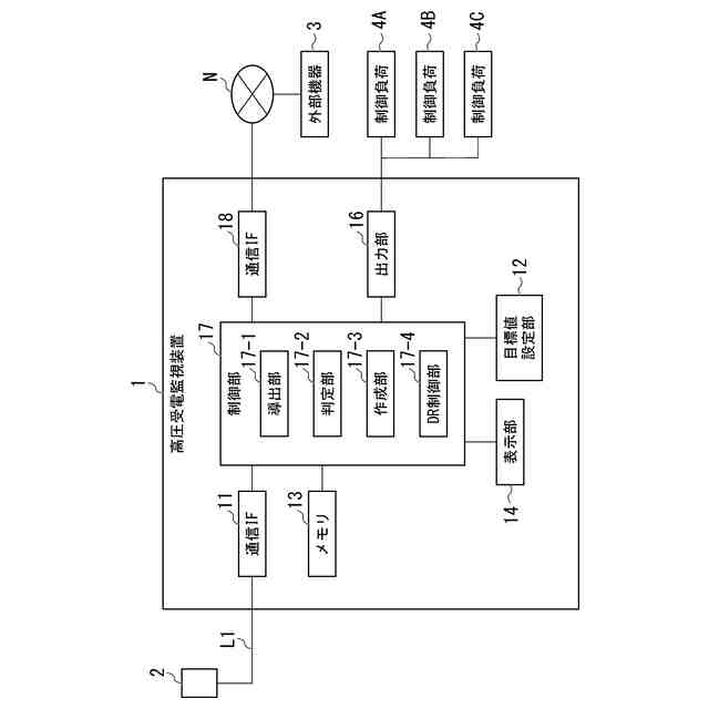
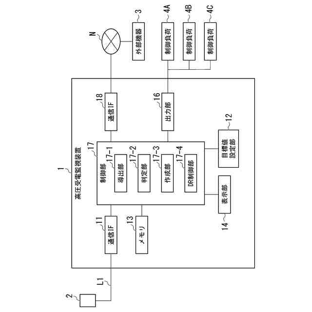
【解決手段】監視装置は、高圧スマートメータからデマンド電力データを受信する通信部と、前記デマンド電力データに基づいてデマンド周期毎のデマンド電力の推定値を導出する導出部と、導出部が導出した前記デマンド周期毎の前記デマンド電力の推定値が、目標デマンド電力を超えるか否かを判定する判定部と、判定部による判定結果に基づいて、k(kは、k>1の整数)個の制御負荷のうち、k未満の制御負荷を制御する制御信号を作成する作成部と、作成部が作成した制御信号を出力する出力部とを備える。
【選択図】図1
特許請求の範囲
【請求項1】
高圧スマートメータからデマンド電力データを受信する通信部と、
前記デマンド電力データに基づいてデマンド周期毎のデマンド電力の推定値を導出する導出部と、
前記導出部が導出した前記デマンド周期毎の前記デマンド電力の推定値が、目標電力量を超えるか否かを判定する判定部と、
前記判定部による判定結果に基づいて、k(kは、k>1の整数)個の制御負荷のうち、k未満の制御負荷を制御する制御信号を作成する作成部と、
前記作成部が作成した前記制御信号を出力する出力部と
を備える、監視装置。
続きを表示(約 1,100 文字)
【請求項2】
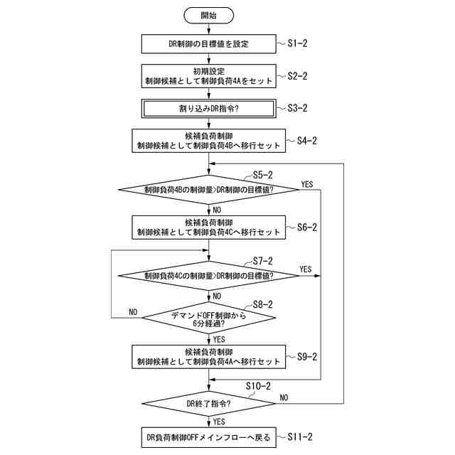
デマンドレスポンス制御の割り込みが発生した場合に、k個の前記制御負荷のうち、k未満の制御負荷を輪番制で制御するデマンドレスポンス制御部
をさらに備える、請求項1に記載の監視装置。
【請求項3】
前記判定部は、k未満の前記制御負荷の制御量が、デマンドレスポンス制御の目標値を超えるか否かを判定し、
前記デマンドレスポンス制御部は、前記判定部によって、k未満の前記制御負荷の制御量がデマンドレスポンス制御の目標値を超えないと判定された場合に、前記輪番制に基づいて次のk未満の前記制御負荷の制御へ移行させる、請求項2に記載の監視装置。
【請求項4】
次の前記制御負荷の数と、前の前記制御負荷の数とは異なる、請求項3に記載の監視装置。
【請求項5】
前記判定部は、k未満の前記制御負荷の制御量が、デマンドレスポンス制御の目標値を超えるか否かを判定し、
前記デマンドレスポンス制御部は、前記判定部によって、k未満の前記制御負荷の制御量がデマンドレスポンス制御の目標値を超えると判定された場合に、デマンドレスポンス終了指令が発生したか否かを判定する、請求項2に記載の監視装置。
【請求項6】
監視装置が実行する監視方法であって、
高圧スマートメータからデマンド電力データを受信するステップと、
前記デマンド電力データに基づいてデマンド周期毎のデマンド電力の推定値を導出するステップと、
前記導出するステップで導出した前記デマンド周期毎の前記デマンド電力の推定値が、目標デマンド電力を超えるか否かを判定するステップと、
前記判定するステップでの判定結果に基づいて、k(kは、k>1の整数)個の制御負荷のうち、k未満の制御負荷を制御する制御信号を作成するステップと、
前記作成するステップで作成した前記制御信号を出力するステップと
を有する、監視方法。
【請求項7】
監視装置のコンピュータに、
高圧スマートメータからデマンド電力データを受信するステップと、
前記デマンド電力データに基づいてデマンド周期毎のデマンド電力の推定値を導出するステップと、
前記導出するステップで導出した前記デマンド周期毎の前記デマンド電力の推定値が、目標デマンド電力を超えるか否かを判定するステップと、
前記判定するステップでの判定結果に基づいて、k(kは、k>1の整数)個の制御負荷のうち、k未満の制御負荷を制御する制御信号を作成するステップと、
前記作成するステップで作成した前記制御信号を出力するステップと
を実行させる、プログラム。
発明の詳細な説明
【技術分野】
【0001】
本発明は、監視装置、監視方法およびプログラムに関する。
続きを表示(約 1,900 文字)
【背景技術】
【0002】
高圧受電設備に設置された高圧スマートメータと通信して使用電力データを入手し、使用電力の状況を判断してデマンド監視制御を可能とする技術が知られている(例えば、特許文献1参照)。この技術では、需要家に供給される高圧電力を計測する高圧スマートメータから使用電力データを受信するスマートメータ通信IFと、基準電力量を設定するための基準値設定部を有し、高圧受電装置CPUは高圧スマートメータから使用電力データをデマンド周期内に複数回入手して、デマンド周期の期間で使用される電力量を予測し、予測した使用電力量が予め設定された基準電力量を超えないか判断し、判断結果に応じて報知部を報知動作させ、予測値が設定された基準電力量を超えると判断した場合は、報知部を報知動作させ、外部機器に警報信号を送信する。
【先行技術文献】
【特許文献】
【0003】
特開2018-207635号公報
【発明の概要】
【発明が解決しようとする課題】
【0004】
デマンドレスポンス(DR)制御時にデマンド制御の目標値を下げて制御するため、30分間のデマンド制御間隔のうち、最初の5分間は制御が行われない。つまり、制御は次の制御タイミングとなり、最初の6分間は制御がかからない。このため、デマンドレスポンス指令に対する電力量抑制幅が狭くなる。
また、デマンド制御やデマンドレスポンス制御が行われる場合に全ての設備に対して同様の制御が行われる場合、設備の損傷リスクが高くなる。
本発明の目的は、設備の損傷リスクを低減できる監視装置、監視方法およびプログラムを提供することにある。
【課題を解決するための手段】
【0005】
(1)本発明の一態様は、高圧スマートメータからデマンド電力データを受信する通信部と、前記デマンド電力データに基づいてデマンド周期毎のデマンド電力の推定値を導出する導出部と、前記導出部が導出した前記デマンド周期毎の前記デマンド電力の推定値が、目標デマンド電力を超えるか否かを判定する判定部と、前記判定部による判定結果に基づいて、k(kは、k>1の整数)個の制御負荷のうち、k未満の制御負荷を制御する制御信号を作成する作成部と、前記作成部が作成した前記制御信号を出力する出力部とを備える、監視装置である。
【0006】
(2)本発明の一態様は、上記(1)に記載の監視装置において、デマンドレスポンス制御の割り込みが発生した場合に、k個の前記制御負荷のうち、k未満の制御負荷を輪番制で制御するデマンドレスポンス制御部をさらに備える、監視装置である。
【0007】
(3)本発明の一態様は、上記(2)に記載の監視装置において、前記判定部は、k未満の前記制御負荷の制御量が、デマンドレスポンス制御の目標値を超えるか否かを判定し、前記デマンドレスポンス制御部は、前記判定部によって、k未満の前記制御負荷の制御量がデマンドレスポンス制御の目標値を超えないと判定された場合に、前記輪番制に基づいて次のk未満の前記制御負荷の制御へ移行させる、監視装置である。
【0008】
(4)本発明の一態様は、上記(3)に記載の監視装置において、次の前記制御負荷の数と、前の前記制御負荷の数とは異なる、監視装置である。
【0009】
(5)本発明の一態様は、上記(2)に記載の監視装置において、前記判定部は、k未満の前記制御負荷の制御量が、デマンドレスポンス制御の目標値を超えるか否かを判定し、前記デマンドレスポンス制御部は、前記判定部によって、k未満の前記制御負荷の制御量がデマンドレスポンス制御の目標値を超えると判定された場合に、デマンドレスポンス終了指令が発生したか否かを判定する、監視装置である。
【0010】
(6)本発明の一態様は、監視装置が実行する監視方法であって、高圧スマートメータからデマンド電力データを受信するステップと、前記デマンド電力データに基づいてデマンド周期毎のデマンド電力の推定値を導出するステップと、前記導出するステップで導出した前記デマンド周期毎の前記デマンド電力の推定値が、目標デマンド電力を超えるか否かを判定するステップと、前記判定するステップでの判定結果に基づいて、k(kは、k>1の整数)個の制御負荷のうち、k未満の制御負荷を制御する制御信号を作成するステップと、前記作成するステップで作成した前記制御信号を出力するステップとを有する、監視方法である。
(【0011】以降は省略されています)
この特許をJ-PlatPat(特許庁公式サイト)で参照する
関連特許
個人
単極モータ
1か月前
個人
電気を重力で発電装置
12日前
キヤノン電子株式会社
モータ
19日前
キヤノン電子株式会社
モータ
11日前
株式会社アイシン
ロータ
1か月前
株式会社アイシン
ロータ
1か月前
日星電気株式会社
ケーブル組立体
27日前
コーセル株式会社
電源装置
20日前
トヨタ自動車株式会社
モータ
11日前
株式会社デンソー
回転機
1か月前
株式会社アイシン
ステータ
1か月前
株式会社ダイヘン
充電装置
1か月前
株式会社アイシン
ステータ
1か月前
株式会社アイシン
ステータ
1か月前
株式会社アイシン
ステータ
1か月前
個人
二次電池繰返パルス放電器用印刷基板
25日前
株式会社kaisei
発電システム
1か月前
株式会社ミツバ
回転電機
1か月前
株式会社デンソー
電力変換装置
26日前
株式会社ミツバ
回転電機
1か月前
株式会社デンソー
電力変換装置
1か月前
株式会社ダイヘン
インバータ装置
1か月前
トヨタ自動車株式会社
固定子の加熱装置
22日前
株式会社デンソー
非接触受電装置
28日前
矢崎総業株式会社
ワイヤーハーネス
1か月前
山洋電気株式会社
モータ
25日前
個人
非対称鏡像力を有する4層PWB電荷搬送体
6日前
ローム株式会社
モータドライバ回路
6日前
日産自動車株式会社
ロータシャフト
6日前
日産自動車株式会社
ロータシャフト
6日前
トヨタ自動車株式会社
ステータの製造装置
12日前
個人
電線盗難防止方法及び電線盗難防止装置
19日前
株式会社アイシン
電力変換装置
11日前
トヨタ自動車株式会社
可変界磁ロータ
14日前
株式会社TMEIC
電力変換装置
1か月前
株式会社デンソー
ステータ及びモータ
1か月前
続きを見る
他の特許を見る