TOP
|
特許
|
意匠
|
商標
特許ウォッチ
Twitter
他の特許を見る
公開番号
2025145352
公報種別
公開特許公報(A)
公開日
2025-10-03
出願番号
2024045474
出願日
2024-03-21
発明の名称
負荷名称ラベル作成システム
出願人
河村電器産業株式会社
代理人
個人
,
個人
,
個人
主分類
G06F
3/12 20060101AFI20250926BHJP(計算;計数)
要約
【課題】 負荷名称入力部、印刷イメージ表示部の双方の充分な表示エリアを確保しつつ、双方を同時に確認できる負荷名称ラベル作成システムを提供する。
【解決手段】 負荷名称ラベルL1に印字する負荷名称を入力する入力装置2と、負荷名称情報を蓄積したサーバ3と、負荷名称ラベルL1に印字して作成した負荷名称ラベルL1を出力する出力装置4とを有している。入力装置CPU24は、負荷名称ラベルL1の印刷イメージM1を生成すると共に、モニタ22に表示されている任意の負荷名称ラベルL1の印刷イメージM1をタッチ操作すると、タッチした負荷名称ラベルL1に対して文字入力する負荷名称入力画面M2をポップアップ表示させる。ポップアップ表示した負荷名称入力画面M2から、サーバ3が記憶している情報を参照して負荷名称ラベルL1への負荷名称の入力が可能となる。
【選択図】 図1
特許請求の範囲
【請求項1】
ラベルに印字する負荷名称を入力する入力装置と、負荷名称情報を蓄積したサーバと、前記ラベルに印字して作成した負荷名称ラベルを出力する出力装置とを有し、分電盤に組み付けられた複数の分岐機器の個々に対応する負荷名称ラベルを作成する負荷名称ラベル作成システムであって、
前記入力装置は、前記負荷名称ラベルの印刷イメージを生成する印刷イメージ生成部と、生成した前記印刷イメージを表示する表示部と、当該表示部の表示を制御する表示制御部と、を有し、
前記表示制御部は、前記表示部に表示されている前記印刷イメージの中の任意のラベルが所定の操作で選択されると、選択したラベルに対して文字入力する入力画面をポップアップ表示し、
前記入力画面から、前記サーバが記憶している情報を参照して前記ラベルへの負荷名称の入力を可能とすることを特徴とする負荷名称ラベル作成システム。
発明の詳細な説明
【技術分野】
【0001】
本発明は、分電盤内の個々の分岐機器に対して、分岐先の負荷名称を表示するために取り付けるラベルを作成する負荷名称ラベル作成システムに関する。
続きを表示(約 1,700 文字)
【背景技術】
【0002】
分電盤には、分岐ブレーカの操作部のみ露出させ、それ以外の部位を覆って分電盤の前面を閉塞する分電盤カバーが取り付けられている。この分電盤カバーにより塵等が侵入を防止できるし、見た目もスッキリした構成にしている。
また、この分電盤カバーには負荷名称表示部が設けられ、個々の分岐ブレーカの分岐先の負荷がこの表示部により認識できるよう構成されている(例えば、特許文献1参照)。
【0003】
一方で、このように設けられた負荷名称表示部に対して、添付或いは添着して分岐先表示を行うためのラベルを作成する負荷名称ラベル作成システムがある。例えば特許文献2では、負荷名称を入力する画面、負荷名称ラベルの印刷内容を表示する印刷イメージ出力画面を備え、この入力画面と印刷イメージ出力画面とを画面に並べて表示させて、実際に印刷されるラベルの確認を可能とした。
【先行技術文献】
【特許文献】
【0004】
特開2010-28891号公報
特開2016-143144号公報
【発明の概要】
【発明が解決しようとする課題】
【0005】
しかしながら、上記システムは、入力画面と印刷イメージ出力画面とを並べて表示するため、双方の表示エリアが制約された。そのため、設定に必要な情報を一括表示した場合など、それぞれの表示エリアが狭く見づらかったし、ラベルの文字入力エリアも充分とは言えず長い名称の入力がし辛かった。
【0006】
そこで、本発明はこのような問題点に鑑み、負荷名称入力部、印刷イメージ表示部の双方の充分な表示エリアを確保しつつ、双方を同時に視認できる負荷名称ラベル作成システムを提供することを目的としている。
【課題を解決するための手段】
【0007】
上記課題を解決する為に、本発明に係る負荷名称ラベル作成システムは、ラベルに印字する負荷名称を入力する入力装置と、負荷名称情報を蓄積したサーバと、ラベルに印字して作成した負荷名称ラベルを出力する出力装置とを有し、分電盤に組み付けられた複数の分岐機器の個々に対応する負荷名称ラベルを作成する負荷名称ラベル作成システムであって、入力装置は、負荷名称ラベルの印刷イメージを生成する印刷イメージ生成部と、生成した印刷イメージを表示する表示部と、当該表示部の表示を制御する表示制御部と、を有し、表示制御部は、表示部に表示されている印刷イメージの中の任意のラベルが所定の操作で選択されると、選択したラベルに対して文字入力する入力画面をポップアップ表示し、入力画面から、サーバが記憶している情報を参照してラベルへの負荷名称の入力を可能とすることを特徴とする。
【発明の効果】
【0008】
本発明によれば、負荷名称ラベルの印刷イメージを視認しながら負荷名称の入力ができるため、負荷名称を的確に入力できる。加えて、負荷名称の入力画面はポップアップ表示されるため、印刷イメージを表示した状態でも入力エリアを大きくでき、複数行に亘る長い負荷名称の記入であってもスムーズに入力できる。
【図面の簡単な説明】
【0009】
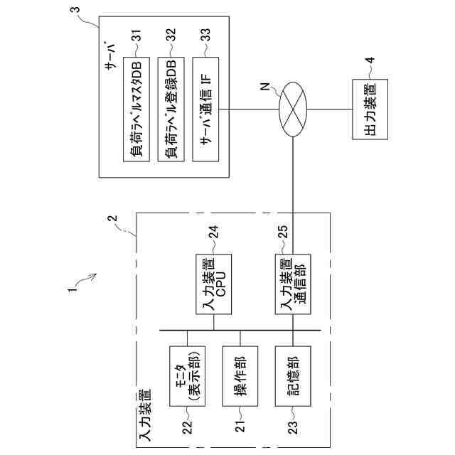
本発明に係る負荷名称ラベル作成システムの一例を示す構成図である。
負荷名称ラベル作成の流れを示すフロー図である。
印刷イメージをモニタに表示した画面図である。
ラベルに印字する文字の入力画面をポップアップ表示させた画面図である。
印刷したラベルの説明図である。
【発明を実施するための形態】
【0010】
以下、本発明を具体化した実施の形態を、図面を参照して詳細に説明する。図1は本発明に係る負荷名称ラベル作成システムの一例を示す構成図である。負荷名称ラベル作成システム1は、ラベルに分岐先の負荷名称を入力する入力装置2、ラベルの種類や負荷名称等の各種ラベル情報を蓄積しているサーバ3、負荷名称を印字した負荷名称ラベルを出力する出力装置4を備えている。これら機器間は、インターネット等の公衆通信網Nを介して接続されている。
(【0011】以降は省略されています)
この特許をJ-PlatPat(特許庁公式サイト)で参照する
関連特許
河村電器産業株式会社
宅配ボックス装置
4日前
河村電器産業株式会社
収納箱の扉の係止構造
1か月前
河村電器産業株式会社
負荷名称ラベル作成システム
19日前
河村電器産業株式会社
風向板付扉及びキャビネット
1か月前
河村電器産業株式会社
監視装置、監視方法およびプログラム
26日前
河村電器産業株式会社
情報処理装置、情報処理方法およびプログラム
26日前
河村電器産業株式会社
扉開閉構造、及び扉開閉構造のメンテナンス方法
1か月前
河村電器産業株式会社
充電制御装置、充電制御方法及び充電制御プログラム
1か月前
個人
詐欺保険
1か月前
個人
縁伊達ポイン
1か月前
個人
職業自動販売機
4日前
個人
5掛けポイント
11日前
個人
RFタグシート
22日前
個人
QRコードの彩色
1か月前
個人
ペルソナ認証方式
19日前
個人
地球保全システム
1か月前
個人
情報処理装置
14日前
個人
自動調理装置
21日前
個人
残土処理システム
1か月前
個人
農作物用途分配システム
1か月前
個人
表変換編集支援システム
2か月前
個人
知的財産出願支援システム
1か月前
個人
タッチパネル操作指代替具
28日前
個人
インターネットの利用構造
18日前
個人
サービス情報提供システム
6日前
個人
携帯端末障害問合せシステム
27日前
個人
パスワード管理支援システム
2か月前
個人
スケジュール調整プログラム
27日前
株式会社キーエンス
受発注システム
1か月前
個人
システム及びプログラム
2か月前
個人
食品レシピ生成システム
1か月前
株式会社キーエンス
受発注システム
1か月前
個人
エリアガイドナビAIシステム
19日前
個人
AIキャラクター制御システム
2か月前
株式会社キーエンス
受発注システム
1か月前
個人
海外支援型農作物活用システム
2か月前
続きを見る
他の特許を見る