TOP
|
特許
|
意匠
|
商標
特許ウォッチ
Twitter
他の特許を見る
10個以上の画像は省略されています。
公開番号
2025154428
公報種別
公開特許公報(A)
公開日
2025-10-10
出願番号
2024057427
出願日
2024-03-29
発明の名称
風向板付扉及びキャビネット
出願人
河村電器産業株式会社
代理人
個人
,
個人
,
個人
主分類
F24F
13/15 20060101AFI20251002BHJP(加熱;レンジ;換気)
要約
【課題】 風向板の操作を一括して実施でき、且つ上部の風向板の角度と下部の風向板の角度を異なる角度にできる。
【解決手段】 空気を通過させるための開口部3が上下に亘り形成され、この開口部3には空気の流れる方向を上下方向で変更可能とする複数の風向板11が配置されておる。風向板11は横長の帯状片であり、開口部3左右の縦枠2aに左右両端が軸支されて左右方向の回動軸を有し、一方の軸支部には縦枠2aに沿って配置された回動操作部材20の係合突起14が係合する回動連携部13が設けられている。回動操作部材20の所定の操作により、回動連携部13を介して風向板11が開口部3を閉じた状態から一定角度開いて開口部3を開放する状態までの回動を実施する。この回動連携部13は、風向板11の回動角が異なる複数種類で構成されている。
【選択図】 図2
特許請求の範囲
【請求項1】
空気を通過させるための開口部が上下に亘り形成され、前記開口部には空気の流れる方向を上下方向で変更可能とする複数の風向板が配置されて成る風向板付扉であって、
個々の前記風向板は横長の帯状片であり、前記開口部の左右に起立配置された縦枠に左右両端が軸支されて左右方向の回動軸を有し、
前記風向板の一方の軸支部には、前記風向板を回動させるための回動連携部が設けられ、
個々の前記回動連携部は、一方の前記縦枠に沿って配置された回動操作部材の係合片が係合し、
前記回動操作部材の所定の操作により、前記回動連携部を介して前記風向板を回動させ、前記開口部を閉じた状態から一定角度開いて前記開口部の開放を実施し、
その際前記回動連携部は、前記回動操作部材の操作で回動する前記風向板の角度が、風向板取付位置により異なるよう複数種類で構成されており、
少なくとも前記開口部の上部と下部とで、前記風向板の開角度が異なることを特徴とする風向板付扉。
続きを表示(約 390 文字)
【請求項2】
前記開口部はキャビネット内の空気を排出させる排気窓であり、
前記風向板は、設けられている回動連携部の種類によって縦方向の幅が異なると共に、前記回動操作部材の操作により、前記開口部に平行に配置して前記開口部を閉じた状態から前方に傾倒するよう回動し、
回動角が大きく傾倒後の仰角の小さい前記風向板の幅より、回動角の小さく傾倒後の仰角が大きい前記風向板の幅が大きいことを特徴とする請求項1記載の風向板付扉。
【請求項3】
収納されている機器により温められた空気を排出する開口部を前面或いは背面に備えたキャビネットであって、
請求項1又は2に記載の風向板付扉を前面及び背面の少なくとも一方に備えて、
収納されている機器により温められた空気を排出する開口部を前面或いは背面に備えたことを特徴とするキャビネット。
発明の詳細な説明
【技術分野】
【0001】
本発明は、サーバ等の発熱を伴う電子機器、電気機器を収納したキャビネットの排気構造に関し、詳しくは複数の風向板を扉に取り付けた風向板付扉、及びこの扉を備えたキャビネットに関する。
続きを表示(約 3,200 文字)
【背景技術】
【0002】
発熱を伴う電子機器や電気機器を収納するキャビネットは、熱せられた内気を外部に放出するための排気窓(開口部)が、通常キャビネットの天面或いは前面扉に設けられている。そして、機器により熱せられた空気がキャビネット内に設けられたファンにより排気窓から、上方或いは前方に放出される。尚、キャビネットの排気窓から離れた部位には給気口が設けられている。
更に、排気窓が前面の扉に設けられている場合は、対向して配置されているキャビネットに排出された温風が入り込まないよう、排気が上方に排出される工夫が成されている。例えば特許文献1では、扉全体を大きく開口形成して排気窓としているが、この排気窓全体に風向調整フィン(風向板)を取り付けて、放出される空気の流れを規定して対向配置されているキャビネットに向かないよう構成されている。
【先行技術文献】
【特許文献】
【0003】
特開2020-205321号公報
【発明の概要】
【発明が解決しようとする課題】
【0004】
風向板を取り付けた上記特許文献1の技術は、排気窓等の開口部から放出される温風が、対向配置されたキャビネットに向かないよう排気方向の変更を可能とした。しかしながら、風向板の角度調整は風向板毎に作業者が調整しなければ成らないため、全ての風向板を同一角度に設定する操作は面倒であったし、使用しない開口部を閉じる操作も面倒であった。まして、下部と上部で異なる角度に設定する必要がある場合は更に操作が面倒であった。
【0005】
そこで、本発明はこのような問題点に鑑み、風向板の操作を一括して実施でき、且つ上部の風向板の角度と下部の風向板の角度を異なる角度にでき、空気の流れる方向を容易に好ましい角度に設定できる風向板付扉及びキャビネットを提供することを目的としている。
【課題を解決するための手段】
【0006】
上記課題を解決する為に、本発明の第1の構成は、空気を通過させるための開口部が上下に亘り形成され、開口部には空気の流れる方向を上下方向で変更可能とする複数の風向板が配置されて成る風向板付扉であって、個々の風向板は横長の帯状片であり、開口部の左右に起立配置された縦枠に左右両端が軸支されて左右方向の回動軸を有し、風向板の一方の軸支部には、風向板を回動させるための回動連携部が設けられ、個々の回動連携部は、一方の縦枠に沿って配置された回動操作部材の係合片が係合し、回動操作部材の所定の操作により、回動連携部を介して風向板を回動させ、開口部を閉じた状態から一定角度開いて開口部の開放を実施し、その際回動連携部は、回動操作部材の操作で回動する風向板の角度が、風向板取付位置により異なるよう複数種類で構成されており、少なくとも開口部の上部と下部とで、風向板の開角度が異なることを特徴とする。
この構成によれば、開口部に排気方向を変更するための風向板が複数取り付けられていても、回動操作部材の操作で一括して風向板の角度が変更でき、吸気或いは排出される空気の方向を容易に変更できる。また、少なくとも開口部の上部と下部とで、風向板の回動角度が異なるよう構成されているため、キャビネット前面に設けた開口部を排気窓として使用した場合、上部に取り付けられている風向板より下部に取り付けられた風向板の角度をより上方に向けて排出するよう設定することが可能となる。結果、正面に向く排気を削減でき、正面に対向するよう設置されたキャビネットに対して放出した空気が侵入するのを防止できる。
【0007】
本発明の別の態様は、上記構成において、開口部はキャビネット内の空気を排出させる排気窓であり、風向板は、設けられている回動連携部の種類によって縦方向の幅が異なると共に、回動操作部材の操作により、開口部に平行に配置して開口部を閉じた状態から前方に傾倒するよう回動し、回動角が大きく傾倒後の仰角の小さい風向板の幅より、回動角の小さく傾倒後の仰角が大きい風向板の幅が大きいことを特徴とする。
この構成によれば、回動角が小さく設定された風向板の幅は、回動角が大きく設定された風向板の幅に比べて大きいため、回動角が小さいことで空気の排出方向が大きく変更される構成であっても、空気の排出方向を良好に変更できる。
【0008】
本発明の第2の構成は、収納されている機器により温められた空気を排出する開口部を前面或いは背面に備えたキャビネットであって、請求項1又は2に記載の風向板付扉を前面及び背面の少なくとも一方に備えて、収納されている機器により温められた空気を排出する開口部を前面或いは背面に備えたことを特徴とする。
この構成によれば、収容されている機器により暖められた空気を強制排気させるファンをキャビネット内に備えている場合、排気方向を風向板で変更できる。よって、キャビネット内の空気を排出する開口部に前方に、対向するようにキャビネットが配置されていても、対向配置されているキャビネットに向けて放出されないよう調整できる。
【発明の効果】
【0009】
本発明によれば、開口部に風向きを変更するための風向板が複数取り付けられていても、回動操作部材の操作で一括して風向板の角度が変更でき吸気或いは排出される空気の方向を容易に変更できる。また、少なくとも開口部の上部と下部とで、風向板の回動角度が異なるよう構成されているため、キャビネット前面に設けた開口部を排気窓として使用した場合、上部に取り付けられている風向板より下部に取り付けられた風向板の角度をより上方に向けて排出するよう設定することが可能となる。結果、正面に向く排気を削減でき、正面に対向するよう設置されたキャビネットに対して放出した空気が侵入するのを防止できる。
【図面の簡単な説明】
【0010】
本発明に係る風向板付扉の一例を示す斜視図であり、風向板を開いた状態を示している
図1の風向板付扉の背面図である。
風向板を閉じた状態の風向板付扉の斜視図である。
風向板付扉を備えたキャビネットの斜視図である。
図2のA-A線断面説明図であり、斜視で示している。
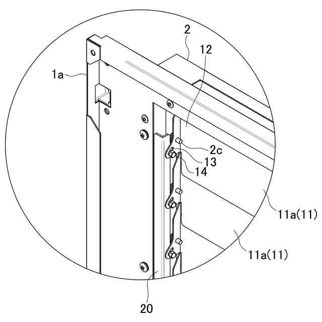
図2のB部を拡大した斜視説明図であり、風向枠の一部を構成する縦枠を削除して回動操作部材を露出させた状態を示している。
図6において風向枠を閉じた状態を示している。
図2のC部を拡大した斜視説明図である。
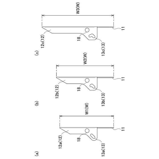
風向板の側面図であり、一方の端部に設けられた軸支片の説明図である。(a)は開口部の上部に取り付けられた風向板の一方の軸支片、(b)は開口部の中間部に取り付けられた風向板の一方の軸支片、(c)は開口部の下部に取り付けられた風向板の一方の軸支片を示している。
上部の回動連携部の動作説明図であり、(a)は風向板回動前の開口部を閉塞している状態、(b)は回動して開口部を開放した状態を示している。
中央部の回動連携部の動作説明図であり、(a)は風向板回動前の開口部を閉塞している状態、(b)は回動して開口部を開放した状態を示している。
下部の回動連携部の動作説明図であり、(a)は風向板回動前の開口部を閉塞している状態、(b)は回動して開口部を開放した状態を示している。
操作つまみ周辺を拡大した風向板付扉の背面図である。
【発明を実施するための形態】
(【0011】以降は省略されています)
この特許をJ-PlatPat(特許庁公式サイト)で参照する
関連特許
個人
集熱器具
11日前
株式会社トヨトミ
五徳
25日前
株式会社コロナ
空調装置
25日前
株式会社コロナ
空調装置
4か月前
株式会社コロナ
空調装置
2か月前
株式会社コロナ
加湿装置
2か月前
個人
油ハネ防止カーテン
14日前
株式会社コロナ
空調装置
3か月前
株式会社コロナ
空調装置
1か月前
株式会社コロナ
給湯装置
3か月前
株式会社コロナ
空調装置
25日前
株式会社コロナ
空調装置
1か月前
株式会社コロナ
空気調和機
3か月前
個人
住宅換気空調システム
2か月前
株式会社コロナ
風呂給湯機
2か月前
個人
太陽光パネル傾斜装置
1か月前
株式会社コロナ
空気調和機
2か月前
株式会社パロマ
給湯器
4か月前
株式会社コロナ
温水暖房装置
25日前
ホーコス株式会社
排気フード
3か月前
株式会社コロナ
直圧式給湯機
2か月前
株式会社コロナ
直圧式給湯機
4か月前
個人
シンプルクーラー
1か月前
株式会社コロナ
暖房システム
1か月前
株式会社コロナ
貯湯式給湯機
1か月前
株式会社コロナ
貯湯式給湯機
1か月前
株式会社コロナ
輻射式冷房装置
2か月前
株式会社コロナ
貯湯式給湯装置
4か月前
三菱電機株式会社
換気扇
1か月前
三菱電機株式会社
換気扇
1か月前
ホーコス株式会社
換気扇取付枠
2か月前
三菱電機株式会社
換気扇
1か月前
株式会社パロマ
給湯暖房機
4か月前
株式会社パロマ
給湯暖房機
4か月前
株式会社パロマ
給湯暖房機
4か月前
株式会社パロマ
ガスコンロ
18日前
続きを見る
他の特許を見る