TOP
|
特許
|
意匠
|
商標
特許ウォッチ
Twitter
他の特許を見る
公開番号
2025144275
公報種別
公開特許公報(A)
公開日
2025-10-02
出願番号
2024043978
出願日
2024-03-19
発明の名称
電気機器収納用筐体
出願人
河村電器産業株式会社
代理人
個人
,
個人
,
個人
主分類
H02B
1/56 20060101AFI20250925BHJP(電力の発電,変換,配電)
要約
【課題】 自然換気による排気がスムーズに行われる構造の電気機器収納用筐体を提供する。
【解決手段】 収容した変圧器8の発熱により熱せられた空気を放出するための開口部41を天板4に設け、開口部41の周囲には一定の高さを有する枠体11が縁部に沿って配置され、開口部の縁部が嵩上げされて成る一方、天板4上には開口部41を覆う覆設体7が配置され、覆設体7は開口部41の上方を覆う平坦な遮蔽板13、開口部41及び遮蔽板13の周囲を覆うスカート部7a、更にスカート部7aの上部から遮蔽板13の上方を覆うよう配設されて天面を形成する天枠部7bを有している。天枠部7bにより囲まれた天面中央には、開口部41から上昇した空気を上方に放出するための排気口71が形成されている。遮蔽板13は略水平に配置された平坦な板体であり、遮蔽板13の周囲には空気を上方に通過させる通気孔13bが形成されている。
【選択図】 図5
特許請求の範囲
【請求項1】
収容した電気機器の発熱により熱せられた空気を放出するために、天板に開口部を設けた電気機器収納用筐体であって、
前記開口部の周囲には一定の高さを有する枠体が縁部に沿って配置され、前記開口部の縁部が嵩上げされて成る一方、
前記天板上には、前記開口部を覆う覆設体が配置され、
前記覆設体は、前記開口部の上方を覆う遮蔽板、前記開口部及び前記遮蔽板の周囲を覆うスカート部、更に前記スカート部の上部から前記遮蔽板の上方を覆うよう配設されて天面を形成する天枠部を有し、
前記天枠部により囲まれた天面中央には、前記開口部から上昇した熱せられた空気を上方に放出するための排気口が形成されると共に、
前記遮蔽板は略水平に配置された平坦な板体であり、当該遮蔽板の前記開口部の外側となる前記スカート部近傍には、空気を上方に通過させる通気穴が周設されていることを特徴とする電気機器収納用筐体。
続きを表示(約 100 文字)
【請求項2】
前記電気機器は変圧器であり、前記開口部は前記変圧器の横幅及び奥行きと同等の寸法かそれより大きく、前記変圧器の真上に形成されていることを特徴とする請求項1記載の電気機器収納用筐体。
発明の詳細な説明
【技術分野】
【0001】
本発明は、屋外に設置されて収容されている電気機器を自然換気で冷却する電気機器収納用筐体に関する。
続きを表示(約 2,500 文字)
【背景技術】
【0002】
変圧器等の発熱する電気機器を収納する筐体は、発生する熱により内部温度が上昇しないよう換気機能を備えている。屋外に設置されるこのような筐体の場合、ファン等を設けて強制排気する構成とするのが望ましいが、定期的な点検が必要となるし、部材の交換等のメンテナンスが面倒なため、自然換気が採用される場合が多い。
自然換気させる場合は、下部に吸気口、上部に排気口を設けて空気の自然対流を利用して放熱させることになる。この場合、上部に設けた排気口は、雨水や塵が侵入しないように、また落ち葉等が排気口を塞がない構造とする必要がある。
例えば、特許文献1では、筐体の天面に排気のための開口部を設け、開口部の上方に開口部より広く形成した上板を配置すると共に、開口部周囲は枠状に起立形成した第1折れ部を設けて、雨水や粉塵が排気口から侵入するのを防止した。
【先行技術文献】
【特許文献】
【0003】
特開2018-38227号公報
【発明の概要】
【発明が解決しようとする課題】
【0004】
上方特許文献1の排気構造は、開口部周囲に立ち上げた第1折れ部と上板の周囲に下方に折り曲げた第2折れ部とにより、雨水や粉塵の浸入を防ぐことができた。
しかしながら、第2折れ部により排気される空気の流れを下向きにする部位が発生するため、空気の流路にあたかも壁が形成された状態となり、排気がスムーズに行われず熱だまりが発生し易い問題があった。
【0005】
そこで、本発明はこのような問題点に鑑み、自然換気による排気がスムーズに行われる構造の電気機器収納用筐体を提供することを目的としている。
【課題を解決するための手段】
【0006】
上記課題を解決する為に、本発明の第1の構成は、収容した電気機器の発熱により熱せられた空気を放出するために、天板に開口部を設けた電気機器収納用筐体であって、開口部の周囲には一定の高さを有する枠体が縁部に沿って配置され、開口部の縁部が嵩上げされて成る一方、天板上には、開口部を覆う覆設体が配置され、覆設体は、開口部の上方を覆う遮蔽板、開口部及び遮蔽板の周囲を覆うスカート部、更にスカート部の上部から遮蔽板の上方を覆うよう配設されて天面を形成する天枠部を有し、天枠部により囲まれた天面中央には、開口部から上昇した熱せられた空気を上方に放出するための排気口が形成されると共に、遮蔽板は略水平に配置された平坦な板体であり、当該遮蔽板の開口部の外側となるスカート部近傍には、空気を上方に通過させる通気穴が周設されていることを特徴とする。
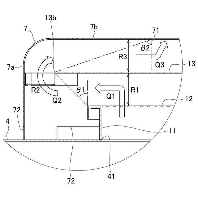
この構成によれば、開口部から排気口に至る空気の流路には、略水平方向に平坦な遮蔽板があるだけであり、空気の流路は横方向と上方へ移動する空間により構成され、途中に空気の下方への移動を強制する場所がないため、流れを遮る遮蔽物が無く熱だまりが発生しない。よって、電気機器により熱せられた空気をスムーズに排気口から外部に放出させることができる。また排気口に雨水が入っても、遮蔽板が開口部に雨水が入るのを防止するため、筐体内に雨水は入り込まない。
【0007】
本発明の別の態様は、上記構成において、電気機器は変圧器であり、開口部は変圧器の横幅及び奥行きと同等の寸法かそれより大きく、変圧器の真上に形成されていることを特徴とする。
この構成によれば、開口部の大きさは収納した変圧器と同等かそれ以上であり、且つ変圧器の真上に形成されているため、発変圧器により熱せられて上昇した空気は、スムーズに開口部から外に放出される。よって、熱だまりの発生を防止できるし、箱内部の温度上昇を効果的に防止できる。
【発明の効果】
【0008】
本発明によれば、開口部から排気口に至る空気の流路には、平坦な遮蔽板があるだけであり、空気は横方向と上方へ移動する流路により構成され、途中に空気の下方への移動を強制する場所がないため、流れを遮る遮蔽物が無く熱だまりが発生しない。よって、電気機器により熱せられた空気をスムーズに排気口から外部に放出させることができる。また排気口に雨水が入っても、遮蔽板が開口部に雨水が入るのを防止するため、筐体内に雨水は入り込まない。
【図面の簡単な説明】
【0009】
本発明に係る電気機器収納用筐体の一例を示す斜視図である。
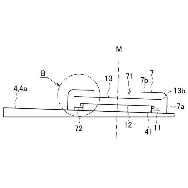
電気機器収納用筐体の側面説明図である。
天板の斜視図であり、(a)は開口部を露出させた状態、(b)は中板を開口部上に配置した状態を示している。
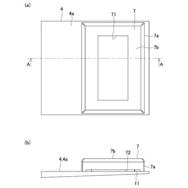
天板及び覆設体を示し、(a)は平面図、(b)は側面図である。
図4のA-A線端面図である。
開口部上に遮蔽板を配置した天板の斜視図である。
図5のB部を拡大した断面説明図である。
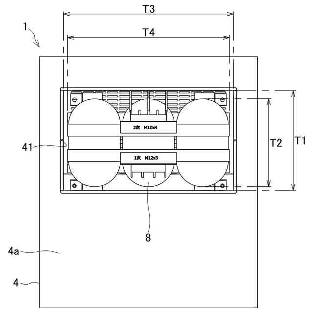
覆設体を除いた電気機器収納用筐体の平面説明図であり、内部電気機器と開口部の関係を示している。
【発明を実施するための形態】
【0010】
以下、本発明を具体化した実施の形態を、図面を参照して詳細に説明する。図1,2は本発明に係る電気機器収納用筐体の一例を示し、図1は斜視図、図2は右側面図である。尚、図2では収容している電気機器を破線で示している。
電気機器収納用筐体(以下、単に「筐体」と称する。)1は、四角形の金属製箱体であり、左右側板2、背板3、天板4、底板5を有し、開放された前面には扉6を備えており、内部の電気機器収容部を閉塞するよう形成されている。そして、天板4の上には内部の熱せられた空気を排気するための覆設体7が配置されている。また、8は変圧器を示し、電気機器として変圧器8を収容した構成を示している。
尚、筐体1は基台9に載置された状態を示している。
(【0011】以降は省略されています)
この特許をJ-PlatPat(特許庁公式サイト)で参照する
関連特許
河村電器産業株式会社
宅配ボックス装置
4日前
河村電器産業株式会社
負荷名称ラベル作成システム
19日前
河村電器産業株式会社
監視装置、監視方法およびプログラム
26日前
河村電器産業株式会社
情報処理装置、情報処理方法およびプログラム
26日前
河村電器産業株式会社
充電制御装置、充電制御方法及び充電制御プログラム
1か月前
個人
単極モータ
1か月前
個人
電気を重力で発電装置
12日前
キヤノン電子株式会社
モータ
19日前
キヤノン電子株式会社
モータ
11日前
株式会社アイシン
ロータ
1か月前
株式会社アイシン
ロータ
1か月前
日星電気株式会社
ケーブル組立体
27日前
コーセル株式会社
電源装置
20日前
トヨタ自動車株式会社
モータ
11日前
株式会社デンソー
回転機
1か月前
個人
二次電池繰返パルス放電器用印刷基板
25日前
株式会社kaisei
発電システム
1か月前
株式会社デンソー
電力変換装置
26日前
株式会社ミツバ
回転電機
1か月前
株式会社デンソー
電力変換装置
1か月前
株式会社デンソー
非接触受電装置
28日前
トヨタ自動車株式会社
固定子の加熱装置
22日前
株式会社ダイヘン
インバータ装置
1か月前
トヨタ自動車株式会社
ステータの製造装置
12日前
個人
非対称鏡像力を有する4層PWB電荷搬送体
6日前
日産自動車株式会社
ロータシャフト
6日前
日産自動車株式会社
ロータシャフト
6日前
ローム株式会社
モータドライバ回路
6日前
山洋電気株式会社
モータ
25日前
矢崎総業株式会社
ワイヤーハーネス
1か月前
トヨタ自動車株式会社
可変界磁ロータ
14日前
個人
電線盗難防止方法及び電線盗難防止装置
19日前
株式会社マキタ
電動作業機
19日前
トヨタ紡織株式会社
ロータの製造装置
20日前
株式会社明治ゴム化成
ワイヤレス給電用部品
21日前
株式会社TMEIC
電力変換装置
1か月前
続きを見る
他の特許を見る