TOP
|
特許
|
意匠
|
商標
特許ウォッチ
Twitter
他の特許を見る
公開番号
2025155190
公報種別
公開特許公報(A)
公開日
2025-10-14
出願番号
2024058841
出願日
2024-04-01
発明の名称
圧力センサ
出願人
株式会社鷺宮製作所
代理人
弁理士法人谷・阿部特許事務所
主分類
G01L
19/06 20060101AFI20251006BHJP(測定;試験)
要約
【課題】信号処理回路および圧力検出素子へのノイズの影響を防止することができる圧力センサを提供する。
【解決手段】圧力センサは、圧力検出素子と、圧力検出素子が配される液封室と液封室に向き合う圧力室とを仕切る金属製のダイヤフラムと、圧力検出素子に電気的に接続される入出力端子群と、絶縁部材と、ダイヤフラム、絶縁部材とともに液封室を形成する導電性ハウジングを含んでなるセンサユニットと、信号処理回路と、入出力端子群の1つと電気的に接続されており、ハウジングに対して絶縁部材を介してノイズを逃がす導電性部材と、を備えた圧力センサであって、導電性部材とハウジングの間に生じる浮遊容量をC
1
、圧力検出素子とハウジングの間に生じる浮遊容量をC
2
、信号処理回路とハウジングとの間に生じる浮遊容量をC
3
としたときに、以下の式(1)および(2)が成立することを特徴とする。
C
1
>C
2
・・・(1)
C
1
>C
3
・・・(2)
【選択図】図1
特許請求の範囲
【請求項1】
圧力を検出し、圧力に応じた圧力検出信号を外部制御機器に送出する圧力検出素子と、
該圧力検出素子が配される液封室と該液封室に向き合う圧力室とを仕切る金属製のダイヤフラムと、
前記圧力検出素子に電気的に接続される入出力端子群と、
前記圧力検出素子および前記入出力端子群を支持する絶縁部材と、
前記ダイヤフラム、前記絶縁部材とともに圧力伝達媒体を封止する前記液封室を形成する導電性ハウジングを含んでなるセンサユニットと、
前記圧力検出素子に前記外部制御機器から供給される駆動電圧、または、前記圧力検出素子から前記外部制御機器に送出する前記圧力検出信号のいずれかまたは両方を変換する信号処理回路と、
前記入出力端子群の1つと電気的に接続されており、前記導電性ハウジングに対して前記絶縁部材を介してノイズを逃がす導電性部材と、
を備えた圧力センサであって、
前記導電性部材と前記導電性ハウジングの間に生じる浮遊容量をC
1
とし、前記圧力検出素子と前記導電性ハウジングの間に生じる浮遊容量をC
2
とし、前記信号処理回路と前記導電性ハウジングとの間に生じる浮遊容量をC
3
としたときに、以下の式(1)および(2)が成立することを特徴とする圧力センサ。
C
1
>C
2
・・・(1)
C
1
>C
3
・・・(2)
続きを表示(約 2,600 文字)
【請求項2】
前記C
1
において、比誘電率をε
1
、前記導電性部材と前記導電性ハウジングの間の対向する部分の最小距離をd
1
、前記導電性部材と前記導電性ハウジングの対向面積をS
1
とし、前記C
2
において、比誘電率をε
2
、前記圧力検出素子と前記導電性ハウジングの間の対向する部分の最小距離をd
2
、前記圧力検出素子と前記導電性ハウジングの対向面積をS
2
とし、前記C
3
において、比誘電率をε
3
、前記信号処理回路と前記導電性ハウジングの間の対向する部分の最小距離をd
3
、前記信号処理回路と前記導電性ハウジングの対向面積をS
3
とすると、ε
1
≧ε
2
およびε
1
≧ε
3
の場合において、以下の式(3)および(4)が成立することを特徴とする請求項1に記載の圧力センサ。
ε
1
S
1
/S
2
>ε
2
d
1
/d
2
・・・(3)
ε
1
S
1
/S
3
>ε
3
d
1
/d
3
・・・(4)
【請求項3】
前記導電性部材に電気的に接続する前記入出力端子群の1つが前記信号処理回路のグランド端子である請求項1に記載の圧力センサ。
【請求項4】
前記導電性部材に電気的に接続する前記入出力端子群の1つが前記信号処理回路の駆動用電圧端子である請求項1に記載の圧力センサ。
【請求項5】
圧力を検出し、圧力に応じた圧力検出信号を外部制御機器に送出する圧力検出素子と、
該圧力検出素子が配される液封室と該液封室に向き合う圧力室とを仕切る金属製のダイヤフラムと、
前記圧力検出素子に電気的に接続される入出力端子群と、
前記圧力検出素子および前記入出力端子群を支持する絶縁部材と、
前記ダイヤフラム、前記絶縁部材とともに圧力伝達媒体を封止する前記液封室を形成する導電性ハウジングを含んでなるセンサユニットと、
前記圧力検出素子に前記外部制御機器から供給される駆動電圧、または、前記圧力検出素子から前記外部制御機器に送出する前記圧力検出信号のいずれかまたは両方を変換する信号処理回路を有する変換基板と、
前記圧力検出素子に近接して設けられ、前記入出力端子群の1つと電気的に接続されており、前記導電性ハウジングに対して前記絶縁部材を介してノイズを逃がす第1の導電性部材と、
前記変換基板に近接して設けられ、前記入出力端子群の1つと電気的に接続されることにより、前記導電性ハウジングに対して前記絶縁部材を介してノイズを逃がす第2の導電性部材と、
を備えた圧力センサであって、
前記第1の導電性部材と前記導電性ハウジングの間に生じる浮遊容量をC
1
とし、前記第2の導電性部材と前記導電性ハウジングの間に生じる浮遊容量をC
1
´とし、前記圧力検出素子と前記導電性ハウジングの間に生じる浮遊容量をC
2
とし、前記変換基板と前記導電性ハウジングとの間に生じる浮遊容量をC
3
としたときに、以下の式(1)および(2)が成立することを特徴とする圧力センサ。
C
1
>C
2
・・・(1)
C
1
´>C
3
・・・(2)
【請求項6】
前記C
1
において、比誘電率をε
1
、前記第1の導電性部材と前記導電性ハウジングの間の対向する部分の最小距離をd
1
、前記第1の導電性部材と前記導電性ハウジングの対向面積をS
1
とし、前記C
2
において、比誘電率をε
2
、前記圧力検出素子と前記導電性ハウジングの間の対向する部分の最小距離をd
2
、前記圧力検出素子と前記導電性ハウジングの対向面積をS
2
とし、前記C
1
´において、比誘電率をε
1
´、前記第2の導電性部材と前記導電性ハウジングの間の対向する部分の最小距離をd
1
´、前記第2の導電性部材と前記導電性ハウジングの対向面積をS
1
´とし、前記C
3
において、比誘電率をε
3
、前記変換基板と前記導電性ハウジングの間の対向する部分の最小距離をd
3
、前記変換基板と前記導電性ハウジングの対向面積をS
3
とすると、ε
1
≧ε
2
およびε
1
´≧ε
3
の場合において、以下の式(3)および(4)が成立することを特徴とする請求項5に記載の圧力センサ。
ε
1
S
1
/S
2
>ε
2
d
1
/d
2
・・・(3)
ε
1
S
1
´/S
3
>ε
3
d
1
´/d
3
・・・(4)
【請求項7】
前記第1の導電性部材および前記第2の導電性部材に電気的に接続する前記入出力端子群の1つが前記信号処理回路のグランド端子である請求項5に記載の圧力センサ。
【請求項8】
前記第1の導電性部材および前記第2の導電性部材に電気的に接続する前記入出力端子群の1つが前記信号処理回路の駆動用電圧端子である請求項5に記載の圧力センサ。
発明の詳細な説明
【技術分野】
【0001】
本発明は、圧力センサに関し、詳しくは、圧力センサに加えられるノイズを抑制する技術に関する。
続きを表示(約 3,100 文字)
【背景技術】
【0002】
圧力センサでは、静電気やリレーのチャタリングによって発生する電気的ノイズが外部につながるリード線を介して加えられると、この電気的ノイズは、圧力センサ内部の信号処理回路もしくは圧力検出素子を通り、絶縁物を介してハウジングへと流れ、信号処理回路もしくは圧力検出素子を破壊することがある。
【0003】
特許文献1には、このようなノイズの対策のための構成として、圧力センサのベースを導電性素材で形成し、除電板を、ベース上に設けられた、表面に導電層が形成された第1の絶縁性部材によって構成し、上記導電層が、ベースと電気的に接続されず、配線層のグラウンドと同電位に維持され、圧力検出素子とベースとの間に第2の絶縁性部材が配置された圧力センサが記載されている。そして、第1の絶縁性部材の誘電率をε
1
とし、第2の絶縁性部材の誘電率をε
2
とし、絶縁性媒質の誘電率をε
3
としたとき、以下の式(1)および式(2)が成立することが記載されている。
ε
1
>ε
2
・・・(1)
ε
1
>ε
3
・・・(2)
【先行技術文献】
【特許文献】
【0004】
特開2021-60250号公報
【発明の概要】
【発明が解決しようとする課題】
【0005】
しかしながら、特許文献1に記載の上記構成では、浮遊容量を生じる要素間に存在する絶縁性媒質と絶縁性部材の誘電率の大小関係を規定しただけであり、ノイズ対策の構成としては不十分である。すなわち、浮遊容量を生じる要素間での浮遊容量の大小関係が規定されるものではないため、ノイズへの十分な対策がなされているとはいえない。
【0006】
本発明の目的は、信号処理回路および圧力検出素子へのノイズの影響を防止することができる圧力センサを提供することにある。
【課題を解決するための手段】
【0007】
上記課題を解決するために、圧力センサは、圧力を検出し、圧力に応じた圧力検出信号を外部制御機器に送出する圧力検出素子と、該圧力検出素子が配される液封室と該液封室に向き合う圧力室とを仕切る金属製のダイヤフラムと、前記圧力検出素子に電気的に接続される入出力端子群と、前記圧力検出素子および前記入出力端子群を支持する絶縁部材と、前記ダイヤフラム、前記絶縁部材とともに圧力伝達媒体を封止する前記液封室を形成する導電性ハウジングを含んでなるセンサユニットと、前記圧力検出素子に前記外部制御機器から供給される駆動電圧、または、前記圧力検出素子から前記外部制御機器に送出する前記圧力検出信号のいずれかまたは両方を変換する信号処理回路と、前記入出力端子群の1つと電気的に接続されており、前記ハウジングに対して前記絶縁部材を介してノイズを逃がす導電性部材と、を備えた圧力センサであって、前記導電性部材と前記ハウジングの間に生じる浮遊容量をC
1
とし、前記圧力検出素子と前記ハウジングの間に生じる浮遊容量をC
2
とし、前記信号処理回路と前記ハウジングとの間に生じる浮遊容量をC
3
としたときに、以下の式(1)および(2)が成立することを特徴とする。
C
1
>C
2
・・・(1)
C
1
>C
3
・・・(2)
【0008】
上記課題を解決するために、圧力センサは、圧力を検出し、圧力に応じた電気信号を送出する圧力検出素子と、該圧力検出素子が配される液封室と該液封室に向き合う圧力室とを仕切る金属製のダイヤフラムと、前記圧力検出素子に電気的に接続される入出力端子群と、前記圧力検出素子および前記入出力端子群を支持する絶縁部材と、前記ダイヤフラム、前記絶縁部材とともに圧力伝達媒体を封止する前記液封室を形成する導電性ハウジングを含んでなるセンサユニットと、前記圧力検出素子に前記外部制御機器から供給される駆動電圧、または、前記圧力検出素子から前記外部制御機器に送出する前記圧力検出信号のいずれかまたは両方を変換する信号処理回路を有する変換基板と、前記圧力検出素子に近接して設けられ、前記入出力端子群の1つと電気的に接続されており、前記ハウジングに対して前記絶縁部材を介してノイズを逃がす第1の導電性部材と、前記変換基板に近接して設けられ、前記入出力端子群の1つと電気的に接続されることにより、前記ハウジングに対して前記絶縁部材を介してノイズを逃がす第2の導電性部材と、を備えた圧力センサであって、前記第1の導電性部材と前記ハウジングの間に生じる浮遊容量をC
1
とし、前記第2の導電性部材と前記ハウジングの間に生じる浮遊容量をC
1
´とし、前記圧力検出素子と前記ハウジングの間に生じる浮遊容量をC
2
とし、前記変換基板と前記ハウジングとの間に生じる浮遊容量をC
3
としたときに、以下の式(1)および(2)が成立することを特徴とする。
C
1
>C
2
・・・(1)
C
1
´>C
3
・・・(2)
【発明の効果】
【0009】
本発明によれば、信号処理回路および圧力検出素子へのノイズの影響を防止することができる圧力センサを提供することができる。
【図面の簡単な説明】
【0010】
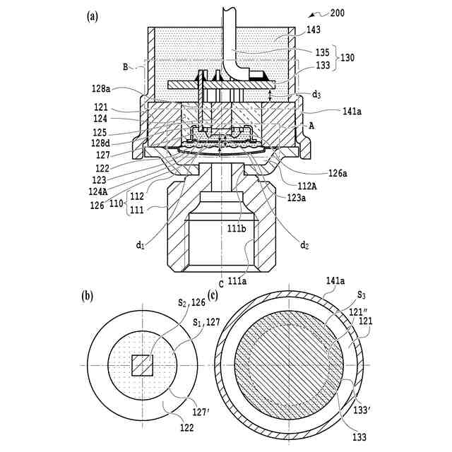
図1は、本発明の実施形態に係る圧力センサ本体を示す概略図であり、図1(a)は、圧力センサ本体を示す断面図であり、図1(b)は、図1(a)のAの領域を流体導入部側から見た場合の概略平面図である。
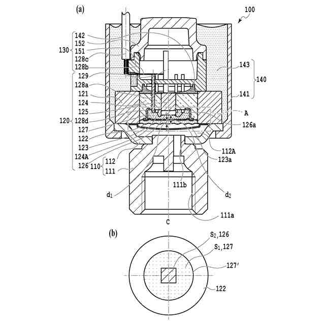
図2は、本発明の実施形態に係る圧力センサ本体を示す概略図であり、図2(a)は、本発明の実施形態に係る圧力センサ本体を示す断面図であり、図2(b)は、図2(a)のAの領域を流体導入部側から見た場合の概略平面図であり、図2(c)は、図2(a)のBの領域を変換基板側から見た場合の概略平面図である。
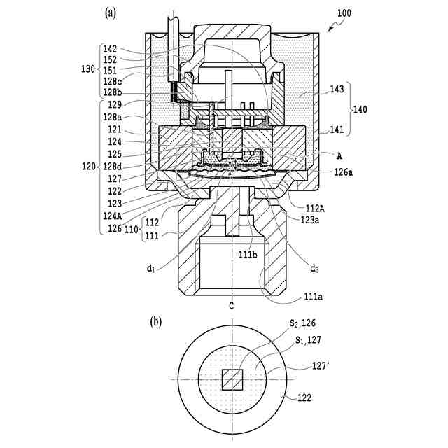
図3は、本発明の実施形態に係る圧力センサ本体を示す概略図であり、図3(a)は、本発明の実施形態に係る圧力センサ本体を示す断面図であり、図3(b)は、図3(a)のAの領域を流体導入部側から見た場合の概略平面図であり、図3(c)は、図3(a)のBの領域を変換基板側から見た場合の概略平面図であり、図3(d)は、図3(a)のBの領域を流体導入部側から見た場合の概略平面図であり、図3(e)は、本発明の実施形態に係る圧力センサ本体のスペーサの分解図である。
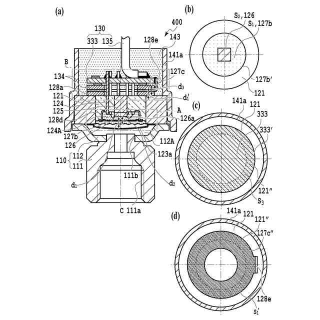
図4は、本発明の実施形態に係る圧力センサ本体を示す概略図であり、図4(a)は、本発明の他の実施形態に係る圧力センサを示す断面図であり、図4(b)は、図4(a)のAの領域を流体導入部側から見た場合の概略平面図であり、図4(c)は、図4(a)のBの領域を変換基板側から見た場合の概略平面図であり、図4(d)は、図4(a)のBの領域を流体導入部側から見た場合の概略平面図である。
【発明を実施するための形態】
(【0011】以降は省略されています)
この特許をJ-PlatPat(特許庁公式サイト)で参照する
関連特許
個人
採尿及び採便具
1か月前
日本精機株式会社
検出装置
24日前
個人
アクセサリー型テスター
1か月前
個人
高精度同時多点測定装置
1か月前
個人
計量機能付き容器
19日前
株式会社ミツトヨ
測定器
1か月前
甲神電機株式会社
電流検出装置
24日前
株式会社カクマル
境界杭
9日前
日本精機株式会社
発光表示装置
2日前
株式会社トプコン
測量装置
1日前
アズビル株式会社
電磁流量計
1か月前
大成建設株式会社
風洞実験装置
19日前
トヨタ自動車株式会社
監視装置
1か月前
ダイキン工業株式会社
監視装置
1か月前
大和製衡株式会社
組合せ計量装置
1か月前
個人
計量具及び計量機能付き容器
19日前
双庸電子株式会社
誤配線検査装置
25日前
日本特殊陶業株式会社
ガスセンサ
1日前
日本特殊陶業株式会社
ガスセンサ
17日前
大和製衡株式会社
組合せ計量装置
1か月前
ローム株式会社
半導体装置
1か月前
長崎県
形状計測方法
1か月前
個人
非接触による電磁パルスの測定方法
22日前
愛知時計電機株式会社
ガスメータ
1か月前
個人
システム、装置及び実験方法
1か月前
TDK株式会社
磁気センサ
1か月前
日本信号株式会社
距離画像センサ
22日前
愛知電機株式会社
軸部材の外観検査装置
1か月前
ローム株式会社
半導体装置
1か月前
日東精工株式会社
振動波形検査装置
25日前
中国電力株式会社
電柱管理システム
1か月前
キーコム株式会社
画像作成システム
9日前
日本特殊陶業株式会社
センサ
1か月前
個人
液位検視及び品質監視システム
17日前
トヨタ自動車株式会社
測定システム
1か月前
日本特殊陶業株式会社
センサ
3日前
続きを見る
他の特許を見る