TOP
|
特許
|
意匠
|
商標
特許ウォッチ
Twitter
他の特許を見る
公開番号
2025155017
公報種別
公開特許公報(A)
公開日
2025-10-14
出願番号
2024058331
出願日
2024-03-30
発明の名称
架線集材システム
出願人
イワフジ工業株式会社
代理人
個人
主分類
B66C
13/00 20060101AFI20251003BHJP(巻上装置;揚重装置;牽引装置)
要約
【課題】作業者が立体映像を表示装置で見てグラップル装置を遠隔操作する際、長距離や急峻な地形に関わらず、リアルタイムかつ安定して映像関連のデータをグラップル装置と表示装置との間で無線通信可能な架線集材システムを提供する。
【解決手段】スカイラインSKLに沿って走行可能な搬器2と、搬器2からリフティングラインLFLにより吊り下げられるグラップル装置3と、グラップル装置3に設けられる複数の要素データ取得センサと、第2制御装置と、ゴーグル型表示装置と、Wi-Fi通信部と、を備える。第2制御装置は、グラップル装置に設けられるとともに合成立体形状情報を構築する立体形状構築部と、グラップル装置3に設けられるとともに立体映像を合成立体形状情報から作成する立体映像作成部と、を備える。ゴーグル型表示装置は、グラップル装置から無線通信部を介して送信された立体映像を表示するように構成されている。
【選択図】図1
特許請求の範囲
【請求項1】
スカイラインに沿って走行可能に取り付けられる搬器と、
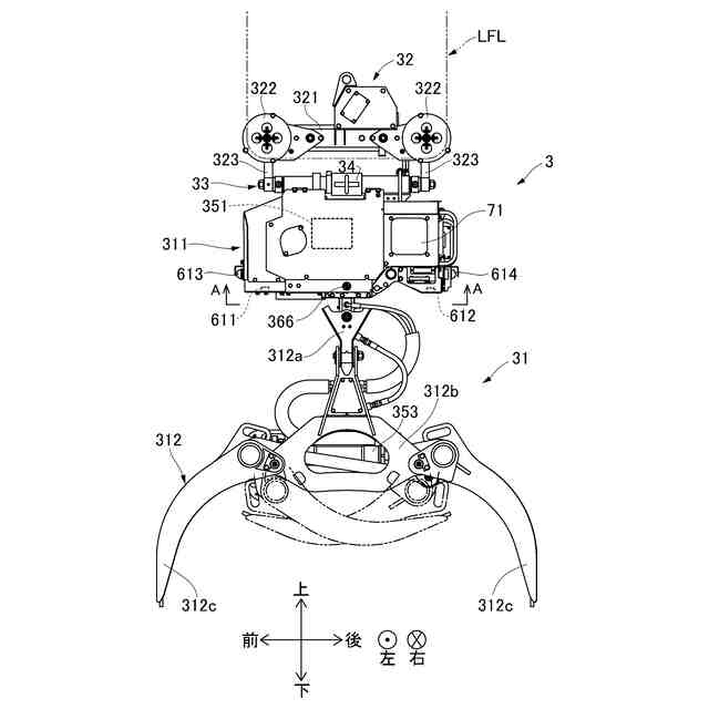
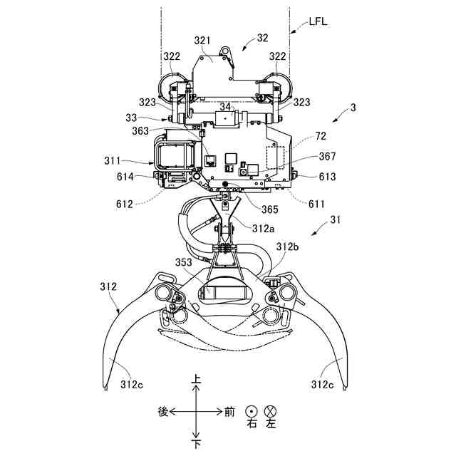
前記搬器からリフティングラインにより昇降自在に吊り下げられるグラップル装置と、
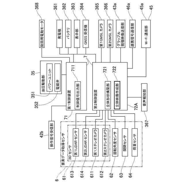
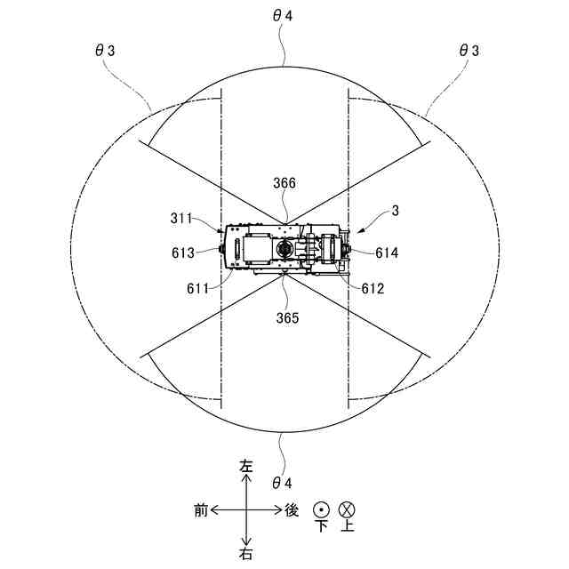
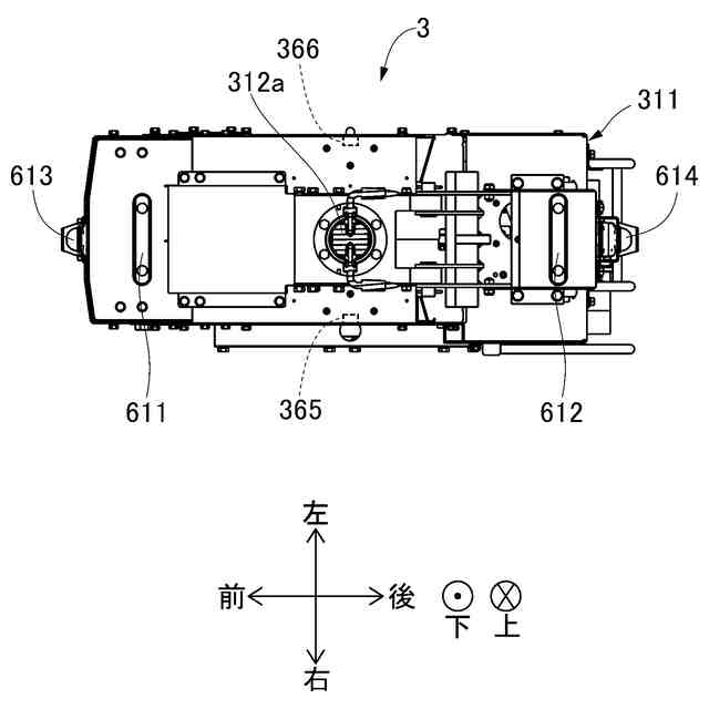
前記グラップル装置に設けられるとともに、周囲の対象物の合成立体形状情報を構築するための要素データを取得する複数の要素データ取得センサと、
制御装置と、
表示装置と、
前記グラップル装置と前記表示装置との間で通信を行う無線通信部と、を備え、
前記制御装置は、
前記グラップル装置に設けられるとともに、複数の前記要素データを合成して前記合成立体形状情報を構築する立体形状構築部と、
前記グラップル装置に設けられるとともに、前記対象物を所定の視点から見た映像である立体映像を前記合成立体形状情報から作成する立体映像作成部と、を備え、
前記表示装置は、前記グラップル装置から前記無線通信部を介して送信された前記立体映像を表示するように構成されている、
ことを特徴とする架線集材システム。
続きを表示(約 1,100 文字)
【請求項2】
前記立体映像の視点を切り替えるための視点切替操作部を有するとともに前記無線通信部を介して前記グラップル装置と通信を行う操作端末を備え、
前記無線通信部は、作業者の前記視点切替操作部の操作に基づく視点検知信号を、前記操作端末側から前記グラップル装置に送信可能に構成され、
前記立体映像作成部は、受信した前記視点検知信号に基づいて、視点を切り替えた前記立体映像を作成するように構成されている、
ことを特徴とする請求項1に記載の架線集材システム。
【請求項3】
スカイラインに沿って走行可能に取り付けられる搬器と、
前記搬器からリフティングラインにより昇降自在に吊り下げられるグラップル装置と、
前記グラップル装置に設けられるとともに、周囲の対象物の合成立体形状情報を構築するための要素データを取得する複数の要素データ取得センサと、
制御装置と、
表示装置と、
前記グラップル装置と前記表示装置との間で通信を行う無線通信部と、を備え、
前記制御装置は、
前記グラップル装置に設けられるとともに、複数の前記要素データを合成して前記合成立体形状情報を構築する立体形状構築部と、
前記表示装置の近傍に設けられて前記表示装置と電気的に接続されるとともに、前記対象物を所定の視点から見た映像である立体映像を前記合成立体形状情報から作成する立体映像作成部と、を備え、
前記立体映像作成部は、前記グラップル装置の前記立体形状構築部から前記無線通信部を介して送信された前記合成立体形状情報を使用して前記立体映像を作成し、
前記表示装置は、前記立体映像作成部で作成された前記立体映像を表示するように構成されている、
ことを特徴とする架線集材システム。
【請求項4】
前記表示装置は、作業者が頭部に装着するゴーグル型に構成されるとともに、前記作業者の視点移動を検知する視点検知部を有し、
前記視点検知部は、前記作業者の視点移動に基づく視点検知信号を、前記立体映像作成部に送信するように構成され、
前記立体映像作成部は、受信した前記視点検知信号に基づいて、視点を切り替えた前記立体映像を作成するように構成した、
ことを特徴とする請求項3に記載の架線集材システム。
【請求項5】
前記表示装置は、前記グラップル装置を操作する作業者が使用する第1表示装置と、前記作業者の作業状況を監視または観察する人が使用する第2表示装置と、を備える、
ことを特徴とする請求項1~4のいずれか1項に記載の架線集材システム。
発明の詳細な説明
【技術分野】
【0001】
本発明は、グラップル装置を備えた架線集材システムに関する。
続きを表示(約 2,200 文字)
【背景技術】
【0002】
従来、木材の伐採を行う荷掛け場(木材伐採地)から木材の造材を行う荷下ろし場(木材集材地)へ伐採された木材を搬送する架線集材システムが知られている(例えば、特許文献1参照)。
【0003】
特許文献1の架線集材システムは、エンドレスタイラー式として構成されている。具体的には、特許文献1の架線集材システムは、略一直線状のスカイラインに沿って走行可能に取り付けられる搬器と、搬器からリフティングラインによって昇降自在に吊り下げられるグラップル装置と、架線集材機とを備えている。グラップル装置には、一対のリフティングライン用の滑車が取り付けられている。リフティングライン用の滑車には、リフティングラインが掛け渡されている。架線集材機には、リフティングラインの繰り出しと引き込みとを行うウインチと、エンドレスライン用のウインチと、ホールバックライン用のウインチが設けられている。エンドレスラインは、グラップル装置をスカイラインに沿って移動させるために設けられている。また、ホールバックラインは、グラップル装置をスカイラインの掛け渡し方向に交差する横方向に移動させるために設けられている。
【0004】
グラップル装置は、開閉自在な一対のグラップルアーム、グラップルアームを開閉させる油圧シリンダ、油圧シリンダを駆動させるパワーユニット、ラジコン受信機等を備えている。ラジコン受信機がラジコン送信機からの操作信号を受信して、その操作信号に基づいて上記パワーユニット等が作動される。ラジコン送信機は、グラップル装置から離れた位置にいる作業者が操作する。作業者は、安全な場所からグラップル装置を遠隔操作できる。
【先行技術文献】
【特許文献】
【0005】
特開2020-75807号公報
【発明の概要】
【発明が解決しようとする課題】
【0006】
上記従来の架線集材システムでは、グラップル装置の遠隔操作を行う際、作業者が目視でグラップル装置の動作状況を確認しつつ作業を行う必要があった。目視の種類としては、例えば、作業者がグラップル装置を直接的に目視する場合と、表示装置で表示されたグラップル装置のカメラ映像を目視する場合とが考えられる。グラップル装置に設けたカメラと作業者が見る表示装置とを互いに離して配置するとともに無線通信装置でカメラから表示装置へ映像信号を送信するように構成すれば、作業者は、グラップル装置からよりいっそう離れた位置から作業を行うことができると考えられる。
【0007】
しかしながら、グラップル装置が目視不可能な場所からグラップル装置の遠隔操作を円滑に行おうとする場合には、広い視野を確保するためにグラップル装置に多くのカメラを設ける必要が生じる。また、作業者がグラップル装置と把持対象の木材との距離を遠隔操作で的確に把握するためには、単眼カメラよりも距離情報を取得可能なステレオカメラの活用が考えられる。そのため、グラップル装置から表示装置に送信する映像関連のデータ量が多くなりがちである。
【0008】
また、本出願人は、グラップル装置を遠隔操作する際の作業性向上のために、グラップル装置の把持対象の木材や当該木材周辺の地形等の対象物の立体映像を、ステレオカメラや3D-LiDAR等で取得したデータに基づいて作成し、表示装置で表示させることを考えた。この場合、表示装置とグラップル装置との間で扱われる映像関連のデータ量はさらに多くなる。また、円滑かつ安全な作業を行うためには、表示装置とグラップル装置との間で扱われる映像関連のデータは、長距離や急峻な地形に関わらず、リアルタイムかつ安定して送信される必要がある。
【0009】
本発明は、上記実情を考慮してなされたものであり、その目的は、グラップル装置の周囲の対象物の立体映像を作業者が表示装置で見てグラップル装置を遠隔操作する際、長距離や急峻な地形に関わらず、リアルタイムかつ安定して映像関連のデータをグラップル装置と表示装置との間で無線通信可能な架線集材システムを提供することである。
【課題を解決するための手段】
【0010】
上述の課題を解決するために本明細書に開示する発明は、以下のように構成されている。すなわち、第1の発明は、スカイラインに沿って走行可能に取り付けられる搬器と、前記搬器からリフティングラインにより昇降自在に吊り下げられるグラップル装置と、前記グラップル装置に設けられるとともに、周囲の対象物の合成立体形状情報を構築するための要素データを取得する複数の要素データ取得センサと、制御装置と、表示装置と、前記グラップル装置と前記表示装置との間で通信を行う無線通信部と、を備え、前記制御装置は、前記グラップル装置に設けられるとともに、複数の前記要素データを合成して前記合成立体形状情報を構築する立体形状構築部と、前記グラップル装置に設けられるとともに、前記対象物を所定の視点から見た映像である立体映像を前記合成立体形状情報から作成する立体映像作成部と、を備え、前記表示装置は、前記グラップル装置から前記無線通信部を介して送信された前記立体映像を表示するように構成されている、ことを特徴とする。
(【0011】以降は省略されています)
この特許をJ-PlatPat(特許庁公式サイト)で参照する
関連特許
イワフジ工業株式会社
架線集材システム
1か月前
個人
自走手摺
4か月前
個人
転落防止階段
28日前
個人
小型クレーン
22日前
ユニパルス株式会社
吊具
5か月前
個人
海上コンテナ昇降装置
11か月前
ユニパルス株式会社
荷役装置
10か月前
株式会社いうら
車椅子用昇降機
4か月前
株式会社豊田自動織機
産業車両
2か月前
株式会社豊田自動織機
荷役車両
11か月前
株式会社豊田自動織機
荷役車両
10か月前
水戸工業株式会社
吊り具
7か月前
ユニパルス株式会社
リフト装置
6か月前
株式会社大林組
安全支援システム
3か月前
個人
垂直自動搬送機
2か月前
株式会社伊藤
滑り止め装置
3か月前
白山工業株式会社
バランサ
8か月前
愛知製鋼株式会社
受け架台
3か月前
ユニパルス株式会社
荷役助力装置
4か月前
ユニパルス株式会社
荷役助力装置
7か月前
個人
エアバック式レスキュー用品
1か月前
ユニパルス株式会社
荷役助力装置
5か月前
岐阜工業株式会社
運搬台車
29日前
大栄産業株式会社
クランプ
6か月前
個人
アウトリガー用転倒防止ベース
21日前
株式会社キトー
タイヤ用吊具
7か月前
株式会社ユピテル
システム等
7か月前
株式会社豊田自動織機
フォークリフト
2か月前
株式会社豊田自動織機
フォークリフト
9か月前
中国計量大学
電子安全クランプ
1か月前
大和ハウス工業株式会社
吊上具
3か月前
フジテック株式会社
エレベータ
10か月前
株式会社キトー
コンテナ吊り具
1日前
新英運輸株式会社
自動車用台車
7か月前
株式会社五十鈴製作所
搬送装置
5か月前
山崎産業株式会社
手摺り拭用器具
2か月前
続きを見る
他の特許を見る