TOP
|
特許
|
意匠
|
商標
特許ウォッチ
Twitter
他の特許を見る
10個以上の画像は省略されています。
公開番号
2025154132
公報種別
公開特許公報(A)
公開日
2025-10-10
出願番号
2024056969
出願日
2024-03-29
発明の名称
樹脂フィルム、樹脂付き銅箔、多層配線基板、コイル構造体、および磁気デバイス
出願人
株式会社タムラ製作所
代理人
弁理士法人樹之下知的財産事務所
主分類
B32B
27/34 20060101AFI20251002BHJP(積層体)
要約
【課題】耐電圧に優れ、かつ誘電率が低く、絶縁層の薄型化が可能な樹脂フィルムを提供すること。
【解決手段】コア層2とコア層2の両面にそれぞれ設けられた接着性樹脂層1とを備える樹脂フィルム100であって、接着性樹脂層1が、エポキシ樹脂を含有する接着性樹脂組成物からなり、前記接着性樹脂組成物の硬化物の絶縁破壊強度が、300kV/mm以上であり、コア層2が、ポリイミドフィルムからなり、前記ポリイミドフィルムの絶縁破壊強度が、300kV/mm以上である、樹脂フィルム100。
【選択図】図1
特許請求の範囲
【請求項1】
コア層と前記コア層の両面にそれぞれ設けられた接着性樹脂層とを備える樹脂フィルムであって、
前記接着性樹脂層が、エポキシ樹脂を含有する接着性樹脂組成物からなり、
前記接着性樹脂組成物の硬化物の絶縁破壊強度が、300kV/mm以上であり、
前記コア層が、ポリイミドフィルムからなり、
前記ポリイミドフィルムの絶縁破壊強度が、300kV/mm以上である、
樹脂フィルム。
続きを表示(約 350 文字)
【請求項2】
請求項1に記載の樹脂フィルムにおいて、
前記コア層の厚みに対する前記接着性樹脂層の厚みの比が、1/2以上4以下である、
樹脂フィルム。
【請求項3】
請求項1または請求項2に記載の樹脂フィルムと、前記樹脂フィルムに積層された銅箔とを備える、
樹脂付き銅箔。
【請求項4】
請求項1または請求項2に記載の樹脂フィルムを用いて形成した絶縁層を備える、
多層配線基板。
【請求項5】
請求項1または請求項2に記載の樹脂フィルムを用いて形成した絶縁層を備える、
コイル構造体。
【請求項6】
請求項1または請求項2に記載の樹脂フィルムを用いて形成した絶縁層を備える、
磁気デバイス。
発明の詳細な説明
【技術分野】
【0001】
本発明は、樹脂フィルム、樹脂付き銅箔、多層配線基板、コイル構造体、および磁気デバイスに関する。
続きを表示(約 2,400 文字)
【背景技術】
【0002】
磁気デバイスの1つである薄型トランスとして、例えば、特許文献1には、プリントコイルと磁性材料からなるコアと、プリントコイルおよびコアを装着するする端子付台とからなる薄型トランスが記載されている。この薄型トランスは、プリントコイルの導体が露出する表面は耐熱性樹脂で覆われていることを特徴としている。
【先行技術文献】
【特許文献】
【0003】
特開平9-326316号公報
【発明の概要】
【発明が解決しようとする課題】
【0004】
しかしながら、近年、磁気デバイスには、より高電圧で、より大電流を流すことが要求されている。そして、耐熱性樹脂層として、従来のプリプレグ(ガラス布基材/エポキシ樹脂)を使用した場合には、十分な薄さと十分な耐電圧の両方を満たすことができなかった。さらに、従来のプリプレグは、誘電率が高いという問題があった。
【0005】
本発明は、耐電圧に優れ、かつ誘電率が低く、絶縁層の薄型化が可能な樹脂フィルム、並びに、これを用いた樹脂付き銅箔、多層配線基板、コイル構造体、および磁気デバイスを提供することを目的とする。
【課題を解決するための手段】
【0006】
本発明によれば、以下に示す樹脂フィルム、樹脂付き銅箔、多層配線基板、コイル構造体、および磁気デバイスが提供される。
[1] コア層と前記コア層の両面にそれぞれ設けられた接着性樹脂層とを備える樹脂フィルムであって、
前記接着性樹脂層が、エポキシ樹脂を含有する接着性樹脂組成物からなり、
前記接着性樹脂組成物の硬化物の絶縁破壊強度が、300kV/mm以上であり、
前記コア層が、ポリイミドフィルムからなり、
前記ポリイミドフィルムの絶縁破壊強度が、300kV/mm以上である、
樹脂フィルム。
[2] [1]に記載の樹脂フィルムにおいて、
前記コア層の厚みに対する前記接着性樹脂層の厚みの比が、1/2以上4以下である、
樹脂フィルム。
[3] [1]または[2]に記載の樹脂フィルムと、前記樹脂フィルムに積層された銅箔とを備える、
樹脂付き銅箔。
[4] [1]または[2]に記載の樹脂フィルムを用いて形成した絶縁層を備える、
多層配線基板。
[5] [1]または[2]に記載の樹脂フィルムを用いて形成した絶縁層を備える、
コイル構造体。
[6] [1]または[2]に記載の樹脂フィルムを用いて形成した絶縁層を備える、
磁気デバイス。
【発明の効果】
【0007】
本発明の一態様によれば、耐電圧に優れ、かつ誘電率が低く、絶縁層の薄型化が可能な樹脂フィルム、並びに、これを用いた樹脂付き銅箔、多層配線基板、コイル構造体、および磁気デバイスを提供できる。
【図面の簡単な説明】
【0008】
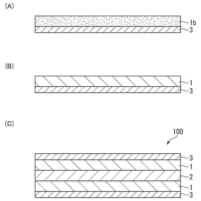
本発明の第一実施形態に係る樹脂フィルムを示す概略図である。
本発明の第一実施形態に係る樹脂フィルムの製造方法の一例を示す説明図である。
本発明の第一実施形態に係る樹脂付き銅箔の製造方法の一例を示す説明図である。
本発明の第一実施形態に係る多層配線基板の製造方法の一例を示す説明図である。
本発明の第二実施形態に係る多層配線基板の製造方法の一例を示す説明図である。
本発明の第三実施形態に係る多層配線基板の製造方法の一例を示す説明図である。
本発明の第四実施形態に係る磁気デバイスを示す概略図である。
図7のVIII-VIII断面を示す断面図である。
【発明を実施するための形態】
【0009】
[第一実施形態]
以下、本発明について実施形態を例に挙げて、図面に基づいて説明する。本発明は実施形態の内容に限定されない。なお、図面においては、説明を容易にするために拡大または縮小をして図示した部分がある。
【0010】
(樹脂フィルム)
本実施形態に係る樹脂フィルム100は、図1に示すように、コア層2と、接着性樹脂層1と、剥離フィルム層3とを備えている。接着性樹脂層1は、コア層2の両面にそれぞれ設けられている。接着性樹脂層1の上には、剥離フィルム層3が設けられている。樹脂フィルム100を使用する場合には、接着性樹脂層1から剥離フィルム層3を剥離して使用する。
そして、接着性樹脂層1は、エポキシ樹脂を含有する接着性樹脂組成物からなる。また、この接着性樹脂組成物の硬化物の絶縁破壊強度が、300kV/mm以上であることが必要である。
さらに、コア層2は、ポリイミドフィルムからなる。また、このポリイミドフィルムの絶縁破壊強度が、300kV/mm以上であることが必要である。
本実施形態に係る樹脂フィルム100が、耐電圧に優れ、かつ誘電率が低く、絶縁層の薄型化が可能な理由は、以下のとおりである。
すなわち、樹脂フィルム100は、誘電率が低く、絶縁破壊強度が高いポリイミドフィルムからなるコア層2を備えている。また、接着性樹脂層1の硬化物の絶縁破壊強度も高い。そのため、耐電圧に優れ、かつ誘電率が低い。また、接着性樹脂層1は、エポキシ樹脂を含み、十分な接着性を有しているため、この樹脂フィルム100を用いて、多層配線基板300(図4参照)を作製できる。さらに、樹脂フィルム100は、絶縁破壊強度が高いため、膜厚が薄い場合でも、耐電圧を維持でき、薄膜化が可能となる。
(【0011】以降は省略されています)
この特許をJ-PlatPat(特許庁公式サイト)で参照する
関連特許
株式会社タムラ製作所
絶縁材
1か月前
株式会社タムラ製作所
自動販売機
7日前
株式会社タムラ製作所
搬送加熱装置
1か月前
株式会社タムラ製作所
反射材硬化物
1か月前
株式会社タムラ製作所
反射材硬化物
1か月前
株式会社タムラ製作所
反射材硬化物
1か月前
株式会社タムラ製作所
リアクトルの製造方法
1か月前
株式会社タムラ製作所
パワー半導体モジュール
1か月前
株式会社タムラ製作所
選択装置及びこれを備えた自動販売機
7日前
株式会社タムラ製作所
フラックス、ソルダペーストおよびプリント回路基板
1か月前
株式会社タムラ製作所
樹脂フィルム、樹脂付き銅箔、多層配線基板、コイル構造体、および磁気デバイス
1か月前
株式会社タムラ製作所
感光性樹脂組成物、感光性樹脂組成物の光硬化物及び当該光硬化物を有するプリント配線板
1か月前
東レ株式会社
積層体
10か月前
東レ株式会社
積層体
5か月前
ユニチカ株式会社
積層体
9か月前
ユニチカ株式会社
積層体
2か月前
個人
箔転写シート
5か月前
東レ株式会社
積層構造体
9か月前
東レ株式会社
積層フィルム
7か月前
東レ株式会社
積層フィルム
2か月前
東レ株式会社
積層フィルム
4か月前
東レ株式会社
強化繊維基材
5か月前
個人
鋼材の塗膜構造
3か月前
東レ株式会社
積層フィルム
9か月前
東レ株式会社
強化繊維基材
5か月前
東レ株式会社
無配向フィルム
1か月前
東ソー株式会社
多層フィルム
8か月前
東ソー株式会社
多層フィルム
5か月前
東レ株式会社
光透過性表皮材
1か月前
ユニチカ株式会社
透明シート
2か月前
東洋紡株式会社
積層包装材料
3か月前
東レ株式会社
加飾用フィルム
1か月前
エスケー化研株式会社
積層体
9か月前
積水樹脂株式会社
磁性シート
7か月前
日本バイリーン株式会社
表皮材
4か月前
大倉工業株式会社
多層フィルム
9か月前
続きを見る
他の特許を見る