TOP
|
特許
|
意匠
|
商標
特許ウォッチ
Twitter
他の特許を見る
10個以上の画像は省略されています。
公開番号
2025153830
公報種別
公開特許公報(A)
公開日
2025-10-10
出願番号
2024056485
出願日
2024-03-29
発明の名称
物品検査装置
出願人
アンリツ株式会社
代理人
弁理士法人有我国際特許事務所
主分類
G01N
23/18 20180101AFI20251002BHJP(測定;試験)
要約
【課題】X線検出特性の時間変化を必要十分な時間で確実に収束させ、直接変換型のX線検出器を用いつつ十分な検査精度を発揮させ得る物品検査装置を提供する。
【解決手段】X線検出器23の出力Lxを基に画像データDiを生成する画像データ生成部41と、X線源21およびX線検出器23を作動/停止させる運転状態/運転停止状態の切替えが可能で、運転状態時に画像データDiおよび判定基準を用いて物品Pを検査する検査制御を実行する検査制御部40Aとを備えた物品検査装置であり、検査制御部40Aは、運転状態となるX線源21およびX線検出器23の作動開始後にこれらの出力の安定状態を検出する安定状態検出手段49と、安定状態の検出を条件にセンサ素子の出力を基に画像データ生成部41で生成されたX線画像データDiを検査制御に使用可能な画像メモリ42aに記憶する記憶制御部42とを有する。
【選択図】図1
特許請求の範囲
【請求項1】
被検査物(P)を搬入する検査領域(Zx)にX線を照射するX線源(21)と、
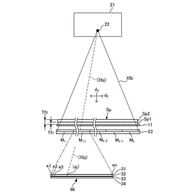
前記検査領域を透過するX線を所定走査方向に隣り合う複数のセンサ素子により検出して前記所定走査方向の複数の検出位置に対応する輝度検出信号(Lx)を出力するX線検出器(23)と、
前記X線検出器の前記複数のセンサ素子の出力を基に、前記検査領域内でのX線透過量分布に対応するX線画像データ(Di)を所定の輝度値範囲内で生成する画像データ生成部(41)と、
前記X線源および前記X線検出器を作動させる運転状態と前記X線源および前記X線検出器の作動を停止させる運転停止状態とを切替え可能で、前記運転状態であるときに前記画像データ生成部で生成されたX線画像データおよび予め設定された判定基準を用いて前記被検査物を検査する検査制御を実行する検査制御部(40A)と、を備えたX線検査方式の物品検査装置であって、
前記検査制御部は、
前記運転状態となる前記X線源および前記X線検出器の作動開始後に前記X線源および前記X線検出器の出力が安定した安定状態を検出する安定状態検出手段(49)と、
前記安定状態検出手段により前記X線源および前記X線検出器の出力の前記安定状態が検出されたことを条件に、前記複数のセンサ素子の出力を基に前記画像データ生成部で生成された前記X線画像データを、前記検査制御に使用可能なメモリ(42a)に記憶する記憶制御手段(42)と、を有することを特徴とする物品検査装置。
続きを表示(約 1,600 文字)
【請求項2】
前記被検査物が前記検査領域内に無い搬入前状態で前記X線検出器の前記複数のセンサ素子の出力信号を前記X線画像データの最大輝度に揃えるようそれぞれのセンサ素子の感度補正係数(Ct(j))を設定する感度補正手段(46、47)をさらに備え、
前記感度補正手段は、前記X線検出器の前記複数のセンサ素子の出力を基に前記画像データ生成部で生成されるX線画像データの輝度値を用いて、前記複数のセンサ素子についての前記感度補正係数を設定することを特徴とする請求項1に記載の物品検査装置。
【請求項3】
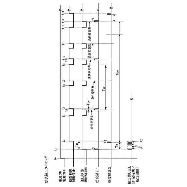
前記感度補正手段は、前記X線源および前記X線検出器の作動開始から前記安定状態検出手段により前記X線検出器の出力の安定状態が検出されるまでの間に、前記X線検出器の前記複数のセンサ素子について前記感度補正係数を設定する第1の感度補正(P1)と、前記安定状態検出手段により前記X線検出器の出力の安定状態が検出されたことを条件に、前記X線検出器の前記複数のセンサ素子について前記感度補正係数を再度設定する第2の感度補正(P2)と、を実行し、
前記記憶制御手段は、前記第2の感度補正後の前記感度補正係数を前記検査制御に使用可能な補正係数メモリ(47)に記憶することを特徴とする請求項2に記載の物品検査装置。
【請求項4】
前記感度補正手段は、前記X線源および前記X線検出器の作動開始後であって前記検査制御の開始前の調整期間(Tp)中に、前記第1の感度補正を複数回実行し、該複数回の第1の感度補正後に前記第2の感度補正を1回実行することを特徴とする請求項3に記載の物品検査装置。
【請求項5】
前記検査制御部は、電源投入状態下で、前記被検査物の品種に応じて前記検査制御の条件を変更可能な検査条件可変設定手段(45)を有しており、
前記感度補正手段は、前記検査条件可変設定手段によって前記検査制御の条件が変更されたことを条件として、該条件変更時(t4)と同一の電源投入状態下で、該条件変更以後の前記X線源および前記X線検出器の作動開始から該条件変更後の検査制御の開始までの間(Tpr)に、前記第1の感度補正を再度実行することを特徴とする請求項3に記載の物品検査装置。
【請求項6】
前記感度補正手段は、前記検査条件可変設定手段によって前記検査制御の条件が変更されることなく同一の電源投入状態および同一の運転状態が継続している期間(Tw)中は、前記X線源および前記X線検出器の最初の作動開始(t4)からその直後の検査制御の開始(t5)までの間に前記第2の感度補正または前記第1の感度補正(P1)により設定した最新の感度補正係数(C1)を前記期間の終了時点(t8)まで維持することを特徴とする請求項5に記載の物品検査装置。
【請求項7】
前記安定状態検出手段は、前記X線検出器の前記複数のセンサ素子の出力平均値の変動が収束したと判定したときに前記安定状態を検出することを特徴とする請求項2ないし4のいずれか一項に記載の物品検査装置。
【請求項8】
前記X線検出器がそれぞれ所定数のセンサ素子群(e1ないしen)を有する複数のセンサ素子モジュール(M1~Mk)で構成されており、
前記安定状態検出手段は、各センサ素子モジュール(M(i))のセンサ素子群の出力平均値が前記複数のセンサ素子モジュール間で相違するモジュール間輝度ギャップの変動が収束したと判定したときに前記安定状態を検出することを特徴とする請求項2ないし4のいずれか一項に記載の物品検査装置。
【請求項9】
前記安定状態検出手段は、前記X線源および前記X線検出器の作動開始後から所定の安定化時間(Ts)が経過したことをもって前記安定状態になったと判定して前記安定状態を検出することを特徴とする請求項2ないし4のいずれか一項に記載の物品検査装置。
発明の詳細な説明
【技術分野】
【0001】
本発明は、物品検査装置に関し、特に被検査物にX線を照射してX線検出器からの走査出力を基にX線画像データを生成する物品検査装置に関する。
続きを表示(約 1,600 文字)
【背景技術】
【0002】
X線(物品を透過する電磁波)を用いる物品検査装置においては、一般に、検査領域内の被検査物にX線が照射され、検査領域を透過したX線がX線検出器に入射し検出されることで、X線検出器から像検出信号が出力され、その出力信号を基にX線透過画像の画像データが生成されるようになっている。
【0003】
このような物品検査装置においては、フラットなアレイ状のセンサ素子群を有するX線検出器が用いられることが多いが、その場合、搬送ベルトや被検査物の厚さが一定であっても、X線検出器の各センサ素子に入射するX線の物質透過距離や入射角に応じて、各センサ素子で検出されるX線量がX線検出器の両端側で低下する等の傾向が生じる。
【0004】
そこで、従来、被検査物の検査前に、X線検出器の各素子の出力に基づく検査画像の画像濃度レベルが一定値となるように、X線検出器の出力レベルの感度補正を行って、基準の画像濃度に対する検査画像のばらつきを抑え、X線透過画像のぼけや不要なグラデーション等を抑えるような校正処理がなされている。
【0005】
この種の物品検査装置としては、例えば、被検査物を搬送していない状態または搬送区間におけるX線検出器の各素子の出力レベルが一定値となるように、適切な補正値を設定し、この補正値に基づいて検査前にX線検出器の出力レベルの感度補正を行うものが知られていた(例えば、特許文献1、2参照)。
【0006】
また、近年、入射X線をその線量に応じた出力信号に変換する方式として直接変換方式を採用したX線検出器が普及拡大してきている。この直接変換方式のX線検出器は、従来の間接変換方式のようにシンチレータを用いるのではなく、化合物半導体で構成されるX線センサ素子にX線を入射・吸収させてそのエネルギー量に比例する電荷を発生させることで、高検出精度の出力信号を生成できるようになっている。
【0007】
この種のX線検出器を搭載した物品検査装置としては、例えば搬送ベルト面とX線照射部の間に校正部材を介在させた場合におけるX線検出器の複数のセンサ素子の出力信号と、校正部材を介在させない場合におけるX線検出器の複数のセンサ素子の出力信号とを基に、それぞれに対応するX線画像の画像データから被検査物に適した校正条件を適時に設定できるように校正データを生成し、X線検出器の出力信号の校正精度を高めるようにしたものがある(例えば、特許文献3参照)。
【0008】
あるいは、X線検出器の複数のセンサ素子に対するX線の入射条件を2種類以上に変更する入射条件変更手段を設けて、入射条件ごとにX線検出器の複数のセンサ素子の出力信号を基に生成される画像の濃度が均一になるように必要な校正データを作成するようにしたものも知られている(例えば、特許文献4参照)。
【先行技術文献】
【特許文献】
【0009】
特開2005-91016号公報
特開2006-300888号公報
特開2022-109774号公報
特開2019-12011号公報
【発明の概要】
【発明が解決しようとする課題】
【0010】
上述のような従来の物品検査装置にあっては、X線管の陽極部から出るX線の線質が所謂ヒール効果によってX線管の長手方向位置により相違したり、X線管の陽極部の熱膨張による焦点位置のドリフト等によりX線源から出るX線の線量やスペクトルが時間変化したりしてしまうため、検査対象物品の撮像データに基づく物品検査装置の運転中の物品検査精度、例えば異物検出精度の低下が懸念される。
(【0011】以降は省略されています)
この特許をJ-PlatPat(特許庁公式サイト)で参照する
関連特許
アンリツ株式会社
物品検査装置
今日
アンリツ株式会社
物品検査装置
2日前
アンリツ株式会社
物品検査装置
16日前
アンリツ株式会社
物品検査装置
16日前
アンリツ株式会社
X線検査装置
1か月前
アンリツ株式会社
測定装置とその測定方法
2日前
アンリツ株式会社
誤り率測定装置及び誤り率測定方法
2日前
アンリツ株式会社
試験システム及び送信アンテナ相関推定方法
1日前
アンリツ株式会社
分光測定装置及びこれを備えた物品検査装置
2日前
アンリツ株式会社
分光測定装置及びこれを備えた物品検査装置
16日前
アンリツ株式会社
検量線生成装置、検量線生成方法及び検量線生成プログラム
今日
アンリツ株式会社
検量線生成装置、検量線生成方法及び検量線生成プログラム
今日
アンリツ株式会社
量子コンピュータ制御装置および量子コンピュータ制御方法
29日前
アンリツ株式会社
量子コンピュータ制御装置、量子コンピュータ制御システムおよび量子コンピュータ制御方法
1か月前
個人
採尿及び採便具
29日前
日本精機株式会社
検出装置
23日前
個人
計量機能付き容器
18日前
個人
高精度同時多点測定装置
1か月前
個人
アクセサリー型テスター
1か月前
甲神電機株式会社
電流検出装置
23日前
株式会社ミツトヨ
測定器
1か月前
株式会社カクマル
境界杭
8日前
日本精機株式会社
発光表示装置
1日前
株式会社トプコン
測量装置
今日
アズビル株式会社
電磁流量計
1か月前
大成建設株式会社
風洞実験装置
18日前
日本特殊陶業株式会社
ガスセンサ
今日
長崎県
形状計測方法
1か月前
日本特殊陶業株式会社
ガスセンサ
16日前
愛知電機株式会社
軸部材の外観検査装置
1か月前
個人
計量具及び計量機能付き容器
18日前
双庸電子株式会社
誤配線検査装置
24日前
大和製衡株式会社
組合せ計量装置
1か月前
ローム株式会社
半導体装置
1か月前
愛知時計電機株式会社
ガスメータ
1か月前
個人
非接触による電磁パルスの測定方法
21日前
続きを見る
他の特許を見る