TOP
|
特許
|
意匠
|
商標
特許ウォッチ
Twitter
他の特許を見る
公開番号
2025153165
公報種別
公開特許公報(A)
公開日
2025-10-10
出願番号
2024055488
出願日
2024-03-29
発明の名称
搬送装置、印刷装置および粘着剤塗布方法
出願人
セイコーエプソン株式会社
代理人
個人
,
個人
,
個人
主分類
B41J
2/01 20060101AFI20251002BHJP(印刷;線画機;タイプライター;スタンプ)
要約
【課題】粘着性にムラが無い粘着層を搬送ベルトの塗布面に形成することができる搬送装置、印刷装置および粘着剤塗布方法を提供すること。
【解決手段】記録媒体を搬送する搬送ベルトと、水と樹脂とを含む水性粘着剤の塗布液を搬送ベルトの記録媒体側の塗布面に供給する塗布液供給部と、を備え、塗布液供給部は、排出口を備え、塗布液を貯留する可撓性を有する袋状の貯留部と、貯留部を加圧して前記塗布液を排出口から押し出す加圧部と、を有することを特徴とする搬送装置。
【選択図】図4
特許請求の範囲
【請求項1】
記録媒体を搬送する搬送ベルトと、
水と樹脂とを含む水性粘着剤の塗布液を前記搬送ベルトの前記記録媒体側の塗布面に供給する塗布液供給部と、を備え、
前記塗布液供給部は、排出口を備え、前記塗布液を貯留する可撓性を有する袋状の貯留部と、前記貯留部を加圧して前記塗布液を前記排出口から押し出す加圧部と、を有することを特徴とする搬送装置。
続きを表示(約 780 文字)
【請求項2】
前記加圧部は、前記貯留部を収納するケーシングと、前記ケーシングと前記貯留部との間の空間に空気を供給する空気供給部と、を有し、
前記空間の空気圧により前記貯留部を加圧する請求項1に記載の搬送装置。
【請求項3】
前記加圧部は、前記貯留部を挟持する挟持部を有し、
前記挟持部による挟持により前記貯留部を加圧する請求項1に記載の搬送装置。
【請求項4】
前記挟持部は、少なくとも1枚の挟持板を有する請求項3に記載の搬送装置。
【請求項5】
前記挟持部は、少なくとも1つの加圧ローラーを有する請求項3に記載の搬送装置。
【請求項6】
前記加圧部は、前記貯留部を加圧する程度を調整して前記貯留部から押し出す前記塗布液の単位時間当たりの排出量を調整する調整部を有する請求項1ないし5のいずれか1項に記載の搬送装置。
【請求項7】
前記排出口に接続され、前記塗布面に前記塗布液を移送する送液管を有する請求項1ないし5のいずれか1項に記載の搬送装置。
【請求項8】
請求項1ないし5のいずれか1項に記載の搬送装置と、
前記搬送ベルトにより搬送されている前記記録媒体にインクを吐出して印刷を行うインクジェットヘッドと、を備えることを特徴とする印刷装置。
【請求項9】
水と樹脂とを含む水性粘着剤の塗布液を、記録媒体を搬送する搬送ベルトの前記記録媒体側の塗布面に供給する供給工程と、
前記塗布面に塗布された前記塗布液を乾燥する乾燥工程と、を有し、
前記供給工程では、排出口を備え、前記塗布液を貯留する可撓性を有する袋状の貯留部を加圧して前記塗布液を前記排出口から押し出すことを特徴とする粘着剤塗布方法。
発明の詳細な説明
【技術分野】
【0001】
本発明は、搬送装置、印刷装置および粘着剤塗布方法に関する。
続きを表示(約 1,500 文字)
【背景技術】
【0002】
例えば、特許文献1に示すように、記録媒体上にインクを付与して印刷する印刷装置が知られている。特許文献1に記載の印刷装置は、記録媒体を搬送する搬送ベルトと、記録媒体の搬送方向と交わる方向に沿って往復動しつつ、搬送されている記録媒体上にインクを吐出する多数のノズルを有する印刷部と、を備えている。
【0003】
また、搬送ベルトの記録媒体と接する面には、粘着層が形成される。これにより、記録媒体を粘着して保持しつつ、記録媒体を安定して搬送することができる。
【先行技術文献】
【特許文献】
【0004】
特開2020-89806号公報
【発明の概要】
【発明が解決しようとする課題】
【0005】
しかしながら、粘着層を構成する粘着剤として、有機溶媒を用いて得られた粘着剤が用いられるのが一般的である。このため、粘着剤塗布液の製造時や搬送ベルトへの塗布時の取り扱いに関し、安全性に十分に配慮しなければならず、特に粘着剤塗布液の塗布に際しては、例えば十分な換気が必須であること等、周辺環境等への制約が多い。そこで、水性粘着剤を用いることも考えられるが、従来と同じ方法により水性粘着剤を塗布するだけでは、水性粘着剤を均一にムラなく塗布することができなかったり、粘着性にムラが生じたりするおそれがある。
【課題を解決するための手段】
【0006】
本発明の搬送装置は、記録媒体を搬送する搬送ベルトと、
水と樹脂とを含む水性粘着剤の塗布液を前記搬送ベルトの前記記録媒体側の塗布面に供給する塗布液供給部と、を備え、
前記塗布液供給部は、排出口を備え、前記塗布液を貯留する可撓性を有する袋状の貯留部と、前記貯留部を加圧して前記塗布液を前記排出口から押し出す加圧部と、を有する。
【0007】
本発明の印刷装置は、本発明の搬送装置と、
前記搬送ベルトにより搬送されている前記記録媒体にインクを吐出して印刷を行うインクジェットヘッドと、を備える。
【0008】
本発明の粘着剤塗布方法は、水と樹脂とを含む水性粘着剤の塗布液を、記録媒体を搬送する搬送ベルトの前記記録媒体側の塗布面に供給する供給工程と、
前記塗布面に塗布された前記塗布液を乾燥する乾燥工程と、を有し、
前記供給工程では、排出口を備え、前記塗布液を貯留する可撓性を有する袋状の貯留部を加圧して前記塗布液を前記排出口から押し出す。
【図面の簡単な説明】
【0009】
図1は、本発明の第1実施形態に係る搬送装置および印刷装置の概略構成図である。
図2は、図1に示す搬送装置が均し工程を実行している状態を示す図である。
図3は、本発明の実施形態に係る粘着剤塗布方法の一例を説明するためのフローチャートである。
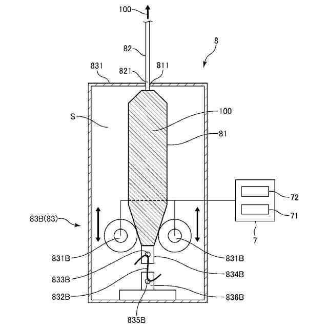
図4は、図1に示す搬送装置および印刷装置が備える貯留部および加圧部を示す断面図である。
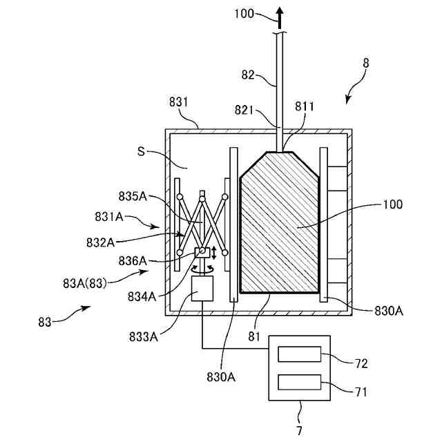
図5は、本発明の第2実施形態に係る搬送装置および印刷装置が備える貯留部および加圧部を示す断面図である。
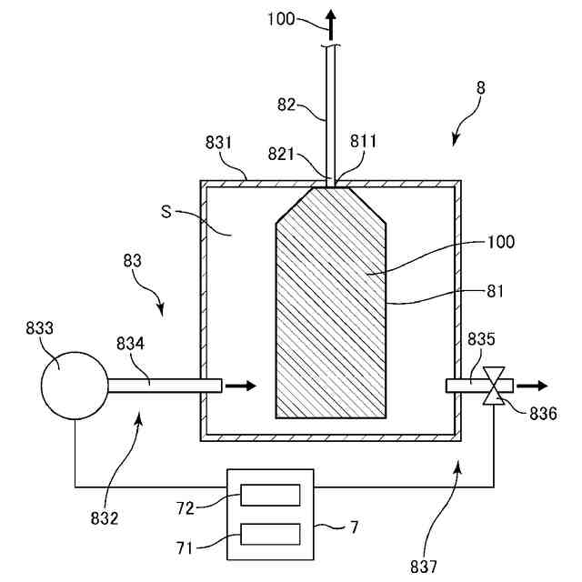
図6は、本発明の第3実施形態に係る搬送装置および印刷装置が備える貯留部および加圧部を示す断面図である。
【発明を実施するための形態】
【0010】
以下、本発明の搬送装置、印刷装置および粘着剤塗布方法を添付図面に示す好適な実施形態に基づいて詳細に説明する。
(【0011】以降は省略されています)
この特許をJ-PlatPat(特許庁公式サイト)で参照する
関連特許
個人
箔熱転写装置
1か月前
シヤチハタ株式会社
印判
4か月前
東レ株式会社
凸版印刷版原版
10か月前
シヤチハタ株式会社
反転式印判
9か月前
キヤノン株式会社
記録装置
25日前
独立行政法人 国立印刷局
印刷物
7か月前
三光株式会社
感熱記録材料
6か月前
日本製紙株式会社
感熱記録体
7か月前
独立行政法人 国立印刷局
貼付機構
1か月前
株式会社リコー
液体吐出装置
8か月前
株式会社リコー
液体吐出装置
5か月前
株式会社リコー
画像形成装置
1か月前
株式会社リコー
液体吐出装置
7か月前
株式会社リコー
画像形成装置
9日前
株式会社リコー
液体吐出装置
4か月前
独立行政法人 国立印刷局
貼付装置
1か月前
株式会社リコー
印刷システム
13日前
株式会社リコー
液体吐出装置
2か月前
株式会社リコー
画像形成装置
13日前
株式会社リコー
液体吐出装置
6か月前
独立行政法人 国立印刷局
記録媒体
8か月前
株式会社リコー
液体吐出装置
4か月前
株式会社リコー
液体吐出装置
7か月前
ブラザー工業株式会社
プリンタ
2か月前
キヤノン株式会社
画像形成装置
8か月前
独立行政法人 国立印刷局
潜像印刷物
1か月前
キヤノン株式会社
画像形成装置
3か月前
キヤノン株式会社
画像形成装置
8か月前
キヤノン株式会社
画像形成装置
8か月前
ブラザー工業株式会社
プリンタ
6か月前
キヤノン株式会社
画像形成装置
1か月前
ブラザー工業株式会社
プリンタ
6か月前
キヤノン株式会社
画像処理装置
4か月前
キヤノン株式会社
情報処理装置
9か月前
キヤノン株式会社
画像形成装置
8か月前
キヤノン株式会社
画像形成装置
10か月前
続きを見る
他の特許を見る