TOP
|
特許
|
意匠
|
商標
特許ウォッチ
Twitter
他の特許を見る
10個以上の画像は省略されています。
公開番号
2025153154
公報種別
公開特許公報(A)
公開日
2025-10-10
出願番号
2024055473
出願日
2024-03-29
発明の名称
液体吐出ヘッドの製造方法
出願人
セイコーエプソン株式会社
代理人
弁理士法人明成国際特許事務所
主分類
B41J
2/16 20060101AFI20251002BHJP(印刷;線画機;タイプライター;スタンプ)
要約
【課題】複数のヘッドチップを組み込んで構成される液体吐出ヘッドでは、1つのヘッドチップが劣化すると、液体吐出ヘッド全体が交換され廃棄されていた。
【解決手段】第1液体吐出ヘッドが備える複数の中古ヘッドチップのうち一部の中古ヘッドチップを再利用して、第2液体吐出ヘッドを製造する。この製造方法では、複数の中古ヘッドチップの各使用履歴に基づいて、前記複数の中古ヘッドチップのうち前記第2液体吐出ヘッドに組み込む1又は複数の中古ヘッドチップを選択し、選択した複数の中古ヘッドチップを、第2液体吐出ヘッドに組み込む。
【選択図】図8
特許請求の範囲
【請求項1】
1または複数の第1液体吐出ヘッドが備える複数の中古ヘッドチップのうち一部の中古ヘッドチップを再利用して、第2液体吐出ヘッドを製造する液体吐出ヘッドの製造方法であって、
前記複数の中古ヘッドチップの各使用履歴に基づいて、前記複数の中古ヘッドチップのうち前記第2液体吐出ヘッドに組み込む1又は複数の前記中古ヘッドチップを選択する選択工程と、
前記選択工程で選択した前記1または複数の中古ヘッドチップを、前記第2液体吐出ヘッドに組み込む組立工程と、
を備える液体吐出ヘッドの製造方法。
続きを表示(約 1,600 文字)
【請求項2】
前記第1液体吐出ヘッドから前記複数の中古ヘッドチップを取り外す取外工程の実施の前に、前記複数の中古ヘッドチップの各使用履歴を取得する履歴取得工程を備える、
請求項1に記載の液体吐出ヘッドの製造方法。
【請求項3】
前記複数の中古ヘッドチップのそれぞれは、前記使用履歴を記憶するメモリーを備え、
前記履歴取得工程における前記使用履歴の取得は、前記メモリーからの前記使用履歴の読み出しにより行なわれる、
請求項2に記載の液体吐出ヘッドの製造方法。
【請求項4】
前記第1液体吐出ヘッドは、少なくとも2以上の前記中古ヘッドチップに共通して電気的に接続された第1中継基板と、前記第1中継基板に設けられるとともに前記第1液体吐出ヘッドの外部と電気的に接続するためのコネクターと、を有し、
前記履歴取得工程は、前記コネクターを介した前記メモリーからの前記使用履歴の読み出しにより、前記第1液体吐出ヘッドが備える前記少なくとも2以上の前記中古ヘッドチップの前記各使用履歴を取得する、
請求項3に記載の液体吐出ヘッドの製造方法。
【請求項5】
前記複数の第1液体吐出ヘッドのうち少なくとも2以上の第1液体吐出ヘッドと、前記少なくとも2以上の第1液体吐出ヘッドに共通して電気的に接続された第2中継基板とが、ヘッドユニットを構成し、
前記履歴取得工程は、前記ヘッドユニットの前記第2中継基板に設けられた、前記ヘッドユニットの外部と電気的に接続するためのコネクターを介した前記メモリーからの前記使用履歴の読み出しにより、前記ヘッドユニットを構成する前記少なくとも2以上の第1液体吐出ヘッドが備える複数の前記中古ヘッドチップの前記各使用履歴を取得する、
請求項3に記載の液体吐出ヘッドの製造方法。
【請求項6】
前記第1液体吐出ヘッドは、少なくとも2以上の前記中古ヘッドチップに共通して電気的に接続された第1中継基板を有し、
前記第1中継基板は、前記少なくとも2以上の中古ヘッドチップの前記各使用履歴を記憶するメモリーを有する、
請求項2に記載の液体吐出ヘッドの製造方法。
【請求項7】
前記複数の第1液体吐出ヘッドのうち少なくとも2以上の第1液体吐出ヘッドと、前記少なくとも2以上の第1液体吐出ヘッドに共通して電気的に接続された第2中継基板とが、ヘッドユニットを構成し、
前記履歴取得工程は、前記ヘッドユニットの前記第2中継基板に設けられた、前記ヘッドユニットの外部と電気的に接続するためのコネクターから前記使用履歴を読み出すことで、前記ヘッドユニットを構成する前記少なくとも2以上の第1液体吐出ヘッドが備える複数の前記中古ヘッドチップの前記各使用履歴を取得する、
請求項6に記載の液体吐出ヘッドの製造方法。
【請求項8】
前記1又は複数の第1液体吐出ヘッドが備える前記複数の中古ヘッドチップの前記各使用履歴に基づいて、前記1又は複数の第1液体吐出ヘッドが備える前記複数の中古ヘッドチップを複数のランクに分ける第1ランク分け工程を更に備える、
請求項1に記載の液体吐出ヘッドの製造方法。
【請求項9】
前記第1ランク分け工程は、前記中古ヘッドチップの劣化度合い、又は、前記中古ヘッドチップの吐出回数に関する情報に基づいて前記複数のランクに分類する、
請求項8に記載の液体吐出ヘッドの製造方法。
【請求項10】
前記複数の中古ヘッドチップの各初期特性値に基づいて、前記1又は複数の第1液体吐出ヘッドが備える前記複数の中古ヘッドチップを複数のランクに分ける第2ランク分け工程を更に含む、
請求項8に記載の液体吐出ヘッドの製造方法。
(【請求項11】以降は省略されています)
発明の詳細な説明
【技術分野】
【0001】
本開示は、液体吐出ヘッドの製造方法に関する。
続きを表示(約 2,700 文字)
【背景技術】
【0002】
インクなどの液体を吐出する複数のヘッドチップを搭載する液体吐出ヘッドを備える液体噴射装置が知られている(例えば、特許文献1参照)。
【先行技術文献】
【特許文献】
【0003】
特開2015-39804号公報
【発明の概要】
【発明が解決しようとする課題】
【0004】
こうした従来技術では、液体吐出装置が備える液体吐出ヘッドが、故障したり、使用による劣化によって寿命を迎えそうになったりした際に、液体吐出ヘッドを交換することで液体噴射装置の修理を行なっていた。1つの液体吐出ヘッドは、複数のヘッドチップを搭載している。このため、それぞれのヘッドチップ毎に劣化や故障の現われ方が異なるのに、一部のヘッドチップが使用不可又は寿命が近いと判断された場合、液体吐出ヘッドごと交換されており、使用可能なヘッドチップや劣化の程度の低いヘッドチップでも廃棄の対象となってしまうという問題があった。
【課題を解決するための手段】
【0005】
本開示は、液体吐出ヘッドを製造する方法として実施可能である。この液体吐出ヘッドを製造する方法は、1または複数の第1液体吐出ヘッドが備える複数の中古ヘッドチップのうち一部の中古ヘッドチップを再利用して、第2液体吐出ヘッドを製造する液体吐出ヘッドの製造方法であって、前記複数の中古ヘッドチップの各使用履歴に基づいて、前記複数の中古ヘッドチップのうち前記第2液体吐出ヘッドに組み込む1又は複数の前記中古ヘッドチップを選択する選択工程と、前記選択工程で選択した前記1または複数の中古ヘッドチップを、前記第2液体吐出ヘッドに組み込む組立工程と、を備える。
【図面の簡単な説明】
【0006】
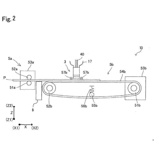
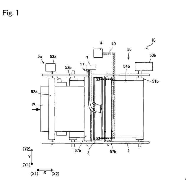
実施形態の液体吐出ヘッドの製造方法で用いられる液体吐出装置の概略構成を示す上面図。
液体吐出装置の概略構成を示す側面図。
ヘッドユニットの構造を示す分解斜視図。
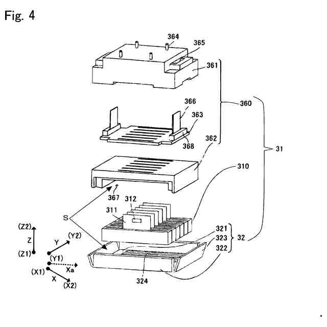
液体吐出ヘッドの分解斜視図。
液体吐出ヘッドが有するヘッドチップの断面図。
液体吐出装置の機能的構成を示す説明図。
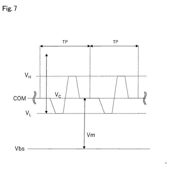
駆動信号を示す説明図。
ヘッドユニットに組み込まれたヘッドチップが回収されてランク分けされるまでの変遷を模式的に示す説明図。
ヘッドチップの初期特性値とその後の経時変化の様子を模式的に示す説明図。
製造されたヘッドチップが吐出ヘッドに組み込まれる様子を例示する説明図。
ヘッドチップについて製造時に作成され保存されるデータの一例を示す説明図。
回収された中古ヘッドチップのランク分けの工程を例示する工程図。
ランク分けの優先順位の一例を示す説明図。
ヘッドユニットの中継基板と読取デバイスとの接続の様子を示す説明図。
新たな液体吐出ヘッドを製造する選択・組立工程を示す工程図。
新たな液体吐出ヘッドを製造する様子を例示する説明図。
第2実施形態の液体吐出ヘッドの製造工程を示す工程図。
中古ヘッドチップの組み合わせの様子を例示する説明図。
中古ヘッドチップの他の組み合わせの様子を例示する説明図。
中古ヘッドチップの他の組み合わせの様子を例示する説明図。
中古ヘッドチップの状態を測定してランク分けする工程を示す工程図。
【発明を実施するための形態】
【0007】
以下、液体吐出ヘッドの製造方法の実施形態について図面を用いて説明する。用いる図面は説明の便宜上のものである。以下に説明する実施形態は、実施形態の例示に過ぎず、本開示の内容を限定するものではない。また、以下で説明される構成は必須の構成要件と記載されているものを除いて、必須のものと解釈してはならない。
【0008】
A.第1実施形態
(A1)液体吐出装置の概要:
第1実施形態の液体吐出ヘッドの製造方法について、以下説明する。第1実施形態の製造方法は、1又は複数の第1液体吐出ヘッドが備える複数の中古ヘッドチップの一部を再利用して、第2液体吐出ヘッドを製造するものである。ここで第1液体吐出ヘッドは、液体吐出装置などに組み込まれて使用されたことがある液体吐出ヘッドである。第2液体吐出ヘッドは、第1液体吐出ヘッドが備える複数の中古ヘッドチップの少なくとも一部を再利用して製造される液体吐出ヘッドである。そこで、液体吐出ヘッドの製造方法の説明に先立って、まず第1液体吐出ヘッドに相当する液体吐出ヘッド31を複数備えるヘッドユニット、更にはこのヘッドユニットを備える液体吐出装置の構成について説明する。なお、本明細書では、液体をノズル等から外部に向けて送り出すことを「吐出」と呼ぶ。吐出には、液体の種類、出力時間、回数などを問わず、噴射、噴出、噴霧や排出、間欠的流出など、所定量の液体が外部に出力される各種の態様が含まれる。
【0009】
図1は、液体吐出装置10の概略構成を示す上面図である。図2は、液体吐出装置10の概略構成を示す側面図である。これらの図に示すように、本実施形態で扱う液体吐出装置10は、インクが吐出される媒体Pを搬送するだけで印刷を行なう、所謂ライン式のインクジェットプリンターを例示して説明を行なう。なお、液体吐出装置10は、ライン式のインクジェットプリンターに限られるのもではなく、媒体Pの搬送に同期してヘッドユニットが移動する所謂シリアル式のインクジェットプリンターであってもよい。
【0010】
以下の説明において媒体Pが搬送される搬送方向を方向Xと称し、媒体Pが搬送される上流をX1側、下流をX2側として説明する。また、媒体Pにインクが着弾する着弾面の面内方向において、方向Xに直交する方向を方向Yと称し、方向Yにおける液体吐出装置10の一端をY1側、他端をY2側として説明する。さらに、方向X、及び方向Yの双方に直交する方向であって、ヘッドユニット3から媒体Pに吐出されるインクが吐出される方向を方向Zと称し、ヘッドユニット3から吐出されるインクは、方向ZのZ2側からZ1側に向かって吐出されるとして説明する。本実施形態において方向X、方向Y、及び方向Zは、互いに直交する軸として説明を行なうが、液体吐出装置10が備える構成が互いに直交して配置されていることに限定されるものではない。これらの方向X,Y,Zは、他の図にも適宜示した。
(【0011】以降は省略されています)
この特許をJ-PlatPat(特許庁公式サイト)で参照する
関連特許
個人
箔熱転写装置
1か月前
シヤチハタ株式会社
印判
4か月前
東レ株式会社
凸版印刷版原版
10か月前
シヤチハタ株式会社
反転式印判
9か月前
独立行政法人 国立印刷局
印刷物
7か月前
キヤノン株式会社
記録装置
1か月前
三光株式会社
感熱記録材料
6か月前
日本製紙株式会社
感熱記録体
7か月前
株式会社リコー
液体吐出装置
4か月前
株式会社リコー
印刷システム
19日前
株式会社リコー
画像形成装置
19日前
株式会社リコー
液体吐出装置
7か月前
独立行政法人 国立印刷局
記録媒体
8か月前
株式会社リコー
液体吐出装置
4か月前
株式会社リコー
液体吐出装置
6か月前
株式会社リコー
画像形成装置
15日前
株式会社リコー
液体吐出装置
2か月前
株式会社リコー
画像形成装置
1か月前
独立行政法人 国立印刷局
貼付機構
2か月前
独立行政法人 国立印刷局
貼付装置
1か月前
株式会社リコー
液体吐出装置
7か月前
株式会社リコー
液体吐出装置
5か月前
株式会社リコー
液体吐出装置
8か月前
キヤノン株式会社
印刷制御装置
10か月前
キヤノン株式会社
画像形成装置
8か月前
キヤノン株式会社
情報処理装置
9か月前
ブラザー工業株式会社
プリンタ
8か月前
ブラザー工業株式会社
液体吐出ヘッド
1か月前
ブラザー工業株式会社
プリンタ
4か月前
独立行政法人 国立印刷局
潜像印刷物
2か月前
ブラザー工業株式会社
プリンタ
2か月前
理想科学工業株式会社
印刷装置
23日前
キヤノン株式会社
画像形成装置
8か月前
キヤノン株式会社
画像形成装置
3か月前
キヤノン株式会社
画像形成装置
6か月前
ブラザー工業株式会社
プリンタ
2か月前
続きを見る
他の特許を見る