TOP
|
特許
|
意匠
|
商標
特許ウォッチ
Twitter
他の特許を見る
公開番号
2025152930
公報種別
公開特許公報(A)
公開日
2025-10-10
出願番号
2024055118
出願日
2024-03-28
発明の名称
ロボットおよびロボットシステム
出願人
セイコーエプソン株式会社
代理人
個人
,
個人
,
個人
主分類
B25J
9/06 20060101AFI20251002BHJP(手工具;可搬型動力工具;手工具用の柄;作業場設備;マニプレータ)
要約
【課題】基台と第2アームとに引き回された配線の数を削減し、配線の接続作業の手間を低減することのできるロボットおよびロボットシステムを提供する。
【解決手段】ロボットは、基台と、前記基台に連結され、前記基台に対して第1回動軸まわりに回動する第1アームと、基端部において前記第1アームに連結され、前記第1アームに対して前記第1回動軸と平行な第2回動軸まわりに回動する第2アームと、前記第2アームに配置されている第1電子部品および第2電子部品と、前記第2アームに配置されている中継回路基板と、前記中継回路基板と前記第1電子部品とを電気的に接続する第1配線と、前記中継回路基板と前記第2電子部品とを電気的に接続する第2配線と、前記基台と前記第2アームとに引き回され、前記中継回路基板と電気的に接続されている第3配線と、を有する。
【選択図】図3
特許請求の範囲
【請求項1】
基台と、
前記基台に連結され、前記基台に対して第1回動軸まわりに回動する第1アームと、
基端部において前記第1アームに連結され、前記第1アームに対して前記第1回動軸と平行な第2回動軸まわりに回動する第2アームと、
前記第2アームに配置されている第1電子部品および第2電子部品と、
前記第2アームに配置されている中継回路基板と、
前記中継回路基板と前記第1電子部品とを電気的に接続する第1配線と、
前記中継回路基板と前記第2電子部品とを電気的に接続する第2配線と、
前記基台と前記第2アームとに引き回され、前記中継回路基板と電気的に接続されている第3配線と、を有することを特徴とするロボット。
続きを表示(約 1,300 文字)
【請求項2】
前記第2アームに配置され、前記第2アームに対して前記第1回動軸と平行な第3回動軸に沿って移動するシャフトと、
前記第2アームに配置され、前記シャフトを前記第2アームに対して前記第3回動軸に沿って直動させるモーターと、
前記シャフトの前記移動を阻止するブレーキ状態と、前記シャフトの前記移動を許容するブレーキ解除状態と、を切り替える前記第1電子部品としてのブレーキと、
前記ブレーキを前記ブレーキ状態から前記ブレーキ解除状態に切り替える前記第2電子部品としてのブレーキ解除ボタンと、を有し、
前記中継回路基板は、前記ブレーキ解除ボタンの操作に応じて前記ブレーキを制御するブレーキ制御回路を有する請求項1に記載のロボット。
【請求項3】
前記基台と前記第2アームとを接続し、前記基台内に臨む基端開口および前記第2アームに臨む先端開口を有する管状をなし、内部に前記第3配線が挿通されているダクトを有し、
前記第2アームは、前記第1アームに連結されているアームベースと、前記アームベースに固定され、前記ダクトを保持しているフレームと、を有し、
前記中継回路基板は、前記フレームに保持されている請求項2に記載のロボット。
【請求項4】
前記中継回路基板に実装されている発光素子を有し、
前記中継回路基板は、前記モーターに電源が供給されている状態で前記発光素子を発光させる発光素子制御回路を有する請求項3に記載のロボット。
【請求項5】
前記第2アームの外側に臨み、前記発光素子の光が入射するレンズを有し、
前記フレームは、前記発光素子の光を前記レンズに向けて拡散反射させる光反射部を有する請求項4に記載のロボット。
【請求項6】
前記第2アームに配置され、前記第2回動軸に沿う方向からの平面視で、前記中継回路基板と前記先端開口との間に位置するコネクターと、
前記コネクターに電気的に接続され、前記ダクトを介して前記第2アームと前記基台とに引き回されている第4配線と、を有する請求項5に記載のロボット。
【請求項7】
ロボットと、
前記ロボットの駆動を制御する制御装置と、を有し、
前記ロボットは、前記制御装置が収容されている基台と、
前記基台に連結され、前記基台に対して第1回動軸まわりに回動する第1アームと、
基端部において前記第1アームに連結され、前記第1アームに対して前記第1回動軸と平行な第2回動軸まわりに回動する第2アームと、
前記第2アームに配置されている第1電子部品および第2電子部品と、
前記第2アームに配置されている中継回路基板と、
前記中継回路基板と前記第1電子部品とを電気的に接続する第1配線と、
前記中継回路基板と前記第2電子部品とを電気的に接続する第2配線と、
前記第2アームと前記基台との間に引き回され、前記中継回路基板と前記制御装置とを電気的に接続する第3配線と、を有することを特徴とするロボットシステム。
発明の詳細な説明
【技術分野】
【0001】
本発明は、ロボットおよびロボットシステムに関する。
続きを表示(約 2,000 文字)
【背景技術】
【0002】
特許文献1に記載されたスカラロボット(水平多関節ロボット)は、基台と、基台に対して鉛直方向に沿う第1回動軸まわりに回動可能に連結された第1アームと、第1アームに対して鉛直方向に沿う第2回動軸まわりに回動可能に連結された第2アームと、基台と第2アームとを接続するチューブと、基台内に配置された制御基板と、を有する。そして、第2アームに配置された各電子部品は、チューブ内を通って基台内と第2アーム内とに引き回された配線を介して制御基板と電気的に接続されている。
【先行技術文献】
【特許文献】
【0003】
特開2020-157428号公報
【発明の概要】
【発明が解決しようとする課題】
【0004】
このように、特許文献1に記載のスカラロボットでは、第2アームに配置された各電子部品が、チューブ内を通って基台内と第2アーム内とに引き回された配線を介して制御基板と電気的に接続されているため、チューブ内を通る配線の数が多くなり易い。そのため、ロボットを組み立てる際の配線の接続に手間がかかるおそれがある。
【課題を解決するための手段】
【0005】
本発明のロボットは、基台と、
前記基台に連結され、前記基台に対して第1回動軸まわりに回動する第1アームと、
基端部において前記第1アームに連結され、前記第1アームに対して前記第1回動軸と平行な第2回動軸まわりに回動する第2アームと、
前記第2アームに配置されている第1電子部品および第2電子部品と、
前記第2アームに配置されている中継回路基板と、
前記中継回路基板と前記第1電子部品とを電気的に接続する第1配線と、
前記中継回路基板と前記第2電子部品とを電気的に接続する第2配線と、
前記基台と前記第2アームとに引き回され、前記中継回路基板と電気的に接続されている第3配線と、を有することを特徴とするロボット。
【0006】
本発明のロボットシステムは、ロボットと、
前記ロボットの駆動を制御する制御装置と、を有し、
前記ロボットは、前記制御装置が収容されている基台と、
前記基台に連結され、前記基台に対して第1回動軸まわりに回動する第1アームと、
基端部において前記第1アームに連結され、前記第1アームに対して前記第1回動軸と平行な第2回動軸まわりに回動する第2アームと、
前記第2アームに配置されている第1電子部品および第2電子部品と、
前記第2アームに配置されている中継回路基板と、
前記中継回路基板と前記第1電子部品とを電気的に接続する第1配線と、
前記中継回路基板と前記第2電子部品とを電気的に接続する第2配線と、
前記第2アームと前記基台との間に引き回され、前記中継回路基板と前記制御装置とを電気的に接続する第3配線と、を有する。
【図面の簡単な説明】
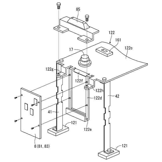
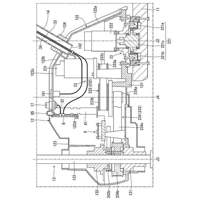
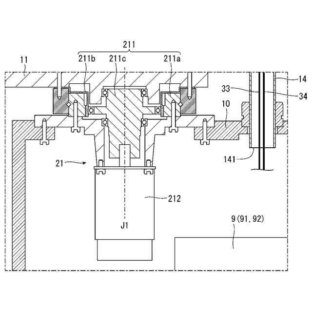
【0007】
好適な実施形態に係るロボットを示す側面図である。
基台と第1アームとの連結部分を示す断面図である。
第2アームを横方向一方側から見た断面図である。
第2アームを横方向他方側から見た断面図である。
第2アームの内部を示す上面図である。
フレームの先端部を拡大して示す斜視図である。
フレームの先端部を拡大して示す断面図である。
【発明を実施するための形態】
【0008】
以下、本発明のロボットおよびロボットシステムを添付図面に示す実施形態に基づいて詳細に説明する。
【0009】
図1は、好適な実施形態に係るロボットを示す側面図である。図2は、基台と第1アームとの連結部分を示す断面図である。図3は、第2アームを横方向一方側から見た断面図である。図4は、第2アームを横方向他方側から見た断面図である。図5は、第2アームの内部を示す上面図である。図6は、フレームの先端部を拡大して示す斜視図である。図7は、フレームの先端部を拡大して示す断面図である。
【0010】
なお、図1中の上下方向は、鉛直方向と一致している。そのため、以下では、図1中の上側を「上」、下側を「下」とも言う。また、本明細書において「鉛直」とは、鉛直と一致している場合のみならず、本発明の効果を発揮し得る限りの範囲において鉛直に対して傾斜している場合、例えば、鉛直に対して±5°以内で傾斜している場合も含む意味である。同様に、本明細書において「平行」とは、2つの対象が平行と一致している場合のみならず、本発明の効果を発揮し得る限りの範囲において平行から傾斜している場合、例えば、平行に対して±5°以内で傾斜している場合も含む意味である。
(【0011】以降は省略されています)
この特許をJ-PlatPat(特許庁公式サイト)で参照する
関連特許
個人
折りたたみ工具
1か月前
個人
フラワーホッチキス。
今日
株式会社三協システム
製函機
1か月前
川崎重工業株式会社
ロボット
13日前
株式会社三協システム
移載装置
1か月前
株式会社竹中工務店
補助セット
12日前
株式会社不二越
ロボット
12日前
CKD株式会社
把持装置
1か月前
株式会社不二越
ロボット操作装置
1か月前
川崎重工業株式会社
ハンド
4日前
太陽パーツ株式会社
アシストスーツ
1か月前
SMC株式会社
着脱装置
1か月前
株式会社ミクロブ
把持装置
1か月前
株式会社不二越
移動ロボットシステム
15日前
工機ホールディングス株式会社
作業機
4日前
トヨタ自動車株式会社
ロボット
7日前
本田技研工業株式会社
装置
18日前
株式会社不二越
ロボットシステム
1か月前
株式会社不二越
ロボットシステム
1か月前
株式会社不二越
エッジ仕上げ装置
25日前
川崎重工業株式会社
塗装システム
4日前
トヨタ自動車株式会社
歩行ロボット
1か月前
株式会社不二越
垂直多関節ロボット
26日前
トヨタ自動車株式会社
軌道生成装置
7日前
工機ホールディングス株式会社
作業機
4日前
大和ハウス工業株式会社
ねじ回転工具
1か月前
ライオン株式会社
移載システム
27日前
シンフォニアテクノロジー株式会社
搬送装置
15日前
アネックスツール株式会社
ドライバービット
11日前
川崎重工業株式会社
ワーク搬送ロボット
4日前
株式会社マキタ
回転打撃工具
7日前
ワールド技研株式会社
ロボットセル装置
12日前
シヤチハタ株式会社
マーキング装置
1か月前
シヤチハタ株式会社
マーキング装置
1か月前
倉敷紡績株式会社
ハンドおよびコネクタ接続方法
25日前
セイコーエプソン株式会社
ロボット
1か月前
続きを見る
他の特許を見る