TOP
|
特許
|
意匠
|
商標
特許ウォッチ
Twitter
他の特許を見る
公開番号
2025152879
公報種別
公開特許公報(A)
公開日
2025-10-10
出願番号
2024055049
出願日
2024-03-28
発明の名称
成形材料挙動検出装置
出願人
広島県
代理人
個人
,
個人
,
個人
主分類
G01N
29/24 20060101AFI20251002BHJP(測定;試験)
要約
【課題】キャビティ内における成形材料の挙動の検出精度を向上させることができる成形材料挙動検出装置を提供する。
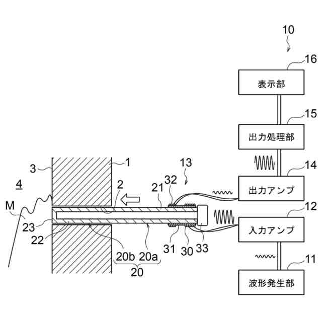
【解決手段】本発明による成形材料挙動検出装置は、波形発生部と、超音波センサと、出力処理部と、を備えている。超音波センサは、型の外部に位置する第1部分と、型を貫通する貫通孔に位置する第2部分と、を含む伝搬体であって、第1部分から第2部分に長手方向に延びるガイド波を伝搬可能な伝搬体と、第1部分に位置し、波形発生部からの入力電圧に応じて伝搬体にガイド波を伝搬させる送信コイルと、第1部分に位置し、伝搬体内を伝搬するガイド波に応じて出力電圧の波形を発生させる受信コイルと、を含んでいる。出力処理部は、出力電圧の波形を処理して検出結果を作成する。第2部分は、キャビティに露出する先端面を含み、先端面は、型の内面と同一面に位置する、または内面よりもキャビティの内側に位置する。
【選択図】図1
特許請求の範囲
【請求項1】
成形時に型のキャビティ内における成形材料の挙動を検出する成形材料挙動検出装置であって、
所定の周波数で入力電圧の波形を発生させる波形発生部と、
超音波のガイド波を発生させる超音波センサと、
出力処理部と、
を備え、
前記超音波センサは、 前記型の外部に位置する第1部分と、前記型を貫通する貫通孔に位置する第2部分と、を含む伝搬体であって、前記第1部分から前記第2部分に長手方向に延びる前記ガイド波を伝搬可能な伝搬体と、
前記第1部分に位置し、前記入力電圧に応じて入力磁場を発生させることにより前記伝搬体に前記ガイド波を伝搬させる送信コイルと、
前記第1部分に位置し、前記伝搬体内を伝搬する前記ガイド波に基づいて発生した出力磁場に応じて出力電圧の波形を発生させる受信コイルと、
を含み、
前記出力処理部は、前記出力電圧の波形を処理して検出結果を作成し、
前記第2部分は、前記キャビティに露出する先端面を含み、
前記先端面は、前記型の内面と同一面に位置する、または前記内面よりも前記キャビティの内側に位置する、
成形材料挙動検出装置。
続きを表示(約 1,600 文字)
【請求項2】
前記超音波センサは、前記伝搬体の前記第1部分に位置する、磁歪材料で形成された磁歪体であって、前記送信コイルからの前記入力磁場を受けて前記伝搬体に前記ガイド波を伝搬させるとともに、前記伝搬体内を伝搬する前記ガイド波を受けて前記受信コイルに向けて前記出力磁場を発生させる磁歪体を更に含む、
請求項1に記載の成形材料挙動検出装置。
【請求項3】
前記伝搬体は、金属材料で形成されている、
請求項1または2に記載の成形材料挙動検出装置。
【請求項4】
前記送信コイルおよび前記受信コイルは、前記第1部分のうち前記第2部分とは反対側に位置する基端部に位置している、
請求項1または2に記載の成形材料挙動検出装置。
【請求項5】
前記超音波センサは、前記伝搬体に取り付けられた永久磁石を更に含み、
前記永久磁石は、前記送信コイルおよび前記受信コイルよりも前記第2部分とは反対側に位置している、
請求項1または2に記載の成形材料挙動検出装置。
【請求項6】
前記波形発生部は、前記伝搬体の共振周波数で前記入力電圧を発生させ、
前記出力処理部は、前記出力電圧の波形の変化に基づいて、前記成形材料が前記伝搬体の前記第2部分に接触しているか否かを判定した判定結果を含む検出結果を作成する、
請求項1または2に記載の成形材料挙動検出装置。
【請求項7】
前記出力処理部は、前記出力電圧の波形をフーリエ変換して周波数スペクトルを作成するフーリエ変換部と、前記周波数スペクトルから前記共振周波数における振幅Aを算出する振幅算出部と、前記成形材料が前記キャビティ内に存在しないときの前記出力電圧の波形から取得される前記共振周波数における振幅である基準振幅A
0
と前記振幅Aとの差である振幅変化量ΔAを算出する振幅変化量算出部と、前記振幅変化量ΔAに基づいて前記成形材料が前記伝搬体の前記第2部分に接触しているか否かを判定する判定部と、前記判定部による判定結果を含む前記検出結果を作成する結果作成部と、を含む、
請求項6に記載の成形材料挙動検出装置。
【請求項8】
前記出力処理部は、前記出力電圧の波形の包絡線を、時間をt、係数をa、定数をbとして、
TIFF
2025152879000008.tif
11
170
で表したときの前記係数aを算出する係数算出部と、前記成形材料が前記キャビティ内に存在しないときの前記係数である基準係数a
0
と、前記係数aとの差である係数変化量Δaを算出する係数変化量算出部と、前記係数変化量Δaに基づいて前記成形材料が前記伝搬体の前記第2部分に接触しているか否かを判定する判定部と、前記判定部による判定結果を含む前記検出結果を作成する結果作成部と、を含む、
請求項6に記載の成形材料挙動検出装置。
【請求項9】
前記出力処理部は、前記出力電圧の波形をフーリエ変換して周波数スペクトルを作成するフーリエ変換部と、前記周波数スペクトルから前記共振周波数における振幅Aを算出する振幅算出部と、前記成形材料が前記キャビティ内に存在しないときの前記出力電圧の波形から取得される前記共振周波数における振幅である基準振幅A
0
と前記振幅Aとの差である振幅変化量ΔAを算出する振幅変化量算出部と、前記振幅変化量ΔAに基づいて前記成形材料と前記型との間の熱伝達係数を算出する熱伝達係数算出部と、前記熱伝達係数を含む前記検出結果を作成する結果作成部と、を含む、
請求項6に記載の成形材料挙動検出装置。
発明の詳細な説明
【技術分野】
【0001】
本発明は、成形材料挙動検出装置に関する。
続きを表示(約 1,600 文字)
【背景技術】
【0002】
鋳造や射出成形などで作製された成形品は、金型や砂型などの型のキャビティ内に、成形材料(金属材料、樹脂材料またはセラミックス材料)を溶融して充填させている。充填された成形材料が凝固することにより成形品が作製され、型から取り出される。
【0003】
型のキャビティ内における成形材料の挙動を確認するために、シミュレーションを行う場合がある。シミュレーションの精度を向上させるためには、パラメータを適切に調整することが有効である。このためには、キャビティ内における溶融状態の成形材料の流れや、成形材料の凝固のタイミングなどを含む成形材料の挙動を予め把握しておくことが効果的である。例えば、成形材料の凝固過程や温度過程を検出するための方法が知られている(特許文献1および2参照)。
【0004】
しかしながら、これらの文献において検出のために用いられている超音波振動子は、金型の外部に取り付けられている。この場合、検出精度の向上が困難になっている。
【先行技術文献】
【特許文献】
【0005】
特開2005-74499号公報
特表2007-212358号公報
【発明の概要】
【発明が解決しようとする課題】
【0006】
本発明はこのような点を考慮してなされたものであり、キャビティ内における成形材料の挙動の検出精度を向上させることができる成形材料挙動検出装置を提供することを目的とする。
【課題を解決するための手段】
【0007】
[1]本発明は、
成形時に型のキャビティ内における成形材料の挙動を検出する成形材料挙動検出装置であって、
所定の周波数で入力電圧の波形を発生させる波形発生部と、
超音波のガイド波を発生させる超音波センサと、
出力処理部と、
を備え、
前記超音波センサは、
前記型の外部に位置する第1部分と、前記型を貫通する貫通孔に位置する第2部分と、を含む伝搬体であって、前記第1部分から前記第2部分に長手方向に延びる前記ガイド波を伝搬可能な伝搬体と、
前記第1部分に位置し、前記入力電圧に応じて入力磁場を発生させることにより前記伝搬体に前記ガイド波を伝搬させる送信コイルと、
前記第1部分に位置し、前記伝搬体内を伝搬する前記ガイド波に基づいて発生した出力磁場に応じて出力電圧の波形を発生させる受信コイルと、
を含み、
前記出力処理部は、前記出力電圧の波形を処理して検出結果を作成し、
前記第2部分は、前記キャビティに露出する先端面を含み、
前記先端面は、前記型の内面と同一面に位置する、または前記内面よりも前記キャビティの内側に位置する、
成形材料挙動検出装置、であってもよい。
【0008】
[2]本発明は、
前記超音波センサは、前記伝搬体の前記第1部分に位置する、磁歪材料で形成された磁歪体であって、前記送信コイルからの前記入力磁場を受けて前記伝搬体に前記ガイド波を伝搬させるとともに、前記伝搬体内を伝搬する前記ガイド波を受けて前記受信コイルに向けて前記出力磁場を発生させる磁歪体を更に含む、
[1]に記載の成形材料挙動検出装置、であってもよい。
【0009】
[3]本発明は、
前記伝搬体は、金属材料で形成されている、
[1]または[2]に記載の成形材料挙動検出装置、であってもよい。
【0010】
[4]本発明は、
前記送信コイルおよび前記受信コイルは、前記第1部分のうち前記第2部分とは反対側に位置する基端部に位置している、
[1]~[3]のいずれかに記載の成形材料挙動検出装置、であってもよい。
(【0011】以降は省略されています)
この特許をJ-PlatPat(特許庁公式サイト)で参照する
関連特許
広島県
樹脂組成物
14日前
広島県
成形材料挙動検出装置
6日前
広島県
把持固定機構、及び把持固定ロボットハンド
1か月前
広島県
芳香族有機塩素化合物の検出方法および検出キット
7日前
ヤヱガキ醗酵技研株式会社
成熟卵母細胞の製造方法
8か月前
広島県
センサおよび金型
4か月前
広島県公立大学法人
コンクリート組成物及びコンクリート硬化体並びにコンクリート補強材
7か月前
広島県
推定装置、学習済みモデルの生成装置、教師データの生成装置、制御プログラム、推定方法、学習済みモデルの生成方法および教師データの生成方法
4か月前
キリンホールディングス株式会社
マツタケ原基およびその製造方法
6か月前
ノバセル株式会社
TVCMの効果を可視化するための装置、方法及びそのためのプログラム
10か月前
MiZ株式会社
微生物が産生する水素濃度の測定方法とキット
11か月前
個人
メジャー文具
9日前
個人
アクセサリー型テスター
2日前
個人
高精度同時多点測定装置
1日前
日本精機株式会社
位置検出装置
15日前
日本精機株式会社
位置検出装置
15日前
ユニパルス株式会社
ロードセル
8日前
日本精機株式会社
位置検出装置
15日前
大和製衡株式会社
組合せ秤
20日前
大和製衡株式会社
組合せ秤
20日前
アズビル株式会社
圧力センサ
14日前
株式会社東芝
センサ
20日前
株式会社ヨコオ
ソケット
8日前
株式会社チノー
放射光測温装置
8日前
株式会社ユーシン
操作検出装置
17日前
トヨタ自動車株式会社
監視装置
7日前
エイブリック株式会社
磁気センサ回路
14日前
ダイキン工業株式会社
監視装置
6日前
トヨタ自動車株式会社
検査装置
17日前
株式会社ヨコオ
ソケット
7日前
株式会社東芝
センサ
20日前
TDK株式会社
磁気センサ
7日前
TDK株式会社
ガスセンサ
14日前
長崎県
形状計測方法
2日前
TDK株式会社
ガスセンサ
8日前
東レエンジニアリング株式会社
計量装置
17日前
続きを見る
他の特許を見る