TOP
|
特許
|
意匠
|
商標
特許ウォッチ
Twitter
他の特許を見る
公開番号
2025151585
公報種別
公開特許公報(A)
公開日
2025-10-09
出願番号
2024053092
出願日
2024-03-28
発明の名称
副室式内燃機関
出願人
三菱自動車工業株式会社
代理人
ケー・ティー・アンド・エス弁理士法人
主分類
F02B
19/10 20060101AFI20251002BHJP(燃焼機関;熱ガスまたは燃焼生成物を利用する機関設備)
要約
【課題】筒内流動を考慮して副燃焼室周辺に混合気を形成できる副室式内燃機関を提供する。
【解決手段】副室式内燃機関は、主燃焼室と、主燃焼室と隔壁を介して隔てて配置される副燃焼室と、第1噴射と、前記第1噴射とは異なる方向に噴射される第2噴射と、を有する燃料噴射弁と、前記隔壁に設けられ、前記主燃焼室と前記副燃焼室とを連通する第1連通路と、前記第1連通路と異なる方向に、前記主燃焼室と前記副燃焼室とを連通する第2連通路と、を備え、前記第1噴射が前記第1連通路と交差する方向に噴射され、前記第2噴射が前記第2連通路と交差する方向に噴射される。
【選択図】 図1
特許請求の範囲
【請求項1】
主燃焼室と、
前記主燃焼室と隔壁を介して隔てて配置される副燃焼室と、
第1噴射と、前記第1噴射とは異なる方向に噴射される第2噴射と、を有する燃料噴射弁と、
前記隔壁に設けられ、前記主燃焼室と前記副燃焼室とを連通する第1連通路と、
前記第1連通路と異なる方向に、前記主燃焼室と前記副燃焼室とを連通する第2連通路と、
を備え、
前記第1噴射が前記第1連通路と交差する方向に噴射され、
前記第2噴射が前記第2連通路と交差する方向に噴射される、
副室式内燃機関。
続きを表示(約 510 文字)
【請求項2】
前記第1連通路と前記第2連通路とが隣り合い、前記燃料噴射弁の中心軸が前記第1連通路と前記第2連通路との間の隔壁に位置する、
請求項1に記載の副室式内燃機関。
【請求項3】
前記第1噴射の第1噴霧軸および前記第2噴射の第2噴霧軸が、前記第1連通路と前記第2連通路との間の前記隔壁と交差する、
請求項1に記載の副室式内燃機関。
【請求項4】
シリンダ内を摺動するピストンと、
前記ピストンに向けて前記主燃焼室と前記副燃焼室とを連通する第3連通路と、
をさらに備え、
前記第1連通路および前記第2連通路は、前記シリンダに向けて形成され、
前記第1噴射の第1噴霧軸は、前記第1連通路と前記第3連通路との間の前記隔壁と交差し、
前記第2噴射の第2噴霧軸は、前記第2連通路と前記第3連通路との間の前記隔壁と交差する、
請求項1に記載の副室式内燃機関。
【請求項5】
前記燃料噴射弁から噴射される噴霧を案内するガイド部をさらに備える、
請求項1から4のいずれか1項に記載の副室式内燃機関。
発明の詳細な説明
【技術分野】
【0001】
本開示は、副室式内燃機関に関する。
続きを表示(約 1,500 文字)
【背景技術】
【0002】
従来、副室式内燃機関が知られている(例えば、特許文献1参照)。特許文献1の副室式内燃機関は、主燃焼室と、副燃焼室と、を備え、副燃焼室に点火装置が配置され、主燃焼室に燃料噴射弁が配置される。特許文献1の副室式内燃機関は、主燃焼室から噴射した燃料を副燃焼室に供給することによって、副燃焼室に混合気を形成する副室式内燃機関である。副燃焼室に形成された混合気は、点火装置によって着火され火炎を形成する。副燃焼室に形成された火炎は、連通路を介して主燃焼室に噴射される。
【先行技術文献】
【特許文献】
【0003】
特許7255673公報
【発明の概要】
【発明が解決しようとする課題】
【0004】
このような副室式内燃機関では、副燃焼室の周囲に燃料濃度の濃い混合気を形成し、副燃焼室に混合気を供給することが好ましい。特許文献1の副室式内燃機関は、燃料噴射弁から副燃焼室の外側に燃料噴霧を供給し、副燃焼室の周囲に燃料濃度の濃い混合気を形成する。特許文献1の副室内燃機関は、筒内流動によって燃料噴霧が流されることを考慮し、どのような燃料噴射をすべきかは開示していない。
【0005】
本開示の課題は、筒内流動を考慮して副燃焼室周辺に混合気を形成できる副室式内燃機関を提供することである。
【課題を解決するための手段】
【0006】
本開示に係る副室式内燃機関は、主燃焼室と、主燃焼室と隔壁を介して隔てて配置される副燃焼室と、第1噴射と、前記第1噴射とは異なる方向に噴射される第2噴射と、を有する燃料噴射弁と、前記隔壁に設けられ、前記主燃焼室と前記副燃焼室とを連通する第1連通路と、前記第1連通路と異なる方向に、前記主燃焼室と前記副燃焼室とを連通する第2連通路と、を備え、前記第1噴射が前記第1連通路と交差する方向に噴射され、前記第2噴射が前記第2連通路と交差する方向に噴射される。
【発明の効果】
【0007】
この副室式内燃機関によれば、第1噴射が第1連通路と交差する方向に噴射され、第2噴射が第2連通路と交差する方向に噴射される。これによって、筒内流動が発生した場合であっても、第1噴射および第2噴射の少なくともいずれか一方は、第1連通路または第2連通路に向けて噴射される。この結果、燃料濃度の濃い混合気が第1連通路または第2連通路から副燃焼室に供給される。
【図面の簡単な説明】
【0008】
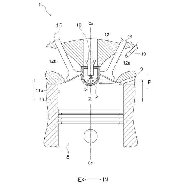
本開示の実施形態による副室式内燃機関を示す図。
本開示の実施形態による副燃焼室壁の側面図。
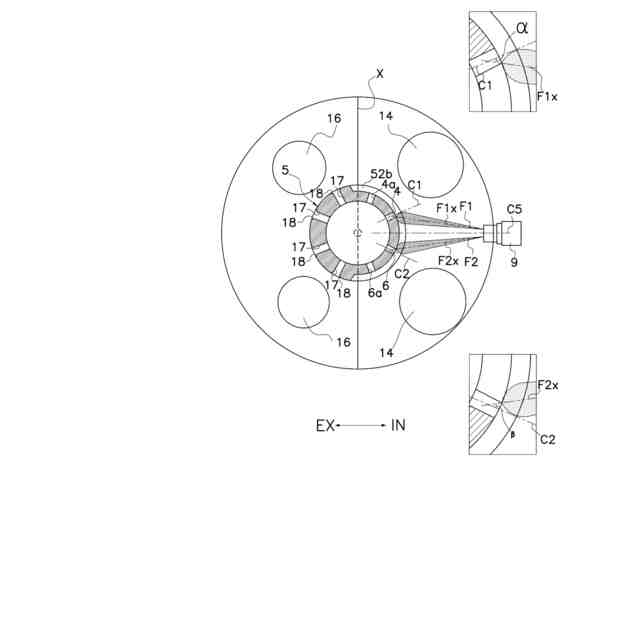
本開示の実施形態による副燃焼室周辺の底面図。
本開示の実施形態による燃料噴霧の状態を示す底面図。
本開示の実施形態による筒内流動が発生している際の燃料噴霧の状態を示す底面図。
本開示の実施形態による燃料噴霧の状態を示す側面図。
他の実施形態による副燃焼室壁の側面図。
【発明を実施するための形態】
【0009】
以下、本開示の実施形態について、図面を参照しながら説明する。なお、ピストン8の摺動方向をP、吸気バルブ14が配置される側を吸気側IN、排気バルブ16が配置される側を排気側EX、と図面に記す。
【0010】
図1および図2に示すように、副室式内燃機関1は、主燃焼室2と、副燃焼室3と、第1連通路4と、第2連通路6と、第3連通路7と、ピストン8と、燃料噴射弁9と、点火装置10と、を備える。
(【0011】以降は省略されています)
この特許をJ-PlatPat(特許庁公式サイト)で参照する
関連特許
本田技研工業株式会社
車両
4日前
本田技研工業株式会社
車両
4日前
本田技研工業株式会社
内燃機関
4日前
株式会社クボタ
作業車両
5日前
本田技研工業株式会社
内燃機関
5日前
本田技研工業株式会社
始動制御装置
4日前
本田技研工業株式会社
始動制御装置
4日前
本田技研工業株式会社
可変ファンネル装置
4日前
本田技研工業株式会社
内燃機関の吸気構造
5日前
株式会社デンソートリム
エンジン制御装置
11日前
大阪瓦斯株式会社
エンジンシステム
4日前
マツダ株式会社
エンジン
5日前
本田技研工業株式会社
内燃機関の制御装置
5日前
本田技研工業株式会社
内燃機関の制御装置
5日前
マツダ株式会社
エンジンの制御装置
5日前
愛三工業株式会社
燃料供給装置
5日前
三菱自動車工業株式会社
内燃機関
5日前
三菱自動車工業株式会社
内燃機関
5日前
三菱自動車工業株式会社
内燃機関
5日前
株式会社SUBARU
燃料タンク処理装置
7日前
本田技研工業株式会社
エンジン
5日前
株式会社SUBARU
燃料タンク処理装置
7日前
マツダ株式会社
エンジンの燃焼室構造
5日前
マツダ株式会社
エンジンの燃焼室構造
5日前
本田技研工業株式会社
V型エンジン
5日前
マツダ株式会社
エンジンの排気バルブ制御装置
11日前
スズキ株式会社
エンジンの排気ポート構造
4日前
三菱自動車工業株式会社
内燃機関
7日前
三菱自動車工業株式会社
内燃機関システム
5日前
三菱自動車工業株式会社
内燃機関システム
5日前
三菱自動車工業株式会社
内燃機関システム
5日前
三菱自動車工業株式会社
内燃機関の制御装置
4日前
三菱自動車工業株式会社
内燃機関の吸気通路構造
4日前
三菱自動車工業株式会社
副室式内燃機関
5日前
三菱自動車工業株式会社
副室式内燃機関
5日前
本田技研工業株式会社
遠心圧縮機及びその流路設計方法
11日前
続きを見る
他の特許を見る