TOP
|
特許
|
意匠
|
商標
特許ウォッチ
Twitter
他の特許を見る
10個以上の画像は省略されています。
公開番号
2025145535
公報種別
公開特許公報(A)
公開日
2025-10-03
出願番号
2024045752
出願日
2024-03-21
発明の名称
エンジン制御装置
出願人
株式会社デンソートリム
代理人
個人
,
個人
主分類
F02P
5/15 20060101AFI20250926BHJP(燃焼機関;熱ガスまたは燃焼生成物を利用する機関設備)
要約
【課題】望ましいタイミングで点火することを可能にする。
【解決手段】エンジン制御装置は、センサがエンジンの回転周期に応じて周期的に生成する複数の信号にしたがって処理を行い、第1のタイミング(T1)に基づくタイミングにて、前記エンジンにおける点火タイミングで点火するためのタイマをセットする設定部と、前記T1に基づくタイミングにて、前記T1以前の第1の期間における前記エンジンの回転速度に基づき前記タイマの値を演算する演算部と、を備える。前記T1は、前記複数の信号のうちの1つの生成タイミングであり、前記点火タイミングよりも前であり、前記複数の信号のうちのいずれの信号の前記生成タイミングよりも前記点火タイミングに近い。前記第1の期間は、前記T1よりも1つ前の前記生成タイミングと前記T1との間の期間を少なくとも含む。
【選択図】図4A
特許請求の範囲
【請求項1】
センサがエンジンの回転周期に応じて周期的に生成する複数の信号にしたがって処理を行うエンジン制御装置であって、
第1のタイミングに基づくタイミングにて、前記エンジンにおける点火タイミングで点火するためのタイマをセットする設定部と、
前記第1のタイミングに基づくタイミングにて、前記第1のタイミング以前の第1の期間における前記エンジンの回転速度に基づき前記タイマの値を演算する演算部と、を備え、
前記第1のタイミングは、前記複数の信号のうちの1つの生成タイミングであり、前記点火タイミングよりも前であり、前記複数の信号のうちのいずれの信号の前記生成タイミングよりも前記点火タイミングに近く、
前記第1の期間は、前記第1のタイミングよりも1つ前の前記生成タイミングと前記第1のタイミングとの間の期間を少なくとも含む
エンジン制御装置。
続きを表示(約 920 文字)
【請求項2】
前記演算部は、
前記エンジンの吸気行程におけるスロットル開度又は前記スロットル開度の変化量、及び前記点火タイミングに対応する点火角度の決定時における前記エンジンの回転速度を取得し、
前記スロットル開度又は前記スロットル開度の変化量が閾値以上、かつ、前記点火タイミングに対応する点火角度の決定時におけるエンジンの回転速度が閾値以下である場合に、前記第1の期間における前記エンジンの回転速度に基づき前記タイマの値を演算する
請求項1に記載のエンジン制御装置。
【請求項3】
前記演算部は、前記スロットル開度又は前記スロットル開度の変化量が閾値未満、又は、前記点火タイミングに対応する点火角度の決定時におけるエンジンの回転速度が閾値超過である場合に、第2のタイミングに基づくタイミングにて、前記第2のタイミング以前の第2の期間における前記エンジンの回転速度に基づき前記タイマの値を演算し、
前記第2のタイミングは、前記第1のタイミングよりも1つ前の前記生成タイミングであり、
前記第2の期間は、前記第2のタイミングよりも1つ前の前記生成タイミングと前記第2のタイミングとの間の期間を少なくとも含む
請求項2に記載のエンジン制御装置。
【請求項4】
前記第1の期間における前記エンジンの回転速度に基づく前記タイマの値の演算は、割込処理として行われる
請求項1~3のいずれか1項に記載のエンジン制御装置。
【請求項5】
前記第1のタイミングは、エンジンの上死点に対応する前記生成タイミングの1つ前の前記生成タイミングであり、
前記点火タイミングは、前記上死点に対応する前記生成タイミングと、前記第1のタイミングと、の間である
請求項1~3のいずれか1項に記載のエンジン制御装置。
【請求項6】
前記第1の期間における前記エンジンの回転速度の算出、前記タイマの値の演算、及び前記タイマのセットは、連続する一連の処理として行われる
請求項1~3のいずれか1項に記載のエンジン制御装置。
発明の詳細な説明
【技術分野】
【0001】
本開示は、エンジン制御装置に関する。
続きを表示(約 2,400 文字)
【背景技術】
【0002】
エンジンの動作に関する従来技術として、いわゆるケッチン(即ちキックバック)を防止するための技術がある。ケッチンは、ピストンが上死点に到達する前に点火が行われるせいで、ピストンが押し戻され、エンジン(即ちクランクシャフト)が逆回転する現象である。ケッチンは、エンジン始動時だけでなく、エンジン始動後も発生し得る。
【0003】
例えば、特許文献1には、エンジン始動後に発生するケッチンを防止するための点火時期制御システムが開示されている。具体的には、AC(Alternating Current)ジェネレータの突起に応じて生成される複数のパルス信号のうち、点火時期に対応する突起(例えば5番突起)の1つ前の突起(例えば4番突起)と2つ前の突起(例えば3番突起)によるパルス信号に基づきエンジン回転速度の落ち込み量が計算される。計算されたエンジン回転速度の落ち込み量が所定の値以内でない場合(即ち、ケッチンが発生すると予測される場合)、点火時期が計算された時期(いわゆるソフト点火)から固定された時期(いわゆるハード点火)に切り替えられる。予め計算された時期は、上死点よりも前のタイミングである。固定された時期は、上死点のタイミングである。このように、ケッチンが発生すると予測される場合にハード点火が用いられることで、点火時期を遅らせることができる。その結果、ケッチン(即ちエンジンの逆回転)が防止される。
【先行技術文献】
【特許文献】
【0004】
特開2006-274998号公報
【発明の概要】
【発明が解決しようとする課題】
【0005】
しかし、特許文献1で開示される技術では、望ましいタイミングで点火することができないおそれがある。具体的には、上記技術では、点火時期に対応する突起の1つ前の突起と2つ前の突起との間の区間におけるエンジン回転速度の落ち込み量が計算される。そのため、点火時期に対応する突起と1つ前の突起との間の区間で落ち込み量が急増する場合、ケッチンの発生予測が外れ得る。その結果、点火方法がハード点火に切り替えられないせいでケッチンが発生し得る。また、点火方法がハード点火に切り替えられたとしても、望ましいエンジン回転速度が得られない場合もある。これはハード点火が固定されたタイミングでの点火であるためである。例えば、望ましい点火タイミングがハード点火よりも早い場合、ハード点火のタイミングでのエンジン回転速度が望ましい点火タイミングでのエンジン回転速度よりも遅くなり得る。その結果、点火(即ち燃焼)後のエンジン回転速度の上昇が遅れ得る。これは、ユーザ(例えばライダー)の意図と相違し得る。
【0006】
本開示の目的は、望ましいタイミングで点火することが可能なエンジン制御装置を提供することにある。
【課題を解決するための手段】
【0007】
本開示の一態様に係るエンジン制御装置は、センサがエンジンの回転周期に応じて周期的に生成する複数の信号にしたがって処理を行い、第1のタイミングに基づくタイミングにて、前記エンジンにおける点火タイミングで点火するためのタイマをセットする設定部と、前記第1のタイミングに基づくタイミングにて、前記第1のタイミング以前の第1の期間における前記エンジンの回転速度に基づき前記タイマの値を演算する演算部と、を備える。前記第1のタイミングは、前記複数の信号のうちの1つの生成タイミングであり、前記点火タイミングよりも前であり、前記複数の信号のうちのいずれの信号の前記生成タイミングよりも前記点火タイミングに近く、前記第1の期間は、前記第1のタイミングよりも1つ前の前記生成タイミングと前記第1のタイミングとの間の期間を少なくとも含む。
【発明の効果】
【0008】
本開示によれば、望ましいタイミングで点火することが可能になる。なお、本開示により、当該効果の代わりに、又は当該効果とともに、他の効果が奏されてもよい。
【図面の簡単な説明】
【0009】
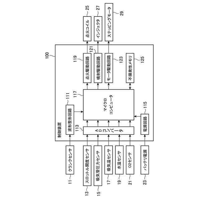
本開示の実施形態に係るエンジン制御装置の概略的な機能構成の例を示すブロック図である。
本開示の実施形態に係るエンジン制御装置の概略的なハードウェア構成の例を示すブロック図である。
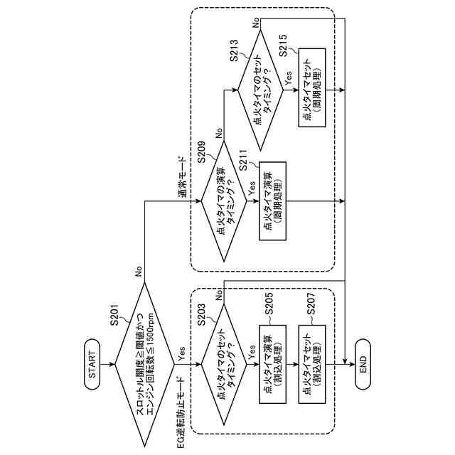
本開示の実施形態に係るエンジン制御装置の処理の概略的な流れの例を説明するためのフローチャートである。
本開示の実施形態に係るエンジン制御装置のEG逆転防止モードでの処理の概略的な流れの例を説明するためのタイミングチャートである。
本開示の実施形態に係るエンジン制御装置の通常モードでの処理の概略的な流れの例を説明するためのタイミングチャートである。
EG逆転が発生しない場合のエンジンの動作例を説明するためのタイミングチャートである。
EG逆転が発生しない場合のエンジンの動作例を説明するための模式図である。
EG逆転防止モードなしでEG逆転が発生する場合のエンジンの動作例を説明するためのタイミングチャートである。
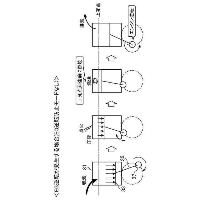
EG逆転防止モードなしでEG逆転が発生する場合のエンジンの動作例を説明するための模式図である。
EG逆転防止モードの場合のエンジンの動作例を説明するためのタイミングチャートである。
EG逆転防止モードの場合のエンジンの動作例を説明するための模式図である。
【発明を実施するための形態】
【0010】
以下、添付の図面を参照して本開示の実施形態を詳細に説明する。なお、本明細書及び図面において、同様に説明されることが可能な要素については、同一の符号を付することにより重複説明が省略され得る。
(【0011】以降は省略されています)
この特許をJ-PlatPat(特許庁公式サイト)で参照する
関連特許
個人
擬似オイル発電装置
1日前
スズキ株式会社
車両の制御装置
22日前
株式会社クボタ
作業車
22日前
株式会社クボタ
作業車両
22日前
トヨタ自動車株式会社
車両制御装置
22日前
トヨタ自動車株式会社
エンジン制御装置
17日前
川崎重工業株式会社
ガスタービンエンジン
18日前
トヨタ自動車株式会社
内燃機関の制御装置
8日前
トヨタ自動車株式会社
フレックス燃料車両
8日前
トヨタ自動車株式会社
水素エンジンの制御装置
16日前
三菱重工業株式会社
燃焼筒の取付方法
22日前
富士電機株式会社
駆動回路
16日前
スズキ株式会社
多気筒エンジンの制御装置
10日前
三菱重工業株式会社
ガスタービン起動方法
18日前
株式会社デンソー
部品の当接構造
24日前
株式会社豊田自動織機
ターボチャージャ
16日前
株式会社豊田自動織機
車両制御装置
22日前
トヨタ自動車株式会社
車両駆動装置
3日前
株式会社豊田自動織機
ターボチャージャ
3日前
トヨタ自動車株式会社
内燃機関の制御装置
24日前
スズキ株式会社
エンジンの排気浄化装置
3日前
株式会社ミクニ
エンジンのスロットル装置
8日前
トヨタ自動車株式会社
内燃機関の制御装置
16日前
三菱重工エンジン&ターボチャージャ株式会社
エンジン
8日前
愛三工業株式会社
水素エンジンシステム
8日前
愛三工業株式会社
吸着体及びこれを用いた吸着装置
10日前
株式会社ROKI
空気清浄モジュール
19日前
株式会社三井E&S
内燃機関及び内燃機関における排ガス浄化方法
16日前
日産自動車株式会社
車両の発進制御方法、車両の発進制御装置
8日前
株式会社豊田自動織機
内燃機関の吸気温度制御システム
16日前
株式会社ジャパンエンジンコーポレーション
燃料噴射装置
22日前
日産自動車株式会社
内燃機関の制御方法及び内燃機関の制御装置
8日前
株式会社SOKEN
燃料蓄圧装置および燃料供給システム
11日前
株式会社コルトスピード
シリンダブロック補強プレート及びシリンダブロックの補強方法
8日前
日産自動車株式会社
車両用内燃機関のトルクダウン制御方法および装置
19日前
Eight Factory株式会社
動力システム及びエンジン洗浄方法
17日前
続きを見る
他の特許を見る