TOP
|
特許
|
意匠
|
商標
特許ウォッチ
Twitter
他の特許を見る
10個以上の画像は省略されています。
公開番号
2025150364
公報種別
公開特許公報(A)
公開日
2025-10-09
出願番号
2024051203
出願日
2024-03-27
発明の名称
内燃機関システム
出願人
三菱自動車工業株式会社
代理人
弁理士法人相原国際知財事務所
主分類
F02B
19/12 20060101AFI20251002BHJP(燃焼機関;熱ガスまたは燃焼生成物を利用する機関設備)
要約
【課題】主燃焼室に配置された第1点火装置と副燃焼室に配置された第2点火装置とを用いて、変速装置の変速状態に対応させたより適切な燃焼を実現可能な内燃機関システムを提供する。
【解決手段】内燃機関システムは、車両に搭載され、空気と燃料との混合気が充填される主燃焼室40と、複数の連通孔を介して主燃焼室40と連通する副燃焼室42と、主燃焼室40に配置され、主燃焼室40内の混合気に点火する第1点火プラグ61と、副燃焼室42に配置され、副燃焼室42内の混合気に点火する第2点火プラグ62と、を含み、変速装置26が接続された本体10と、本体10を制御する制御装置と、を備える。制御装置は、本体10の運転状態および変速装置の変速状態に応じて、第1点火プラグ61および第2点火プラグ62による混合気への点火方式を切り替える。
【選択図】図2
特許請求の範囲
【請求項1】
車両に搭載され、
空気と燃料との混合気が充填される主燃焼室と、
複数の連通孔を介して前記主燃焼室と連通する副燃焼室と、
前記主燃焼室に配置され、前記主燃焼室内の前記混合気に点火する第1点火装置と、
前記副燃焼室に配置され、前記副燃焼室内の前記混合気に点火する第2点火装置と、
を含み、変速装置が接続される内燃機関本体と、
前記内燃機関本体を制御する制御装置と、
を備え、
前記制御装置は、前記内燃機関本体の運転状態および前記変速装置の変速状態に応じて、前記第1点火装置および前記第2点火装置による前記混合気への点火方式を切り替える内燃機関システム。
続きを表示(約 580 文字)
【請求項2】
前記制御装置は、前記変速状態が所定の低速状態にある場合には、前記第2点火装置により前記混合気に点火させ、前記変速状態が所定の高速状態にある場合には、前記第1点火装置により前記混合気に点火させる請求項1に記載の内燃機関システム。
【請求項3】
前記制御装置は、前記内燃機関本体のアイドリング運転時には、前記変速状態に関わらず前記第1点火装置と前記第2点火装置との双方により前記混合気に点火させる請求項1または2に記載の内燃機関システム。
【請求項4】
前記制御装置は、前記車両の加速時に、前記内燃機関本体の前記運転状態および前記変速装置の前記変速状態に応じて前記点火方式を変更する請求項2に記載の内燃機関システム。
【請求項5】
前記制御装置は、前記変速状態が前記所定の低速状態であり、前記内燃機関本体の回転数が所定の高回転領域にある場合、前記第1点火装置と前記第2点火装置との双方により前記混合気に点火させる請求項2に記載の内燃機関システム。
【請求項6】
前記制御装置は、前記変速状態が前記所定の高速状態であり、前記内燃機関本体の回転数が所定の低回転領域にある場合、前記第1点火装置と前記第2点火装置との双方により前記混合気に点火させる請求項2に記載の内燃機関システム。
発明の詳細な説明
【技術分野】
【0001】
本発明は主燃焼室に配置された点火装置と副燃焼室に配置された点火装置とを備えた内燃機関システムに関する。
続きを表示(約 1,900 文字)
【背景技術】
【0002】
従来、主燃焼室に配置された点火装置と副燃焼室に配置された点火装置とを備えた内燃機関システムに関する技術が知られている。例えば、特許文献1には、制御切替えラインより負荷が低い領域では、主燃焼室内にタンブル渦流が形成されやすいように吸気しつつ主燃焼室内の点火プラグ(点火装置)を点火し、制御切替えラインより負荷が高い領域では、副燃焼室に濃い混合気が充填されるように高流量の混合気を主燃焼室へと吸気しつつ副燃焼室内の点火プラグ(点火装置)を点火する内燃機関システムが記載されている。
【先行技術文献】
【特許文献】
【0003】
特開2021-119297号公報
【発明の概要】
【発明が解決しようとする課題】
【0004】
車両に搭載される内燃機関本体には、その出力を所定の変速比で変速する変速装置が接続される。上記特許文献1に記載の点火制御では、内燃機関本体の負荷に応じて点火装置のいずれ一方を用いることが記載されているものの、内燃機関本体に接続される変速装置との関係性については記載されていない。しかしながら、変速装置における変速状態によっては、内燃機関本体の燃焼状態で狙うべき点が変わることがあり、より適切な燃焼を図るためには、変速状態に応じた点火制御を行うことが求められる。
【0005】
本発明はこのような課題に鑑みてなされたものであり、その目的とするところは、主燃焼室に配置された第1点火装置と副燃焼室に配置された第2点火装置とを用いて、変速装置の変速状態に対応させたより適切な燃焼を実現可能な内燃機関システムを提供することにある。
【課題を解決するための手段】
【0006】
上記目的を達成するため、本発明の内燃機関システムは、車両に搭載され、空気と燃料との混合気が充填される主燃焼室と、複数の連通孔を介して前記主燃焼室と連通する副燃焼室と、前記主燃焼室に配置され、前記主燃焼室内の前記混合気に点火する第1点火装置と、前記副燃焼室に配置され、前記副燃焼室内の前記混合気に点火する第2点火装置と、を含み、変速装置が接続された内燃機関本体と、前記内燃機関本体を制御する制御装置と、を備え、前記制御装置は、前記内燃機関本体の運転状態および前記変速装置の変速状態に応じて、前記第1点火装置および前記第2点火装置による前記混合気への点火方式を切り替える。
【発明の効果】
【0007】
本発明の内燃機関システムによれば、主燃焼室に配置された第1点火装置と副燃焼室に配置された第2点火装置とを用いて、変速装置の変速状態に対応させたより適切な燃焼を実現可能となる。
【図面の簡単な説明】
【0008】
実施形態にかかる内燃機関システムの概略構成図である。
気筒を模式的に示す説明図である。
SI点火を用いた場合の本体の運転領域と燃費との関係の一例を等高線で示す説明図である。
JET点火を用いた場合の本体の運転領域と燃費との関係の一例を等高線で示す説明図である。
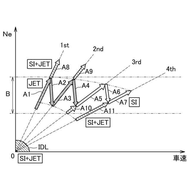
変速装置が有段変速機である場合の点火方式の一例を示す説明図である。
変速装置が無段変速機である場合の点火方式の一例を示す説明図である。
変速装置が無段変速機である場合の点火方式の他の例を示す説明図である
キックダウンが発生したときの点火制御の一例を示す説明図である。
キックダウンJET判定の一例を示す説明図である。
第1点火プラグおよび第2点火プラグの配置位置の他例を模式的に示す説明図である。
【発明を実施するための形態】
【0009】
以下、図面に基づき本発明の一実施形態について説明する。
【0010】
(内燃機関)
図1は、実施形態にかかる内燃機関システムの概略構成図である。内燃機関システム1は、車両に搭載される。内燃機関システム1は、例えばガソリンエンジンである内燃機関本体10(以下、「本体10」と称する)と、制御装置50とを備えている。本体10の吸気通路5には、吸気の流れに沿ってエアクリーナー6、インタークーラー7、スロットルバルブ8が各気筒30の吸気ポート2の上流に設けられている。一方、本体10の排気通路11には、各気筒30の排気ポート3から排気の流れに沿って上流側排気浄化触媒12および下流側排気浄化触媒13が設けられている。
(【0011】以降は省略されています)
この特許をJ-PlatPat(特許庁公式サイト)で参照する
関連特許
本田技研工業株式会社
車両
2日前
本田技研工業株式会社
車両
2日前
本田技研工業株式会社
内燃機関
2日前
株式会社クボタ
作業車両
3日前
本田技研工業株式会社
内燃機関
3日前
朝日電装株式会社
スロットルグリップ装置
13日前
本田技研工業株式会社
始動制御装置
2日前
本田技研工業株式会社
始動制御装置
2日前
個人
流体式推力方向制御装置
13日前
トヨタ自動車株式会社
閾値の設定装置
13日前
トヨタ自動車株式会社
エンジン制御装置
9日前
本田技研工業株式会社
内燃機関の吸気構造
3日前
日産自動車株式会社
内燃機関
9日前
日産自動車株式会社
内燃機関
9日前
株式会社デンソートリム
エンジン制御装置
9日前
本田技研工業株式会社
可変ファンネル装置
2日前
大阪瓦斯株式会社
エンジンシステム
2日前
本田技研工業株式会社
EGRバルブ制御装置
13日前
マツダ株式会社
エンジン
3日前
トヨタ自動車株式会社
インジェクタの制御装置
11日前
トヨタ自動車株式会社
内燃機関の燃料供給装置
13日前
トヨタ自動車株式会社
内燃機関の燃料供給装置
9日前
トヨタ自動車株式会社
エンジン制御装置
13日前
大阪瓦斯株式会社
発電設備、及び発電方法
11日前
ヤンマーホールディングス株式会社
エンジン装置
11日前
ヤンマーホールディングス株式会社
エンジン装置
11日前
ヤンマーホールディングス株式会社
エンジン装置
11日前
ヤンマーホールディングス株式会社
エンジン装置
11日前
ヤンマーホールディングス株式会社
エンジン装置
11日前
ヤンマーホールディングス株式会社
エンジン装置
11日前
ヤンマーホールディングス株式会社
エンジン装置
11日前
本田技研工業株式会社
内燃機関の制御装置
3日前
本田技研工業株式会社
内燃機関の制御装置
3日前
トヨタ自動車株式会社
内燃機関の燃料噴射制御装置
11日前
マツダ株式会社
エンジンの制御装置
3日前
愛三工業株式会社
燃料供給装置
3日前
続きを見る
他の特許を見る