TOP
|
特許
|
意匠
|
商標
特許ウォッチ
Twitter
他の特許を見る
公開番号
2025144705
公報種別
公開特許公報(A)
公開日
2025-10-03
出願番号
2024044516
出願日
2024-03-21
発明の名称
内燃機関
出願人
日産自動車株式会社
代理人
個人
,
個人
,
個人
,
個人
主分類
F02B
77/13 20060101AFI20250926BHJP(燃焼機関;熱ガスまたは燃焼生成物を利用する機関設備)
要約
【課題】内燃機関を構成する部材同士の合わせ面のシール状態を確認するための視認性を確保する。
【解決手段】ロアオイルパン3の下部を覆うように配置されたカバー部材4は、アッパオイルパン2とロアオイルパン3との接合面を覆う接合面被覆部13を有している。接合面被覆部13をアッパオイルパン2に固定する一対の第1ボルト15、15の間の距離は、一対の第1ボルト15、15の間でカバー部材を捲った際に、一対の第1ボルト15、15の間から上記接合面を視認可能となるような所定長さとなるように設定されている。
【選択図】図5
特許請求の範囲
【請求項1】
内燃機関本体の下部に取り付けられた第1筐体と、上記第1筐体の下部に取り付けられた第2筐体と、上記第2筐体の下部を覆うように配置されたカバー部材と、上記カバー部材を上記第1筐体に固定する複数の固定部材と、を有し、
上記カバー部材は、上記第1筐体と上記第2筐体の接合面を覆う接合面被覆部を有し、
上記複数の固定部材は、上記カバー部材の周方向で隣り合い、上記接合面被覆部を上記第1筐体に固定する一対の第1固定部材を含むものであって、
一対の上記第1固定部材の間の距離は、一対の上記第1固定部材の間で上記カバー部材を捲った際に、一対の上記第1固定部材の間から上記接合面を視認可能となるような所定長さとなるように設定されていることを特徴とする内燃機関。
続きを表示(約 610 文字)
【請求項2】
上記カバー部材は、不織布製であることを特徴とする請求項1に記載の内燃機関。
【請求項3】
上記カバー部材は、プレス成型されたものであることを特徴とする請求項2に記載の内燃機関。
【請求項4】
上記カバー部材は、平面視で、一対の上記第1固定部材を結ぶ基準線よりも当該カバー部材の外周側に位置するオーバーハング部を有していることを特徴とする請求項1に記載の内燃機関。
【請求項5】
上記オーバーハング部は、性状の異なる第1性状部と第2性状部を有し、
上記第2性状部に比べて硬い上記第1性状部が上記第2性状部の外側に位置するよう形成されていることを特徴とする請求項4に記載の内燃機関。
【請求項6】
上記オーバーハング部は、上記第2性状部の内側に上記第2性状部に比べて硬い第3性状部を有することを特徴とする請求項5に記載の内燃機関。
【請求項7】
上記第2性状部は、上記カバー部材の周方向で、一対の上記第1固定部材間に亘って連続するように形成されていることを特徴とする請求項6に記載の内燃機関。
【請求項8】
上記カバー部材は、プレス成型されたものであって、上記第1性状部及び上記第3性状部は、上記第2性状部に比べて肉厚が薄くなるように形成されていることを特徴とする請求項7に記載の内燃機関。
発明の詳細な説明
【技術分野】
【0001】
本発明は、内燃機関に関する。
続きを表示(約 1,300 文字)
【背景技術】
【0002】
例えば、特許文献1には、シリンダブロック、シリンダブロックの下部に取り付けられるアッパオイルパン、及びアッパオイルパンの下部に取り付けられるロアオイルパン等の複数の部材から構成される内燃機関(エンジン)に、複数の遮音カバーが取り付けられた構成が開示されている。
【0003】
特許文献1においては、遮音カバーが内燃機関(エンジン)の後方に位置する車室に到達する騒音を抑制するために取り付けられている。
【0004】
ここで、内燃機関は、アッパオイルパンとロアオイルパンとの合わせ面等の自身を構成する部材同士の合わせ面が液密にシールされている。
【先行技術文献】
【特許文献】
【0005】
特開2009-236091号公報
【発明の概要】
【発明が解決しようとする課題】
【0006】
しかしながら、特許文献1においては、内燃機関を構成する部材同士の合わせ面のシール状態を点検するための視認性に関して何ら言及されておらず、遮音カバーによって合わせ面が覆われてシール状態が目視で確認できない虞がある。
【0007】
すなわち、内燃機関に遮音カバーを取り付ける場合には、内燃機関を構成する部材同士の合わせ面のシール状態を確認するための視認性を確保する点で更なる改善の余地がある。
【課題を解決するための手段】
【0008】
本発明の内燃機関は、内燃機関本体の下部に取り付けられた第1筐体と、上記第1筐体の下部に取り付けられた第2筐体と、上記第2筐体の下部を覆うように配置されたカバー部材と、上記カバー部材を上記第1筐体に固定する複数の固定部材と、を有している。上記カバー部材は、上記接合面を覆う接合面被覆部を有し、上記複数の固定部材は、上記カバー部材の周方向で隣り合い、上記接合面被覆部を上記第1筐体に固定する一対の第1固定部材を含むものである。一対の上記第1固定部材の間の距離は、一対の上記第1固定部材の間で上記カバー部材を捲った際に、一対の上記第1固定部材の間から上記接合面を視認可能となるような所定長さとなるように設定されている。
【発明の効果】
【0009】
本発明によれば、第1筐体と第2筐体との接合面におけるシール状態の目視確認を容易に行うことができる。
【図面の簡単な説明】
【0010】
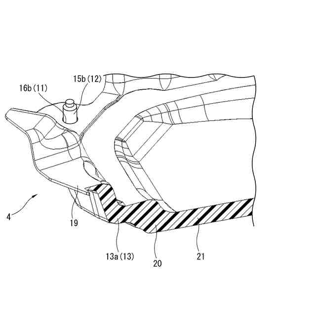
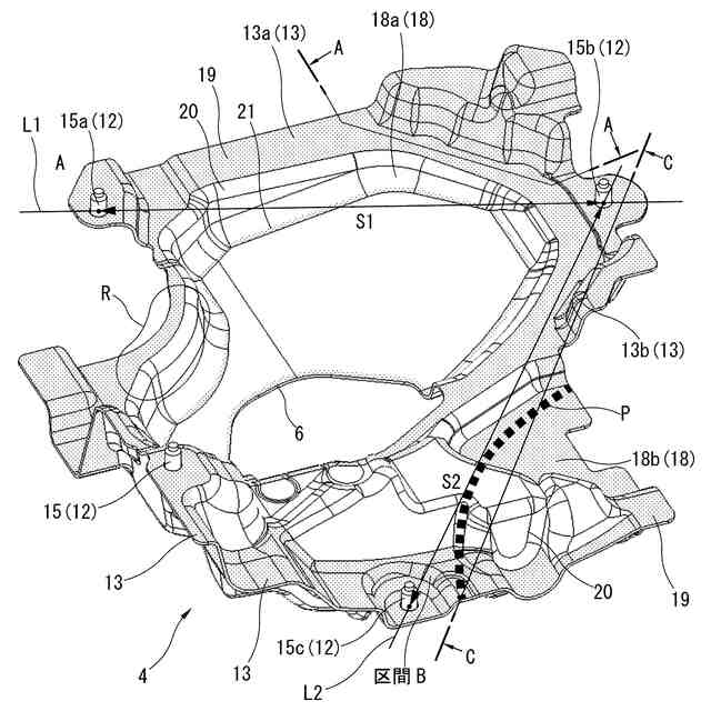
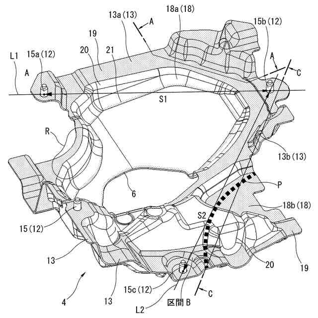
本発明が適用される内燃機関のカバー部材が取り付けられていない状態の下部構造を示す斜視図。
本発明に係る内燃機関の下部構造を示す斜視図。
内燃機関のカバー部材の下面図。
内燃機関のカバー部材を下方から見た斜視図。
内燃機関のカバー部材を上方から見た斜視図。
図5のA-A線に沿った断面図。
図6のB-B線に沿った断面図。
図5のC-C線に沿った断面図。
【発明を実施するための形態】
(【0011】以降は省略されています)
この特許をJ-PlatPat(特許庁公式サイト)で参照する
関連特許
日産自動車株式会社
二次電池
6日前
日産自動車株式会社
保持機構
16日前
日産自動車株式会社
保持機構
10日前
日産自動車株式会社
二次電池
9日前
日産自動車株式会社
積層型電池
16日前
日産自動車株式会社
面圧付与機構
12日前
日産自動車株式会社
面圧付与機構
16日前
日産自動車株式会社
電池モジュール
3日前
日産自動車株式会社
リチウム二次電池
9日前
日産自動車株式会社
エンジンのアンダカバー
3日前
日産自動車株式会社
ギヤ装置のブリーザ構造
12日前
株式会社ニフコ
締結構造
3日前
日産自動車株式会社
相乗り可否判定方法及び装置
6日前
日産自動車株式会社
車両用荷室における排熱構造
6日前
日産自動車株式会社
配車管理装置及び配車管理方法
26日前
日産自動車株式会社
画像表示方法及び画像表示装置
23日前
日産自動車株式会社
画像処理方法及び画像処理装置
23日前
日産自動車株式会社
車両制御装置及び車両制御方法
17日前
日産自動車株式会社
配車管理装置及び配車管理方法
17日前
日産自動車株式会社
運転支援方法及び運転支援装置
4日前
日産自動車株式会社
運転支援方法及び運転支援装置
3日前
日産自動車株式会社
配車管理装置及び配車管理方法
26日前
日産自動車株式会社
経路案内方法及び経路案内装置
11日前
日産自動車株式会社
車載機能制御方法及び車載端末
11日前
日産自動車株式会社
施錠制御方法及び施錠制御装置
5日前
日産自動車株式会社
車両制御方法および車両制御装置
4日前
日産自動車株式会社
車両制御方法および車両制御装置
4日前
住友理工株式会社
筒型防振装置
25日前
日産自動車株式会社
車両制御方法および車両制御装置
4日前
日産自動車株式会社
固体酸化物形燃料電池の製造方法
18日前
日産自動車株式会社
車両管理方法及び車両管理システム
11日前
日産自動車株式会社
内燃機関の油温制御方法および装置
12日前
日産自動車株式会社
車両監視方法、及び車両監視システム
26日前
日産自動車株式会社
電池品質診断方法及び電池品質診断装置
17日前
日産自動車株式会社
電池劣化診断方法及び電池劣化診断装置
17日前
日産自動車株式会社
電池の仕分け方法及び電池の仕分け装置
17日前
続きを見る
他の特許を見る