TOP
|
特許
|
意匠
|
商標
特許ウォッチ
Twitter
他の特許を見る
10個以上の画像は省略されています。
公開番号
2025157959
公報種別
公開特許公報(A)
公開日
2025-10-16
出願番号
2024060342
出願日
2024-04-03
発明の名称
電池の仕分け方法及び電池の仕分け装置
出願人
日産自動車株式会社
,
ルノー エス.ア.エス.
,
RENAULT S.A.S.
代理人
弁理士法人後藤特許事務所
主分類
G01R
31/392 20190101AFI20251008BHJP(測定;試験)
要約
【課題】使用済みの二次電池の再利用時に、化学処理が必要な二次電池と、不要な二次電池とに、迅速に仕分けることができる、電池の仕分け方法及び電池の仕分け装置を提供する。
【解決手段】複数の発電要素を積層した電池スタックを備える二次電池を仕分ける、電池の仕分け方法が提供される。この電池の仕分け方法は、使用済みの二次電池について、発電要素の充放電切り替えに伴う電圧変化時における電流値の変化量に基づいて電気二重層容量を算出し、電気二重層容量に基づいて、正常な状態に対する有効界面積の大小を推定する。そして、当該推定結果に基づいて、再利用時に化学処理が必要な二次電池と、化学処理が不要な二次電池とに仕分ける。
【選択図】図1
特許請求の範囲
【請求項1】
複数の発電要素を積層した電池スタックを備える二次電池を仕分ける、電池の仕分け方法であって、
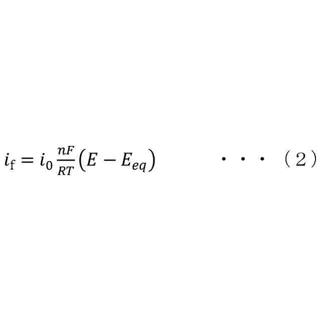
使用済みの前記二次電池について、前記発電要素の充放電切り替えに伴う電圧変化時における電流値の変化量に基づいて電気二重層容量を算出し、
前記電気二重層容量に基づいて、正常な状態に対する有効界面積の大小を推定し、当該推定結果に基づいて、再利用時に化学処理が必要な二次電池と、化学処理が不要な二次電池とに仕分ける、
電池の仕分け方法。
続きを表示(約 1,200 文字)
【請求項2】
請求項1に記載の電池の仕分け方法であって、
前記有効界面積が正常な状態に比べ減少している場合、前記発電要素の積層方向から前記二次電池を加圧し、
前記加圧後の二次電池における、正常な状態に対する有効界面積の大小を推定し、当該推定結果に基づいて、再利用時に化学処理が必要な二次電池と、化学処理が不要な二次電池とに仕分ける、
電池の仕分け方法。
【請求項3】
請求項2に記載の電池の仕分け方法であって、
前記加圧時の加圧力は、前記有効界面積の減少の度合いが大きいほど大きい、
電池の仕分け方法。
【請求項4】
請求項1または2に記載の電池の仕分け方法であって、
前記電気二重層容量は、電位掃引速度が予め設定した第1閾値以下の場合にのみ算出する、
電池の仕分け方法。
【請求項5】
請求項4に記載の電池の仕分け方法であって、
前記電気二重層容量は、前記電位掃引速度の時間当たりの変動量が予め設定した第2閾値以下の場合にのみ算出する、
電池の仕分け方法。
【請求項6】
請求項1または2に記載の電池の仕分け方法であって、
前記電気二重層容量は、バッテリ温度の時間当たりの変化量が予め設定した第3閾値以下の場合にのみ算出する、
電池の仕分け方法。
【請求項7】
請求項6に記載の電池の仕分け方法であって、
前記電気二重層容量は、前記電池スタックのセル面内の温度分布が予め設定した第4閾値以下の場合にのみ算出する、
電池の仕分け方法。
【請求項8】
請求項1または2に記載の電池の仕分け方法であって、
前記電気二重層容量の算出開始時における実充電率に応じて、前記有効界面積が正常な状態における有効界面積に対し減少しているか否かの判定に用いる第5閾値を変化させる、
電池の仕分け方法。
【請求項9】
請求項8に記載の電池の仕分け方法であって、
前記電気二重層容量は、実充電率が異なる2点において算出する、
電池の仕分け方法。
【請求項10】
複数の発電要素を積層した電池スタックを備える二次電池を仕分ける、電池の仕分け装置であって、
使用済みの前記二次電池について、前記発電要素の充放電切り替えに伴う電圧変化時における電流値の変化量に基づいて電気二重層容量を算出する電気二重層容量算出部と、
前記電気二重層容量に基づいて、正常な状態に対する有効界面積の大小を推定する増減推定部と、
前記増減推定部による推定の結果に基づいて、再利用時に化学処理が必要な二次電池と、化学処理が不要な二次電池とに仕分ける仕分け判断部と、を備える、
電池の仕分け装置。
発明の詳細な説明
【技術分野】
【0001】
本発明は、電池の仕分け方法及び電池の仕分け装置に関する。
続きを表示(約 1,700 文字)
【背景技術】
【0002】
使用済みの二次電池の再利用に際し、例えば、リチウムと遷移金属との比(以下、Li/Me比と言う)が変化している場合や、コバルト、マンガン等の遷移金属が溶出している場合等のように、電極材料が化学劣化しているときは、化学処理が必要となる。一方、活物質と電解質の界面が剥離している場合のように、電極材料の化学劣化ではなく、電極構造が劣化している場合には、化学処理をせずに、再利用することが可能である。従って、使用済みの二次電池を再利用する場合、二次電池の劣化状態に応じて仕分ける必要がある。
【0003】
二次電池の劣化状態の診断方法として、特許文献1には、交流インピーダンス法によって測定される交流インピーダンスをパラメータとして二次電池の劣化状態を診断する方法が開示されている。
【先行技術文献】
【特許文献】
【0004】
国際公開第2020/255557号
【発明の概要】
【発明が解決しようとする課題】
【0005】
しかしながら、交流インピーダンスは正負極の抵抗の合計であり、また、交流インピーダンスには二次電池の電解質と電極との接合面の面積(以下、有効界面積ともいう)や電極材料の化学劣化等が複合的に影響する。このため、特許文献1に記載の診断方法では、二次電池の劣化が、電極材料の化学劣化に因るものか、電極構造の劣化に因るものかを判断できない。また、交流インピーダンスは測定に時間がかかるため、劣化状態を迅速に判断することができない。即ち、特許文献1に記載の診断方法を、再利用時における二次電池の仕分けに用いることは難しい。
【0006】
本発明は上記課題に鑑みたものであり、使用済みの二次電池の再利用時に、化学処理が必要な二次電池と、不要な二次電池とに、迅速に仕分けることができる、電池の仕分け方法及び電池の仕分け装置を提供することを目的とする。
【課題を解決するための手段】
【0007】
本発明の一態様によれば、複数の発電要素を積層した電池スタックを備える二次電池を仕分ける、電池の仕分け方法が提供される。この電池の仕分け方法は、使用済みの二次電池について、発電要素の充放電切り替えに伴う電圧変化時における電流値の変化量に基づいて電気二重層容量を算出し、電気二重層容量に基づいて、正常な状態に対する有効界面積の大小を推定する。そして、当該推定結果に基づいて、再利用時に化学処理が必要な二次電池と、化学処理が不要な二次電池とに仕分ける。
【発明の効果】
【0008】
本発明によれば、使用済みの二次電池について、電気二重層容量を算出し、電気二重層容量に基づいて、正常な状態に対する有効界面積の大小を推定する。これにより、二次電池の劣化が、電極材料の化学劣化に因るものか、電極構造の劣化に因るものかを迅速に判断することができる。従って、再利用時に化学処理が必要な二次電池と、不要な二次電池とを迅速に仕分けることができる。
【図面の簡単な説明】
【0009】
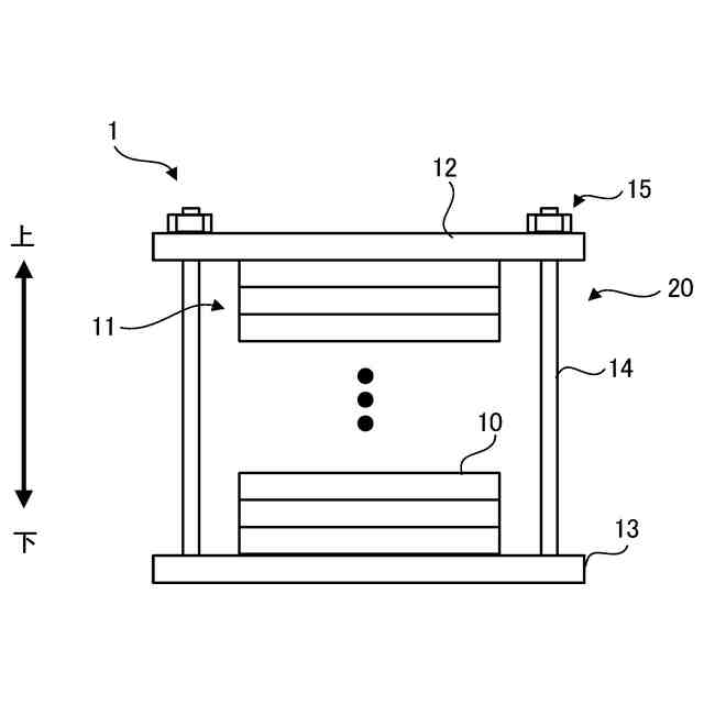
図1は、電池仕分けシステムの概略構成図である。
図2は、二次電池の概略構成図である。
図3は、電池の劣化のメカニズムを説明するための三次元電極の模式図である。
図4は、充放電を切り替えた場合の電圧及び電流のタイムチャートである。
図5は、セル加圧力の違いによる電気二重層容量C
dl
の違いを示す図である。
図6は、本実施形態による電池の仕分け方法を説明するフローチャートである。
図7は、充放電と体積の膨張収縮との関係について示す図である。
図8は、SOCと電気二重層容量C
dl
との関係を示す図である。
【発明を実施するための形態】
【0010】
以下、図面等を参照しながら、本発明の実施形態について説明する。
(【0011】以降は省略されています)
この特許をJ-PlatPat(特許庁公式サイト)で参照する
関連特許
日産自動車株式会社
保持機構
14日前
日産自動車株式会社
二次電池
7日前
日産自動車株式会社
二次電池
4日前
日産自動車株式会社
保持機構
8日前
日産自動車株式会社
積層型電池
14日前
日産自動車株式会社
面圧付与機構
14日前
日産自動車株式会社
面圧付与機構
10日前
日産自動車株式会社
電池モジュール
1日前
日産自動車株式会社
リチウム二次電池
7日前
日産自動車株式会社
エンジンのアンダカバー
1日前
日産自動車株式会社
ギヤ装置のブリーザ構造
10日前
株式会社ニフコ
締結構造
1日前
日産自動車株式会社
相乗り可否判定方法及び装置
4日前
日産自動車株式会社
車両用荷室における排熱構造
4日前
日産自動車株式会社
配車管理装置及び配車管理方法
15日前
日産自動車株式会社
車両制御装置及び車両制御方法
15日前
日産自動車株式会社
画像処理方法及び画像処理装置
21日前
日産自動車株式会社
経路案内方法及び経路案内装置
9日前
日産自動車株式会社
画像表示方法及び画像表示装置
21日前
日産自動車株式会社
配車管理装置及び配車管理方法
24日前
日産自動車株式会社
車載機能制御方法及び車載端末
9日前
日産自動車株式会社
施錠制御方法及び施錠制御装置
3日前
日産自動車株式会社
運転支援方法及び運転支援装置
1日前
日産自動車株式会社
運転支援方法及び運転支援装置
2日前
日産自動車株式会社
車両制御方法および車両制御装置
2日前
住友理工株式会社
筒型防振装置
23日前
日産自動車株式会社
固体酸化物形燃料電池の製造方法
16日前
日産自動車株式会社
車両制御方法および車両制御装置
2日前
日産自動車株式会社
車両制御方法および車両制御装置
2日前
日産自動車株式会社
車両管理方法及び車両管理システム
9日前
日産自動車株式会社
内燃機関の油温制御方法および装置
10日前
日産自動車株式会社
車両監視方法、及び車両監視システム
24日前
日産自動車株式会社
電池の仕分け方法及び電池の仕分け装置
15日前
日産自動車株式会社
電池品質診断方法及び電池品質診断装置
15日前
日産自動車株式会社
車体姿勢制御方法及び車体姿勢制御装置
2日前
日産自動車株式会社
充放電制御方法及び充放電制御システム
22日前
続きを見る
他の特許を見る